公布日:2023.09.19
申請日:2023.04.04
分類號:B01D29/01(2006.01)I;B01D29/64(2006.01)I;C02F1/00(2023.01)I
摘要
本發明屬于廢水處理技術領域,尤其是一種組合式廢水深度處理設備,針對現有的技術方案在對廢水進行加藥時,難以實現對廢水進行均勻的加藥,導致廢水處理不徹底的問題,現提出如下方案,其包括底座,所述底座的頂部分別固定安裝有輸送泵、安裝箱和加藥箱,安裝箱內固定安裝有支撐管,且支撐管內安裝有過濾組件,加藥箱的右側頂部內壁上固定安裝有排水管,排水管的右端延伸至加藥箱的右側,安裝箱的頂部卡裝有蓋板,本發明通過啟動輸送泵和驅動電機能夠將實現對水進行多級過濾以及加藥消毒處理,以便能夠實現對廢水進行凈化處理,并且在對廢水進行處理時,能夠保證廢水正常流動,因此不會降低廢水的處理效率,具有良好的實用性。

權利要求書
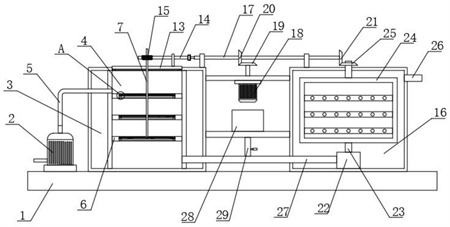
1.一種組合式廢水深度處理設備,包括底座(1),其特征在于,所述底座(1)的頂部分別固定安裝有輸送泵(2)、安裝箱(3)和加藥箱(16),安裝箱(3)內固定安裝有支撐管(4),且支撐管(4)內安裝有過濾組件,加藥箱(16)的右側頂部內壁上固定安裝有排水管(26),排水管(26)的右端延伸至加藥箱(16)的右側,安裝箱(3)的頂部卡裝有蓋板(13),且過濾組件的頂端延伸至蓋板(13)的上方并與蓋板(13)相連接,過濾組件上連有位于蓋板(13)上方的驅動組件,驅動組件與蓋板(13)的頂部相連接,輸送泵(2)的輸出端上固定連接有輸送管(5),且輸送管(5)的頂端延伸至支撐管(4)內并與支撐管(4)的左側內壁固定連接;安裝箱(3)和加藥箱(16)相互靠近的一側固定安裝有同一個固定板,且固定板上連接有傳動組件,傳動組件分別與安裝箱(3)的頂部和加藥箱(16)的頂部相連接,支撐管(4)的右側底部內壁上固定安裝有輸水管(27),且輸水管(27)的右端延伸至加藥箱(16)內并連接有分散組件,分散組件頂端延伸至加藥箱(16)的上方并與傳動組件相連接,且傳動組件與驅動組件箱連接,輸水管(27)上連接有位于安裝箱(3)和加藥箱(16)之間的投藥組件,且投藥組件分別與安裝箱(3)的右側和加藥箱(16)的左側相連接。
2.根據權利要求1所述的一種組合式廢水深度處理設備,其特征在于,所述過濾組件包括多個支撐環(6)、多個安裝環(8)、多個固定環(10)、多個濾網(11)和傳動桿(7);多個支撐環(6)等間距固定安裝在支撐管(4)的內壁上,且安裝環(8)固定安裝在對應的支撐環(6)的內壁上,安裝環(8)的頂部對稱固定安裝有兩個定位塊(9),且固定環(10)的底部對稱開設有兩個定位槽,定位塊(9)的頂部延伸至對稱的定位槽內并與定位槽的內壁相卡裝,濾網(11)固定安裝在對應的固定環(10)內,且傳動桿(7)分別貫穿多個濾網(11)并分別與多個濾網(11)轉動連接,傳動桿(7)貫穿蓋板(13)并與蓋板(13)轉動連接,且傳動桿(7)與驅動組件相連接。
3.根據權利要求2所述的一種組合式廢水深度處理設備,其特征在于,所述傳動桿(7)的左側和右側均等間距固定安裝有多個刮板(12),且位于同一高度對稱設置的兩個刮板(12)均與同一個濾網(11)的頂部相接觸。
4.根據權利要求1所述的一種組合式廢水深度處理設備,其特征在于,所述驅動組件包括轉動桿(14)、蝸桿(15)和蝸輪(30);轉動桿(14)轉動連接在蓋板(13)的頂部,且蝸桿(15)固定套設在轉動桿(14)上,蝸輪(30)固定套設在傳動桿(7)上,且蝸桿(15)與蝸輪(30)相嚙合,轉動桿(14)的右端與傳動組件相連接。
5.根據權利要求1所述的一種組合式廢水深度處理設備,其特征在于,所述傳動組件包括驅動電機(18)、主動傘齒輪(19)、轉軸(17)、連接傘齒輪(20)、傳動傘齒輪(21)、從動傘齒輪(25)和定位構件;驅動電機(18)固定安裝在固定板的底部,且驅動電機(18)的輸出軸貫穿固定板,主動傘齒輪(19)固定安裝在驅動電機(18)的輸出軸上,且轉軸(17)分別與安裝箱(3)的頂部和加藥箱(16)的頂部轉動連接,連接傘齒輪(20)固定套設在轉軸(17)上,連接傘齒輪(20)與主動傘齒輪(19)相嚙合,且轉軸(17)的左端開設有移動槽(31),定位構件安裝在移動槽(31)內,卡裝構件的左側延伸至轉軸(17)的左側并與轉動桿(14)的右端相連接,傳動傘齒輪(21)固定安裝在轉軸(17)的右端,且從動傘齒輪(25)與分撒組件相連接,傳動傘齒輪(21)與從動傘齒輪(25)相嚙合。6.根據權利要求5所述的一種組合式廢水深度處理設備,其特征在于,所述定位構件包括移動桿(32)、壓縮彈簧(35)、卡罩(33)和卡板(34);移動桿(32)滑動連接在移動槽(31)內,且移動桿(32)的左端延伸至轉軸(17)的左側并與卡罩(33)固定連接,卡板(34)固定安裝在轉動桿(14)的右端,且卡板(34)的右側延伸至卡罩(33)內并與卡罩(33)的內壁相卡裝,壓縮彈簧(35)的左端和右端分別與移動桿(32)的右端和移動槽(31)的右側內壁固定連接。
7.根據權利要求1所述的一種組合式廢水深度處理設備,其特征在于,所述投藥組件包括支撐板、存藥箱(28)、連接管(29)、第一限流板(36)、第二限流板(37)、傘齒環(38)、手柄桿(39)和驅動傘齒輪(40);支撐板分別與安裝箱(3)的右側和加藥箱(16)的左側固定連接,且存藥箱(28)固定安裝在支撐板的頂部,連接管(29)固定安裝在存藥箱(28)的底部內壁上,連接管(29)的底端延伸至輸水管(27)內并與輸水管(27)的頂部內壁固定連接,且第一限流板(36)固定安裝在連接管(29)的內壁上,第二限流板(37)與第一限流板(36)轉動連接,且第一限流板(36)和第二限流板(37)上均對稱開設有兩個流動孔,手柄桿(39)貫穿連接管(29)的右側內壁并與連接管(29)的右側內壁轉動連接,且傘齒環(38)固定安裝在第二限流板(37)的頂部,驅動傘齒輪(40)固定安裝在手柄桿(39)的左端,驅動傘齒輪(40)與傘齒環(38)相嚙合。
8.根據權利要求5所述的一種組合式廢水深度處理設備,其特征在于,所述分散組件包括連接箱(22)、轉動管(23)、噴藥格柵(24)和驅動軸;連接箱(22)固定安裝在加藥箱(16)的底部內壁上,且輸水管(27)的右端延伸至連接箱(22)內并與連接箱(22)的左側內壁固定連接,且轉動管(23)轉動連接在連接箱(22)的頂部內壁上,轉動管(23)的頂端延伸至加藥箱(16)內并與噴藥格柵(24)固定連通,驅動軸固定安裝在噴藥格柵(24)的頂部,且驅動軸的頂端延伸至加藥箱(16)的上方,從動傘齒輪(25)固定套設在驅動軸上。
發明內容
基于背景技術存在現有的技術方案在對廢水進行加藥時,難以實現對廢水進行均勻的加藥,導致廢水處理不徹底的技術問題,本發明提出了一種組合式廢水深度處理設備。
本發明提出的一種組合式廢水深度處理設備,包括底座,所述底座的頂部分別固定安裝有輸送泵、安裝箱和加藥箱,安裝箱內固定安裝有支撐管,且支撐管內安裝有過濾組件,加藥箱的右側頂部內壁上固定安裝有排水管,排水管的右端延伸至加藥箱的右側,安裝箱的頂部卡裝有蓋板,且過濾組件的頂端延伸至蓋板的上方并與蓋板相連接,過濾組件上連有位于蓋板上方的驅動組件,驅動組件與蓋板的頂部相連接,輸送泵的輸出端上固定連接有輸送管,且輸送管的頂端延伸至支撐管內并與支撐管的左側內壁固定連接;
安裝箱和加藥箱相互靠近的一側固定安裝有同一個固定板,且固定板上連接有傳動組件,傳動組件分別與安裝箱的頂部和加藥箱的頂部相連接,支撐管的右側底部內壁上固定安裝有輸水管,且輸水管的右端延伸至加藥箱內并連接有分散組件,分散組件頂端延伸至加藥箱的上方并與傳動組件相連接,且傳動組件與驅動組件箱連接,輸水管上連接有位于安裝箱和加藥箱之間的投藥組件,且投藥組件分別與安裝箱的右側和加藥箱的左側相連接。
借由上述結構,可啟動輸送泵后,將需要處理的廢水輸送至支撐管內,利用過濾組件對廢水中的顆粒進行過濾,經過過濾后的廢水可由輸水管輸送至加藥箱內,并且經過分散組件的分散輸送,能夠使得廢水散落在加藥箱內,在輸送廢水時,可利用投藥組件將藥液輸送至輸水管內,以此能夠在經過過濾后的廢水中進行加藥處理,以便能夠實現對廢水進行凈化處理,之后可啟動傳動組件帶動過濾組件和分散組件進行運行,以此能夠對廢水進行徹底的處理,所以具有良好的實用性。
優選的,所述過濾組件包括多個支撐環、多個安裝環、多個固定環、多個濾網和傳動桿;
多個支撐環等間距固定安裝在支撐管的內壁上,且安裝環固定安裝在對應的支撐環的內壁上,安裝環的頂部對稱固定安裝有兩個定位塊,且固定環的底部對稱開設有兩個定位槽,定位塊的頂部延伸至對稱的定位槽內并與定位槽的內壁相卡裝,濾網固定安裝在對應的固定環內,且傳動桿分別貫穿多個濾網并分別與多個濾網轉動連接,傳動桿貫穿蓋板并與蓋板轉動連接,且傳動桿與驅動組件相連接。
進一步的,在固定環內設置了濾網,便可利用濾網對廢水中的雜質顆粒進行過濾,以此能夠實現對廢水進行物理凈化處理。
優選的,所述傳動桿的左側和右側均等間距固定安裝有多個刮板,且位于同一高度對稱設置的兩個刮板均與同一個濾網的頂部相接觸。
進一步的,在傳動桿接受到傳動組件的動力后進行轉動,此時能夠帶動多個刮板進行環形運動,即可將落在濾網上的雜質顆粒進行清理,保持廢水正常流動。
優選的,所述驅動組件包括轉動桿、蝸桿和蝸輪;
轉動桿轉動連接在蓋板的頂部,且蝸桿固定套設在轉動桿上,蝸輪固定套設在傳動桿上,且蝸桿與蝸輪相嚙合,轉動桿的右端與傳動組件相連接。
進一步的,在轉動桿接受到傳動組件的動力后能夠進行轉動,此時在蝸桿和蝸輪的嚙合傳動作用下,能夠帶動傳動桿進行轉動。
優選的,所述傳動組件包括驅動電機、主動傘齒輪、轉軸、連接傘齒輪、傳動傘齒輪、從動傘齒輪和定位構件;
驅動電機固定安裝在固定板的底部,且驅動電機的輸出軸貫穿固定板,主動傘齒輪固定安裝在驅動電機的輸出軸上,且轉軸分別與安裝箱的頂部和加藥箱的頂部轉動連接,連接傘齒輪固定套設在轉軸上,連接傘齒輪與主動傘齒輪相嚙合,且轉軸的左端開設有移動槽,定位構件安裝在移動槽內,卡裝構件的左側延伸至轉軸的左側并與轉動桿的右端相連接,傳動傘齒輪固定安裝在轉軸的右端,且從動傘齒輪與分撒組件相連接,傳動傘齒輪與從動傘齒輪相嚙合。
進一步的,通過啟動驅動電機經過主動傘齒輪和連接傘齒輪的傳動嚙合,可使得轉軸進行轉動,以此能夠使得轉動桿進行轉動,并且在轉軸進行轉動時,可在傳動傘齒輪和從動傘齒輪的嚙合傳動作用下,能夠使得分散組件進行運轉,以便能夠使得廢水與藥液充分混合。
優選的,所述定位構件包括移動桿、壓縮彈簧、卡罩和卡板;
移動桿滑動連接在移動槽內,且移動桿的左端延伸至轉軸的左側并與卡罩固定連接,卡板固定安裝在轉動桿的右端,且卡板的右側延伸至卡罩內并與卡罩的內壁相卡裝,壓縮彈簧的左端和右端分別與移動桿的右端和移動槽的右側內壁固定連接。
進一步的,在卡罩和卡板進行卡裝配合時,可在轉軸進行轉動時,能夠帶動轉動桿進行轉動。
優選的,所述投藥組件包括支撐板、存藥箱、連接管、第一限流板、第二限流板、傘齒環、手柄桿和驅動傘齒輪;
支撐板分別與安裝箱的右側和加藥箱的左側固定連接,且存藥箱固定安裝在支撐板的頂部,連接管固定安裝在存藥箱的底部內壁上,連接管的底端延伸至輸水管內并與輸水管的頂部內壁固定連接,且第一限流板固定安裝在連接管的內壁上,第二限流板與第一限流板轉動連接,且第一限流板和第二限流板上均對稱開設有兩個流動孔,手柄桿貫穿連接管的右側內壁并與連接管的右側內壁轉動連接,且傘齒環固定安裝在第二限流板的頂部,驅動傘齒輪固定安裝在手柄桿的左端,驅動傘齒輪與傘齒環相嚙合。
進一步的,通過轉動手柄桿,經過驅動傘齒輪和傘齒環的嚙合傳動作用下,能夠帶動第二限流板進行轉動,以此可實現對流動孔的流動面積進行調節,對藥液流量進行控制。
優選的,所述分散組件包括連接箱、轉動管、噴藥格柵和驅動軸;
連接箱固定安裝在加藥箱的底部內壁上,且輸水管的右端延伸至連接箱內并與連接箱的左側內壁固定連接,且轉動管轉動連接在連接箱的頂部內壁上,轉動管的頂端延伸至加藥箱內并與噴藥格柵固定連通,驅動軸固定安裝在噴藥格柵的頂部,且驅動軸的頂端延伸至加藥箱的上方,從動傘齒輪固定套設在驅動軸上。
進一步的,在驅動軸隨著從動傘齒輪進行轉動時,可帶動噴藥格柵進行轉動,以此能夠實現對藥液和廢水進行混合攪拌。
本發明的有益效果是:
1、本發明中,通過啟動輸送泵可將廢水輸送至支撐管內,此時可利用多個濾網能夠實現對廢水進行過濾,并且多個濾網由上到下設置孔徑依次變小,所以能夠實現對廢水中的各種顆粒進行過濾,并且通過轉動手柄桿,經過驅動傘齒輪和傘齒環的嚙合傳動作用下,能夠帶動第二限流板進行轉動,以此可實現對流動孔的流動面積進行調節,在廢水過濾之后可經過輸水管可輸送至連接箱內,之后經過轉動管可將廢水輸送至噴藥格柵內,以此可使得廢水分散輸送至加藥箱內,存藥箱內的藥液可經過連接管可輸送至輸水管內,可向廢水進行加藥;
2、本發明中,通過啟動驅動電機帶動主動傘齒輪進行轉動,此時通過連接傘齒輪的嚙合傳動作用下,能夠帶動轉軸進行轉動,在轉軸進行轉動時,可通過傳動傘齒輪和從動傘齒輪的嚙合傳動作用下,能夠帶動噴藥格柵進行轉動,以此可將藥液和廢水進行充分混合,能夠利用藥液對廢水進行處理;
3、本發明中,在轉軸進行轉動時,可通過卡罩和卡板的卡裝配合下,能夠帶動轉動桿進行轉動,在轉動桿進行轉動時,可通過蝸桿和蝸輪的嚙合傳動作用下帶動傳動桿進行轉動,以此可使得多個刮板進行環形運動,以此可清理落在濾網上的雜質,使得濾網不會發生堵塞,保證廢水正常流動進行過濾,使得廢水處理效率不會降低。
本發明通過啟動輸送泵和驅動電機能夠將實現對水進行多級過濾以及加藥消毒處理,以便能夠實現對廢水進行凈化處理,并且在對廢水進行處理時,能夠保證廢水正常流動,因此不會降低廢水的處理效率,具有良好的實用性。
(發明人:喬治·王陶)






