公布日:2023.09.19
申請日:2023.08.15
分類號:C02F9/00(2023.01)I;C02F1/00(2023.01)N;C02F1/28(2023.01)N;C02F1/52(2023.01)N
摘要
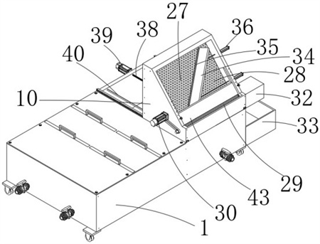
本發明涉及鋼盔加工技術領域,具體涉及一種鋼盔加工用廢水處理裝置,包括廢水處理箱、設置于廢水處理箱一側的第一集液槽、設置于廢水處理箱內的第一出水腔、開設于第一集液槽側壁的第一過液通道、可升降設置于第一集液槽側壁的第一閥板、設置于廢水處理箱一側且與第一集液槽相鄰的第二集液槽、設置于廢水處理箱內的第二出水腔、開設于第二集液槽側壁用于連通第二集液槽與第二出水腔的第二過液通道、可升降設置于第一集液槽側壁的第二閥板、設置于廢水處理箱上的固液分離箱、設置于廢水處理箱與固液分離箱之間的滑移驅動裝置、設置于廢水處理箱內的升降傳動裝置,可以將廢水中的絮凝物過濾出來并回收處理。

權利要求書
1.一種鋼盔加工用廢水處理裝置,其特征在于:包括廢水處理箱、設置于所述廢水處理箱一側開口向上的第一集液槽、設置于所述廢水處理箱內的第一出水腔、開設于所述第一集液槽側壁用于連通所述第一集液槽與所述第一出水腔的第一過液通道、可升降設置于所述第一集液槽側壁用于控制所述第一過液通道啟閉的第一閥板、設置于所述廢水處理箱一側且與所述第一集液槽相鄰的第二集液槽、設置于所述廢水處理箱內的第二出水腔、開設于所述第二集液槽側壁用于連通所述第二集液槽與所述第二出水腔的第二過液通道、可升降設置于所述第一集液槽側壁用于控制所述第二過液通道啟閉的第二閥板、可滑移設置于所述廢水處理箱上且位于所述第一集液槽和/或所述第二集液槽上側的固液分離箱、設置于所述固液分離箱上用于過濾廢液以分離出廢液中廢渣的固液分離裝置、開設于所述固液分離箱下側用于將所述固液分離箱中所述固液分離裝置分離出的廢液向下排放至所述第一集液槽或所述第二集液槽中的至少一個排液口、設置于所述廢水處理箱與所述固液分離箱之間用于控制所述固液分離箱在所述廢水處理箱上滑移的滑移驅動裝置、設置于所述廢水處理箱內并與所述固液分離箱傳動連接用于在所述固液分離箱滑移的過程中控制所述第一閥板和/或所述第二閥板升降以控制所述第一過液通道和/或第二過液通道啟閉的升降傳動裝置,所述升降傳動裝置包括設置于所述第一閥板上側兩端位置的一組第一傳動桿、設置于一組所述第一傳動桿之間的第一傳動板、設置于所述第一傳動板一側的第一傳動塊、設置于所述第二閥板上側兩端位置的一組第二傳動桿、設置于一組所述第二傳動桿之間的第二傳動板、設置于所述第二傳動板一側的第二傳動塊、設置于所述第一傳動塊上位于與所述第二傳動塊相靠近一側的第一傳動斜面、設置于所述第二傳動塊上位于與所述第一傳動塊相靠近一側的第二傳動斜面、設置于所述固液分離箱靠近所述第一過液通道/所述第二過液通道一側的兩端均設置有傳動斜面的用于與所述第一傳動斜面及所述第二傳動斜面相配合的用于在所述固液分離箱滑移時抵頂所述第一傳動斜面或所述第二傳動斜面以帶動所述第一傳動塊上升或所述第二傳動塊上升的鍥形傳動塊;所述第一集液槽側壁設置有供所述第一閥板升降的第一滑移座,所述第二集液槽側壁設置有供所述第二閥板升降的第二滑移座,所述第一滑移座/第二滑移座與所述第一閥板/第二閥板之間設置有用于向下拉動所述第一閥板/第二閥板以使得所述第一過液通道/所述第二過液通道保持開啟狀態的常啟裝置;所述常啟裝置包括設置于所述第一滑移座/第二滑移座下側的抵頂板、設置于所述第一閥板/第二閥板下側且位于所述抵頂板上側的拉緊板、從下向上穿過所述抵頂板連接所述拉緊板的至少一根拉桿、設置于各所述拉桿下端的抵頂端頭、套設于所述拉桿上且兩端分別抵頂于所述抵頂端頭上端面及所述抵頂板下端面的彈性件;所述滑移驅動裝置包括設置于所述廢水處理箱上且位于所述第一集液槽及所述第二集液槽兩側供所述固液分離箱在上滑移的一組滑軌、可轉動設置于所述廢水處理箱上與所述滑軌平行且穿過所述第一集液槽及所述第二集液槽的絲桿、設置于所述廢水處理箱上與所述絲桿傳動連接用于帶動所述絲桿轉動的第二轉動電機、設置于所述廢水處理箱上與所述滑軌平行且穿過所述第一集液槽及所述第二集液槽的一組導向桿、設置于所述固液分離箱下側用于與所述絲桿傳動配合以使得所述絲桿轉動時帶動所述固液分離箱在所述滑軌上滑移的連接座。
2.根據權利要求1所述的一種鋼盔加工用廢水處理裝置,其特征在于:所述固液分離裝置包括開設于所述固液分離箱一側的進料口、傾斜設置于所述固液分離箱內用于過濾廢液及用于供廢液過濾后分離出的廢渣在重力的作用下向下滑動的濾網、設置于所述廢水處理箱內且位于所述濾網下側用于將向下滑動的廢渣排出的排渣裝置。
3.根據權利要求2所述的一種鋼盔加工用廢水處理裝置,其特征在于:所述排渣裝置包括設置于所述固液分離箱內位于所述濾網下側的輸出筒、可轉動設置于所述固液分離箱內且位于所述輸出筒內的絞龍、設置于所述固液分離箱上與所述絞龍傳動連接用于帶動所述絞龍轉動的第一轉動電機、開設于所述輸出筒上側的進渣口、設置于所述固液分離箱內用于將向下滑動的廢渣導向至所述進渣口靠近所述第一轉動電機一側及用于清理所述濾網表面的廢渣的清理導向裝置,所述固液分離箱側壁開設有與所述輸出筒配合的排渣筒,所述排渣筒下側開設有與所述輸出筒連通的排渣口,所述排渣口下側設置有開口向上的用于收集廢渣的收集盒。
4.根據權利要求3所述的一種鋼盔加工用廢水處理裝置,其特征在于:所述清理導向裝置包括可滑移設置于所述固液分離箱內且位于所述濾網上的導向板、設置于所述導向板上靠近所述濾網一側在所述導向板滑動時清理所述濾網表面的清理刷、設置于所述固液分離箱一側且分別傳動連接所述導向板兩端以帶動所述導向板滑移的兩個伸縮氣缸、設置于所述固液分離箱上用于防止廢渣濺出的阻隔板。
5.根據權利要求3所述的一種鋼盔加工用廢水處理裝置,其特征在于:所述輸出筒側壁開設有可供廢液向下滴落的排液孔。
6.根據權利要求1所述的一種鋼盔加工用廢水處理裝置,其特征在于:所述廢水處理箱位于所述第一出水腔及所述第二出水腔內均可拆卸設置有至少一個過濾板。
7.根據權利要求6所述的一種鋼盔加工用廢水處理裝置,其特征在于:所述廢水處理箱位于遠離所述固液分離箱一側設置有用于與所述第一出水腔相連通的第一控制閥及用于與所述第二出水腔相連通的第二控制閥,所述廢水處理箱上設置有用于與所述第一集液槽相連通的第三控制閥,所述廢水處理箱上設置有用于與所述第二集液槽相連通的第四控制閥。
發明內容
本發明的目的在于針對現有技術的缺陷和不足,提供一種鋼盔加工用廢水處理裝置。
為實現上述目的,本發明采用以下技術方案是:一種鋼盔加工用廢水處理裝置,包括廢水處理箱、設置于所述廢水處理箱一側開口向上的第一集液槽、設置于所述廢水處理箱內的第一出水腔、開設于所述第一集液槽側壁用于連通所述第一集液槽與所述第一出水腔的第一過液通道、可升降設置于所述第一集液槽側壁用于控制所述第一過液通道啟閉的第一閥板、設置于所述廢水處理箱一側且與所述第一集液槽相鄰的第二集液槽、設置于所述廢水處理箱內的第二出水腔、開設于所述第二集液槽側壁用于連通所述第二集液槽與所述第二出水腔的第二過液通道、可升降設置于所述第一集液槽側壁用于控制所述第二過液通道啟閉的第二閥板、可滑移設置于所述廢水處理箱上且位于所述第一集液槽和/或所述第二集液槽上側的固液分離箱、設置于所述固液分離箱上用于過濾廢液以分離出廢液中廢渣的固液分離裝置、開設于所述固液分離箱下側用于將所述固液分離箱中所述固液分離裝置分離出的廢液向下排放至所述第一集液槽或所述第二集液槽中的至少一個排液口、設置于所述廢水處理箱與所述固液分離箱之間用于控制所述固液分離箱在所述廢水處理箱上滑移的滑移驅動裝置、設置于所述廢水處理箱內并與所述固液分離箱傳動連接用于在所述固液分離箱滑移的過程中控制所述第一閥板和/或所述第二閥板升降以控制所述第一過液通道和/或第二過液通道啟閉的升降傳動裝置,所述升降傳動裝置包括設置于所述第一閥板上側兩端位置的一組第一傳動桿、設置于一組所述第一傳動桿之間的第一傳動板、設置于所述第一傳動板一側的第一傳動塊、設置于所述第二閥板上側兩端位置的一組第二傳動桿、設置于一組所述第二傳動桿之間的第二傳動板、設置于所述第二傳動板一側的第二傳動塊、設置于所述第一傳動塊上位于與所述第二傳動塊相靠近一側的第一傳動斜面、設置于所述第二傳動塊上位于與所述第一傳動塊相靠近一側的第二傳動斜面、設置于所述固液分離箱靠近所述第一過液通道/所述第二過液通道一側的兩端均設置有傳動斜面的用于與所述第一傳動斜面及所述第二傳動斜面相配合的用于在所述固液分離箱滑移時抵頂所述第一傳動斜面或所述第二傳動斜面以帶動所述第一傳動塊上升或所述第二傳動塊上升的鍥形傳動塊;
所述滑移驅動裝置控制所述固液分離箱向所述第一集液槽上方方向滑移過程中,所述鍥形傳動塊與所述第一傳動塊相抵頂配合以帶動所述第一傳動塊上升,所述鍥形傳動塊與所述第二傳動塊逐漸脫離配合;所述滑移驅動裝置控制所述固液分離箱向所述第二集液槽上方方向滑移過程中,所述鍥形傳動塊與所述第二傳動塊相抵頂配合以帶動所述第二傳動塊上升,所述鍥形傳動塊與所述第一傳動塊逐漸脫離配合。
進一步改進的是:所述第一集液槽側壁設置有供所述第一閥板升降的第一滑移座,所述第二集液槽側壁設置有供所述第二閥板升降的第二滑移座,所述第一滑移座/第二滑移座與所述第一閥板/第二閥板之間設置有用于向下拉動所述第一閥板/第二閥板以使得所述第一過液通道/所述第二過液通道保持開啟狀態的常啟裝置。
進一步改進的是:所述常啟裝置包括設置于所述第一滑移座/第二滑移座下側的抵頂板、設置于所述第一閥板/第二閥板下側且位于所述抵頂板上側的拉緊板、從下向上穿過所述抵頂板連接所述拉緊板的至少一根拉桿、設置于各所述拉桿下端的抵頂端頭、套設于所述拉桿上且兩端分別抵頂于所述抵頂端頭上端面及所述抵頂板下端面的彈性件。
進一步改進的是:所述固液分離裝置包括開設于所述固液分離箱一側的進料口、傾斜設置于所述固液分離箱內用于過濾廢液及用于供廢液過濾后分離出的廢渣在重力的作用下向下滑動的濾網、設置于所述廢水處理箱內且位于所述濾網下側用于將向下滑動的廢渣排出的排渣裝置。
進一步改進的是:所述排渣裝置包括設置于所述固液分離箱內位于所述濾網下側的輸出筒、可轉動設置于所述固液分離箱內且位于所述輸出筒內的絞龍、設置于所述固液分離箱上與所述絞龍傳動連接用于帶動所述絞龍轉動的第一轉動電機、開設于所述輸出筒上側的進渣口、設置于所述固液分離箱內用于將向下滑動的廢渣導向至所述進渣口靠近所述第一轉動電機一側及用于清理所述濾網表面的廢渣的清理導向裝置,所述固液分離箱側壁開設有與所述輸出筒配合的排渣筒,所述排渣筒下側開設有與所述輸出筒連通的排渣口,所述排渣口下側設置有開口向上的用于收集廢渣的收集盒。
進一步改進的是:所述清理導向裝置包括可滑移設置于所述固液分離箱內且位于所述濾網上的導向板、設置于所述導向板上靠近所述濾網一側在所述導向板滑動時清理所述濾網表面的清理刷、設置于所述固液分離箱一側且分別傳動連接所述導向板兩端以帶動所述導向板滑移的兩個伸縮氣缸、設置于所述固液分離箱上用于防止廢渣濺出的阻隔板。
進一步改進的是:所述輸出筒側壁開設有可供廢液向下滴落的排液孔。
進一步改進的是:所述滑移驅動裝置包括設置于所述廢水處理箱上且位于所述第一集液槽及所述第二集液槽兩側供所述固液分離箱在上滑移的一組滑軌、可轉動設置于所述廢水處理箱上與所述滑軌平行且穿過所述第一集液槽及所述第二集液槽的絲桿、設置于所述廢水處理箱上與所述絲桿傳動連接用于帶動所述絲桿轉動的第二轉動電機、設置于所述廢水處理箱上與所述滑軌平行且穿過所述第一集液槽及所述第二集液槽的一組導向桿、設置于所述固液分離箱下側用于與所述絲桿傳動配合以使得所述絲桿轉動時帶動所述固液分離箱在所述滑軌上滑移的連接座。
進一步改進的是:所述廢水處理箱位于所述第一出水腔及所述第二出水腔內均可拆卸設置有至少一個過濾板。
進一步改進的是:所述廢水處理箱位于遠離所述固液分離箱一側設置有用于與所述第一出水腔相連通的第一控制閥及用于與所述第二出水腔相連通的第二控制閥,所述廢水處理箱上設置有用于與所述第一集液槽相連通的第三控制閥,所述廢水處理箱上設置有用于與所述第二集液槽相連通的第四控制閥。
采用上述技術方案后,本發明有益效果為:通過固液分離裝置將廢液中的廢渣(雜質、金屬廢渣等)過濾出來,并通過排渣裝置將廢渣排出及收集,以避免含有金屬廢渣的廢水直接排放造成環境的污染;同時還可以回收利于收集的廢渣中的金屬物質,節約鋼盔生產成本;同時通過滑移驅動裝置帶動固液分離箱滑移即可控制第一出水腔及第二出水腔啟閉,控制方式簡單方便。
(發明人:蘇小緣;李華榕)






