公布日:2023.08.01
申請日:2023.04.06
分類號:C02F3/12(2023.01)I
摘要
本發明提出了一種適用于連續流反應器的顆粒污泥促進生成裝置及方法,所述裝置包括之間具有間距的左側擋板和右側擋板,左側擋板的內側由下而上依次設置有左側導流板和左側折板,右側擋板的內側由下而上依次設置有右側導流板和右側折板;所述左側導流板和右側導流板之間具有間距且通過調節機構進行間距的調節,以控制污泥沉降性能;所述右側擋板上傾斜設置有能夠調節角度的流量調節擋板,通過控制流量調節擋板的調節角度來控制混合液停留時間。本發明可直接被安裝于現有連續流反應器內,適用于現有連續流反應器內絮凝污泥向顆粒污泥形態的轉變,并通過折板沉淀原理實現顆粒污泥促進生成與篩選,從而實現連續流反應器內絮凝污泥向顆粒污泥的轉變。

權利要求書
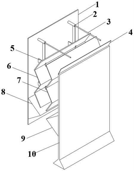
1.一種適用于連續流反應器的顆粒污泥促進生成裝置,其特征在于,包括之間具有間距的左側擋板(1)和右側擋板(10),左側擋板(1)的內側由下而上依次設置有左側導流板(8)和左側折板(6),右側擋板(10)的內側由下而上依次設置有右側導流板(9)和右側折板(7);所述左側導流板(8)和右側導流板(9)之間具有間距且通過調節機構進行間距的調節,以控制污泥沉降性能;所述右側擋板(10)上傾斜設置有能夠調節角度的流量調節擋板(4),通過控制流量調節擋板(4)的調節角度來控制混合液停留時間。
2.根據權利要求1所述的一種適用于連續流反應器的顆粒污泥促進生成裝置,其特征在于,所述左側擋板(1)與左側折板(6)之間以及右側擋板(10)與右側折板(7)之間均設置有固定架(5)。
3.根據權利要求2所述的一種適用于連續流反應器的顆粒污泥促進生成裝置,其特征在于,所述調節機構包括一端與固定架(5)相連接且另一端與左側擋板(1)相連接的L型彎折桿,L型彎折桿的內部穿設有伸縮桿(3),伸縮桿(3)的一端與連續流反應器的側壁相固定,伸縮桿(3)通過伸縮桿固定結點(2)定位設置在L型彎折桿上。
4.根據權利要求1至3任意一項所述的一種適用于連續流反應器的顆粒污泥促進生成裝置,其特征在于,所述左側擋板(1)的后側壁滑動配裝設置在連續流反應器的側壁上;所述右側擋板(10)支撐設置在連續流反應器的底壁上;所述左側擋板(1)與連續流反應器的底壁之間具有間距,左側擋板(1)的底部與右側擋板(10)之間形成混合液入流口。
5.一種顆粒污泥促進生成方法,其特征在于,所述方法基于權利要求1至4任意一項所述的一種適用于連續流反應器的顆粒污泥促進生成裝置進行,包括以下步驟:S1、根據連續流反應器尺寸確定所述的一種適用于連續流反應器的顆粒污泥促進生成裝置的尺寸大小,并進行加工;S2、將步驟S1加工好的所述的一種適用于連續流反應器的顆粒污泥促進生成裝置放置于連續流反應器中段和末段;S3、在推流運行過程中混合液進入所述的一種適用于連續流反應器的顆粒污泥促進生成裝置,泥水混合液通過左側導流板(8)和右側導流板(9)后進入折板沉淀區,其中比重大的污泥不斷被聚集在左側擋板(1)和右側擋板(10)底部,而比重較小的絮狀污泥則通過流量調節擋板(4)流出;S4、通過調節流量調節擋板(4)的水平角度,以控制上清液流的出流速度;通過控制左側導流板(8)和右側導流板(9)之間的間距,以控制污泥的沉降性能;通過不斷降低流量調節擋板(4)的水平角度和增大折板間距,最終將絮凝污泥完全轉變為顆粒污泥,并實現連續流反應器的高效運行。
6.根據權利要求5所述的一種顆粒污泥促進生成方法,其特征在于,所述步驟S2中,所述的一種適用于連續流反應器的顆粒污泥促進生成裝置在連續流反應器流向長度的占比應介于20%-30%。
7.根據權利要求5所述的一種顆粒污泥促進生成方法,其特征在于,所述步驟S4中,當流量調節擋板(4)與水平呈90°時,上清液流出速率最慢;當流量調節擋板(4)與水平呈0°時,上清液流出速率最快;流量調節擋板的水平角度每變化10°,出流速率隨之變化5%。
8.根據權利要求5所述的一種顆粒污泥促進生成方法,其特征在于,所述步驟S4中,通過控制伸縮桿固定結點(2)調節伸縮桿(3)的伸縮,以控制左側導流板(8)和右側導流板(9)之間的間距。
9.根據權利要求5所述的一種顆粒污泥促進生成方法,其特征在于,所述步驟S4中,左側導流板(8)和右側導流板(9)之間的間距根據連續流反應器內顆粒污泥占比、污泥粒徑、MLSS、MLVSS和SVI數值決定。
10.根據權利要求9所述的一種顆粒污泥促進生成方法,其特征在于,還包括以下步驟:S5、在所述的一種適用于連續流反應器的顆粒污泥促進生成裝置放入初期,連續流反應器內污泥形態主要以絮凝污泥為主,此時設置流量調節擋板(4)的水平角度為90°,以防止污泥流失;運行30天,且每天監測連續流反應器的MLSS、MLVSS和SVI數值,實現絮凝污泥向顆粒污泥的轉化;S6、待連續流反應器內部分絮凝污泥被轉化為顆粒污泥后,以10°為步長,依次調節流量調節擋板(4)的水平角度為90°、80°、70°至0°;每個角度調節過程運行30天,最終將絮凝污泥完全轉變為顆粒污泥;S7、待連續流反應器內的主要以顆粒污泥為主,污泥粒徑大于0.5mm,SVI值在10時,放大左側導流板(8)和右側導流板(9)之間的間距以及左側折板(6)和右側折板(7)的間距,以提高連續流反應器內顆粒污泥的生物處理效率。
發明內容
本發明提出一種適用于連續流反應器的顆粒污泥促進生成裝置及方法,以解決背景技術中的問題。本發明可直接被安裝于現有連續流反應器內,并通過折板沉淀原理實現顆粒污泥促進生成與篩選,從而實現連續流反應器內絮凝污泥向顆粒污泥的轉變。
本發明的技術方案是這樣實現的:
一種適用于連續流反應器的顆粒污泥促進生成裝置,包括之間具有間距的左側擋板和右側擋板,左側擋板的內側由下而上依次設置有左側導流板和左側折板,右側擋板的內側由下而上依次設置有右側導流板和右側折板;所述左側導流板和右側導流板之間具有間距且通過調節機構進行間距的調節,以控制污泥沉降性能;所述右側擋板上傾斜設置有能夠調節角度的流量調節擋板,通過控制流量調節擋板的調節角度來控制混合液停留時間。
進一步優化技術方案,所述左側擋板與左側折板之間以及右側擋板與右側折板之間均設置有固定架。
進一步優化技術方案,所述調節機構包括一端與固定架相連接且另一端與左側擋板相連接的L型彎折桿,L型彎折桿的內部穿設有伸縮桿,伸縮桿的一端與連續流反應器的側壁相固定,伸縮桿通過伸縮桿固定結點定位設置在L型彎折桿上。
進一步優化技術方案,所述左側擋板的后側壁滑動配裝設置在連續流反應器的側壁上;所述右側擋板支撐設置在連續流反應器的底壁上;所述左側擋板與連續流反應器的底壁之間具有間距,左側擋板的底部與右側擋板之間形成混合液入流口。
一種顆粒污泥促進生成方法,所述方法基于所述的一種適用于連續流反應器的顆粒污泥促進生成裝置進行,包括以下步驟:
S1、根據連續流反應器尺寸確定所述的一種適用于連續流反應器的顆粒污泥促進生成裝置的尺寸大小,并進行加工;
S2、將步驟S1加工好的所述的一種適用于連續流反應器的顆粒污泥促進生成裝置放置于連續流反應器中段和末段;
S3、在推流運行過程中混合液進入所述的一種適用于連續流反應器的顆粒污泥促進生成裝置,泥水混合液通過左側導流板和右側導流板后進入折板沉淀區,其中比重大的污泥不斷被聚集在左側擋板和右側擋板底部,而比重較小的絮狀污泥則通過流量調節擋板流出;
S4、通過調節流量調節擋板的水平角度,以控制上清液流的出流速度;通過控制左側導流板和右側導流板之間的間距,以控制污泥的沉降性能;
通過不斷降低流量調節擋板的水平角度和增大折板間距,最終將絮凝污泥完全轉變為顆粒污泥,并實現連續流反應器的高效運行。
進一步優化技術方案,所述的一種適用于連續流反應器的顆粒污泥促進生成裝置在連續流反應器流向長度的占比應介于20%-30%。
進一步優化技術方案,所述步驟S4中,當流量調節擋板與水平呈90°時,上清液流出速率最慢;當流量調節擋板與水平呈0°時,上清液流出速率最快;流量調節擋板的水平角度每變化10°,出流速率隨之變化5%。
進一步優化技術方案,所述步驟S4中,通過控制伸縮桿固定結點調節伸縮桿的伸縮,以控制左側導流板和右側導流板之間的間距。
進一步優化技術方案,所述步驟S4中,左側導流板和右側導流板之間的間距根據連續流反應器內顆粒污泥占比、污泥粒徑、MLSS、MLVSS和SVI數值決定。
進一步優化技術方案,還包括以下步驟:
S5、在所述的一種適用于連續流反應器的顆粒污泥促進生成裝置放入初期,連續流反應器內污泥形態主要以絮凝污泥為主,此時設置流量調節擋板的水平角度為90°,以防止污泥流失;
運行30天,且每天監測連續流反應器的MLSS、MLVSS和SVI數值,實現絮凝污泥向顆粒污泥的轉化;
S6、待連續流反應器內部分絮凝污泥被轉化為顆粒污泥后,以10°為步長,依次調節流量調節擋板的水平角度為90°、80°、70°至0°;每個角度調節過程運行30天,最終將絮凝污泥完全轉變為顆粒污泥;
S7、待連續流反應器內的主要以顆粒污泥為主,污泥粒徑大于0.5mm,SVI值在10時,放大左側導流板和右側導流板之間的間距以及左側折板和右側折板的間距,以提高連續流反應器內顆粒污泥的生物處理效率。
采用了上述技術方案,本發明的有益效果為:
1、本發明提供的一種適用于連續流反應器的顆粒污泥促進生成裝置,為將現有連續流反應器內絮凝污泥快速促生成顆粒污泥的原位改造裝置,該裝置可直接被安裝于現有連續流反應器內,可直接適用于現有連續流反應器內絮凝污泥向顆粒污泥形態的轉變,并通過折板沉淀原理實現顆粒污泥促進生成與篩選,從而實現連續流反應器內絮凝污泥向顆粒污泥的轉變。
本發明提供的一種適用于連續流反應器的顆粒污泥促進生成裝置,有助于培養顆粒污泥,兼具泥水分離效果;提升水處理效率;裝置簡便,易于靈活調節等優點。因此本裝置適用于國內所有類型的連續流顆粒污泥工藝升級改造與優化。
2、本發明提供的一種適用于連續流反應器的顆粒污泥促進生成裝置,在投放初期,將流量調節擋板的水平角度為90°,以防止污泥流失,影響處理效果,實現絮凝污泥向顆粒污泥的轉化;而后依次調節流量調節擋板的水平角度,在每個角度下分別運行一段時間,將絮凝污泥完全轉變為顆粒污泥。并且通過適當放大導流板和折板間距,以提高連續流反應器內顆粒污泥的生物處理效率。
3、本發明提供的一種顆粒污泥促進生成方法,將加工好的裝置放置于現有連續流反應器中段和末段,實現了顆粒污泥在連續流反應器內的均勻成粒與分布。裝置在連續流反應器好氧段流向的長度占比應介于20%-30%,實現了連續流反應器兼具處理功能和顆粒污泥促生功能。
4、本發明提供的一種顆粒污泥促進生成方法,通過控制伸縮桿固定結點可調節伸縮桿的伸縮,以控制左側導流板和右側導流板之間的間距,從而適應不同連續流反應器內的實際條件。
5、本發明提供的一種適用于連續流反應器的顆粒污泥促進生成裝置及方法,經過運行5個月發現,該裝置可將AAO工藝好氧段絮凝污泥完全轉變為顆粒污泥,好氧池內MLSS由2-3g/L升高至5.6g/L;MLVSS由1.2-1.9g/L升高至3.9g/L;SVI30由95mL/g降低至15mL/g。好氧段可以明顯看到顆粒化污泥,污泥粒徑達到0.5-1.2mm,污泥沉降性能明顯增強,出水可達一級A標準。
(發明人:武睿;劉源;張芷琪;王晶惠;張會群;李惠平;龐維海;謝麗;楊殿海)






