公布日:2023.08.01
申請日:2023.04.23
分類號:F23G5/033(2006.01)I;F23G5/24(2006.01)I;F23G5/44(2006.01)I;F23G5/02(2006.01)I
摘要
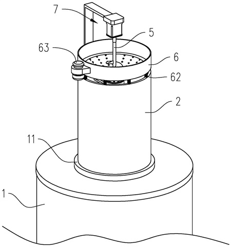
本發明具體為一種污泥焚燒設備和污泥焚燒方法,一種污泥焚燒設備,具有焚燒爐本體,焚燒爐本體頂部設有用于投放污泥的進料口,焚燒爐本體頂部豎直地固定有底部和進料口對應相通的外筒罩,外筒罩內通過間隔布置的第一支架固定安裝有豎直貫通的內筒,內筒與外筒罩同軸;內筒的底端轉動安裝有安裝套座。本發明中通過(6)將污泥進行初次篩分,通過(51)將污泥進行初次破碎,通過(4)和(41)將污泥進行二次粉碎,避免污泥塊過度積聚在進料口處而引起堵塞,保證設備能夠持續焚燒工作,另一方面,能夠使污泥以較小體積的顆粒形態進入焚燒爐本體內進行燃燒,保證污泥能夠被充分完全焚燒,從而將有機物充分分解,提高污泥焚燒處理的質量。

權利要求書
1.一種污泥焚燒設備,具有焚燒爐本體(1),所述焚燒爐本體(1)頂部設有用于投放污泥的進料口(11),其特征在于:所述焚燒爐本體(1)頂部豎直地固定有底部和所述進料口(11)對應相通的外筒罩(2),所述外筒罩(2)內通過間隔布置的第一支架(21)固定安裝有豎直貫通的內筒(3),所述內筒(3)與所述外筒罩(2)同軸;所述內筒(3)的底端轉動安裝有安裝套座(401),所述安裝套座(401)下方固定安裝有錐形罩(4),所述錐形罩(4)凹口朝向整下方,所述外筒罩(2)內位于所述錐形罩(4)的正下方設有向上凸起的錐形盤(41),所述錐形盤(41)與所述錐形罩(4)形狀匹配;所述錐形罩(4)的內壁表面和所述錐形盤(41)的上表面分別均布有豎直狀的粉碎桿(42);所述外筒罩(2)的上端口處設有進料漏斗篩(6),所述進料漏斗篩(6)的底部延伸至所述內筒(3)內,所述進料漏斗篩(6)上均布有漏孔(61);所述安裝套座(401)內通過第三支架(501)固定有軸桿(5),所述軸桿(5)豎直向上延伸至所述進料漏斗篩(6)的上方,所述軸桿(5)外部固定有絞龍葉片(51);所述進料漏斗篩(6)的上方設有驅動機構(7),用于驅動所述軸桿(5)轉動;所述驅動機構(7)包括L形支架(71)、固定座(72)和驅動電機(73);所述L形支架(71)呈倒置狀固定在所述外筒罩(2)外側表面,所述L形支架(71)的懸臂(711)延伸至所述進料漏斗篩(6)的上方,所述固定座(72)固定在所述懸臂(711)的端部上;所述驅動電機(73)固定在所述固定座(72)的底部,所述驅動電機(73)的輸出軸對應與所述軸桿(5)上端部固定連接;所述外筒罩(2)的上端呈環形整列安裝有豎直設置的支撐彈簧(62),所述支撐彈簧(62)的頂端分別與所述進料漏斗篩(6)固定連接;所述進料漏斗篩(6)的外表面一側固定安裝有振動電機(63);所述進料漏斗篩(6)的下端與所述內筒(3)內壁之間存在縫隙;所述進料漏斗篩(6)下端外部套接有橡膠圈(64),所述橡膠圈(64)外表面與所述內筒(3)的內壁抵觸;所述內筒(3)內位于所述錐形盤(41)的下方通過第二支架(22)豎直地固定安裝有電動推缸(411);所述錐形罩(4)固定安裝在所述電動推缸(411)的伸縮桿(4111)端部上;所述錐形罩(4)和所述錐形盤(41)上的所述粉碎桿(42)呈交錯布置;所述粉碎桿(42)的外側表面局部有呈尖角狀的研磨齒(421);所述第三支架(501)呈向四側輻射的鏤空狀,所述軸桿(5)的底端固定在所述第三支架(501)上表面中間處。
2.一種污泥焚燒方法,采用權利要求1中的所述污泥焚燒設備,其特征在于,包括以下步驟:步驟一:初步篩分將脫水處理后的污泥經干燥后投放至所述進料漏斗篩(6)內,經所述進料漏斗篩(6)篩分后,小顆粒污泥粒穿過所述漏孔(61)并依次經所述內筒(3)、所述進料口(11)直接掉落至所述焚燒爐本體(1)內進行燃燒,大顆粒及成塊的污泥向中間聚攏匯集,實現污泥的初步篩分;步驟二:初次破碎所述驅動機構(7)工作帶動所述軸桿(5)、所述絞龍葉片(51)轉動,所述步驟一中匯聚的大顆粒及成塊的污泥,經轉動的所述絞龍葉片(51)沿所述內筒(3)向下輸送,在輸送的過程中,通過所述絞龍葉片(51)將污泥塊進行初次破碎,形成小顆粒污泥或小體積污泥塊;步驟三:二次破碎經所述步驟二形成的小顆粒污泥或小體積污泥塊經所述絞龍葉片(51)的輸送會落至所述錐形罩(4)和所述錐形盤(41)之間,小顆粒污泥直接掉入所述焚燒爐本體(1)內進行焚燒,所述軸桿(5)帶動所述錐形罩(4)轉動,從而帶動所述粉碎桿(42)對小體積污泥塊進行二次粉碎,形成污泥小顆粒,最終落入所述焚燒爐本體(1)內進行焚燒。
發明內容
本發明的目的在于提供一種保證污泥充分燃燒、防止入料口堵塞的污泥焚燒設備和污泥焚燒方法。
為實現上述目的,本發明提供如下技術方案。
一種污泥焚燒設備,具有焚燒爐本體,焚燒爐本體頂部設有用于投放污泥的進料口,焚燒爐本體頂部豎直地固定有底部和進料口對應相通的外筒罩,外筒罩內通過間隔布置的第一支架固定安裝有豎直貫通的內筒,內筒與外筒罩同軸;內筒的底端轉動安裝有安裝套座,安裝套座下方固定安裝有錐形罩,錐形罩凹口朝向整下方,外筒罩內位于錐形罩的正下方設有向上凸起的錐形盤,錐形盤與錐形罩形狀匹配;錐形罩的內壁表面和錐形盤的上表面分別均布有豎直狀的粉碎桿;外筒罩的上端口處設有進料漏斗篩,進料漏斗篩的底部延伸至內筒內,進料漏斗篩上均布有漏孔;安裝套座內通過第三支架固定有軸桿,軸桿豎直向上延伸至進料漏斗篩的上方,軸桿外部固定有絞龍葉片;進料漏斗篩的上方設有驅動機構,用于驅動軸桿轉動
由此可見,本發明利用進料漏斗篩對污泥進行初次篩分,將大顆粒污泥或污泥塊篩選并導入內筒內,通過軸桿帶動絞龍葉片轉動,可將大顆粒污泥或污泥塊向下輸送,在輸送的過程中由絞龍葉片對其進行初次破碎,并形成小顆粒或者小體積污泥塊,通過軸桿帶動錐形盤轉動,帶動上方的粉碎桿與下方的粉碎桿發生相對運動,實現研磨效果,可將小體積污泥塊再次粉碎并形成污泥小顆粒,一方面,可避免污泥塊過度積聚在進料口處而引起堵塞,保證設備能夠持續焚燒工作,另一方面,能夠使污泥以較小體積的顆粒形態進入焚燒爐本體內進行燃燒,保證污泥能夠被充分完全焚燒,從而將有機物充分分解,提高污泥焚燒處理的質量。
進一步的,驅動機構包括L形支架、固定座和驅動電機;L形支架呈倒置狀固定在外筒罩外側表面,L形支架的懸臂延伸至進料漏斗篩的上方,固定座固定在懸臂的端部上;驅動電機固定在固定座的底部,驅動電機的輸出軸對應與軸桿上端部固定連接。
通過利用L形支架和固定座將驅動電機安裝在進料漏斗篩的上方,通過驅動電機工作帶動軸桿轉動,從而帶動絞龍葉片和錐形罩轉動,錐形罩和絞龍葉片共用同一驅動源,更加節能,整體結構布局合理,實用性高。
進一步的,外筒罩的上端呈環形整列安裝有豎直設置的支撐彈簧,支撐彈簧的頂端分別與進料漏斗篩固定連接;進料漏斗篩的外表面一側固定安裝有振動電機。
由于支撐彈簧的彈性效果,為進料漏斗篩提供的活動的能力,通過振動電機工作,帶動進料漏斗篩振動,一方面,將小顆粒污泥從漏孔振落,另一方便,便于污泥塊向中間聚攏,且在聚攏過程中,可將部分污泥塊振散,一舉兩得。
進一步的,進料漏斗篩的下端與內筒內壁之間存在縫隙;進料漏斗篩下端外部套接有橡膠圈,橡膠圈外表面與內筒的內壁抵觸。
進料漏斗篩下端與內筒內壁之間存在空間,因而使進料漏斗篩具備了活動得能夠,方便進行振動篩分,同時利用橡膠圈為進料漏斗篩和內筒之間提供緩沖效果,同時避免在工作時發生過度的異響。
進一步的,內筒內位于錐形盤的下方通過第二支架豎直地固定安裝有電動推缸;錐形罩固定安裝在電動推缸的伸縮桿端部上。
通過電動推缸伸縮工作,伸縮桿可帶動錐形盤相對于錐形罩進行上下移動,實現錐形罩和錐形盤之間的距離調節,通過改變錐形罩和錐形盤之間的距離,便于將污泥塊粉碎成不同大小,滿足實際的使用需要,進一部提升了裝置的實用性。
進一步的,錐形罩和錐形盤上的粉碎桿呈交錯布置;粉碎桿的外側表面局部有呈尖角狀的研磨齒。
在污泥塊通過兩粉碎桿之間時,由于上方粉碎桿與下方粉碎桿發生相對移動,利用研磨齒可提高對污泥塊的破碎效果。
進一步的,第三支架呈向四側輻射的鏤空狀,軸桿的底端固定在第三支架上表面中間處。
呈鏤空狀的第三支架,方便污泥漏至內筒的下方,同時第三支架為軸桿提供的安裝位置。
一種污泥焚燒方法,包括以下步驟:
步驟一:初步篩分
將脫水處理后的污泥經干燥后投放至進料漏斗篩內,經進料漏斗篩篩分后,小顆粒污泥粒穿過漏孔并依次經內筒、進料口直接掉落至焚燒爐本體內進行燃燒,大顆粒及成塊的污泥向中間聚攏匯集,實現污泥的初步篩分;
步驟二:初次破碎
驅動機構工作帶動軸桿、絞龍葉片轉動,步驟一中匯聚的大顆粒及成塊的污泥,經轉動的絞龍葉片沿內筒向下輸送,在輸送的過程中,通過絞龍葉片將污泥塊進行初次破碎,形成小顆粒污泥或小體積污泥塊;
步驟三:二次破碎
經步驟二形成的小顆粒污泥或小體積污泥塊經絞龍葉片的輸送會落至錐形罩和錐形盤之間,小顆粒污泥直接掉入焚燒爐本體內進行焚燒,軸桿帶動錐形罩轉動,從而帶動粉碎桿對小體積污泥塊進行二次粉碎,形成污泥小顆粒,最終落入焚燒爐本體內進行焚燒。
(發明人:曾祥霖;戴財勝;王慶霞)






