公布日:2024.02.27
申請日:2024.01.11
分類號:B01D36/02(2006.01)I;B01D29/64(2006.01)I;B01D29/94(2006.01)I
摘要
本發明涉及污水處理技術領域,尤其是提供了一種用于污水分離的處理設備,包括處理倉,所述處理倉的進料側設有進污管,所述處理倉的出料側設有排污管,所述處理倉的內腔上方設有接近所述排污管的連接軸,所述處理倉內設有分離倉,所述處理倉內腔底部設有接近所述進污管下方的攔截板組件,所述攔截板組件將所述處理倉的內腔分隔成位于出料側的污水腔和位于進料側的活動腔,所述分離倉的底面一端轉接在所述連接軸上并遮蓋在所述污水腔上,隨著污濁物從分離倉上排放完畢后,分離倉右側的偏重將會小于攔截板的支撐力,攔截板在彈性件向上回彈作用下再次上升,并在再次上升的同時將分離倉再次拖舉到水平狀態上,因此分離倉的自動復位也實現了自動。

權利要求書
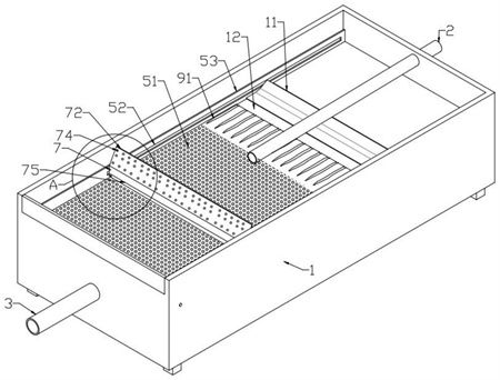
1.一種用于污水分離的處理設備,其特征在于,包括處理倉(1),所述處理倉(1)的進料側設有進污管(2),所述處理倉(1)的出料側設有排污管(3),所述處理倉(1)的內腔上方設有接近所述排污管(3)的連接軸(4),所述處理倉(1)內設有分離倉(5),所述處理倉(1)內腔底部設有接近所述進污管(2)下方的攔截板組件(6),所述攔截板組件(6)將所述處理倉(1)的內腔分隔成位于出料側的污水腔(101)和位于進料側的活動腔(102),所述分離倉(5)的底面一端轉接在所述連接軸(4)上并遮蓋在所述污水腔(101)上,所述分離倉(5)的底面另一端支撐在所述攔截板組件(6)上并延伸至遮蓋在所述活動腔(102)上,所述分離倉(5)的內腔底面為過濾網板(51),所述分離倉(5)的兩側開設有滑軌(52),所述分離倉(5)內通過滑軌(52)安裝有配重座(7);所述進污管(2)的出水口接近所述配重座(7),所述配重座(7)為開設有若干個過濾孔(74)的實心座,所述過濾孔(74)面向所述進污管(2)的出水口,所述進污管(2)朝向所述配重座(7)的方向逐漸向下傾斜,所述配重座(7)的頂端設有朝向所述進污管(2)出水口方向傾斜的導流板(72),所述進污管(2)的底部與所述過濾網板(51)之間形成反沖空間(73),所述導流板(72)高于所述反沖空間(73)并高于所述進污管(2)的出水口;所述分離倉(5)繞著所述連接軸(4)向上旋轉至處于水平時,使得所述配重座(7)沿著所述過濾網板(51)滑行至位于所述污水腔(101)的上方并接近所述連接軸(4);所述分離倉(5)繞著所述連接軸(4)向下旋轉至朝向于所述活動腔(102)的一端傾斜時,使得所述配重座(7)沿著所述過濾網板(51)滑行至所述活動腔(102)內,所述處理倉(1)的進料側靠下位置上鉸接有門板(8),所述配重座(7)面向于所述門板(8)的一端設有接觸在所述過濾網板(51)頂面上的清理板(71),所述配重座(7)滑行至所述活動腔(102)內時通過所述清理板(71)將所述門板(8)開啟;所述攔截板組件(6)由外部套筒(61)、上下滑動在所述外部套筒(61)內的攔截板(62)以及支撐在所述攔截板(62)底端與所述外部套筒(61)底面之間的彈性件(63)組成,所述攔截板(62)的頂面支撐在所述過濾網板(51)的底面上。
2.根據權利要求1所述的一種用于污水分離的處理設備,其特征在于,所述過濾網板(51)上的網孔區域僅涉及在所述污水腔(101)的上方且接近所述攔截板(62)。
3.根據權利要求1所述的一種用于污水分離的處理設備,其特征在于,所述過濾網板(51)的頂面上安裝有用于使所述分離倉(5)構成倉腔結構的圍擋(53),所述圍擋(53)靠近出料側的一端閉合,所述圍擋(53)靠近進料側的一端接近所述門板(8)并且開放。
4.根據權利要求1所述的一種用于污水分離的處理設備,其特征在于,所述過濾網板(51)的底面上設有導流座(9),所述導流座(9)的頂面與所述過濾網板(51)上的網孔相通,所述導流座(9)的底面上設有朝著所述污水腔(101)的出水側方向朝下傾斜的導流孔(91)。
5.根據權利要求2所述的一種用于污水分離的處理設備,其特征在于,所述過濾網板(51)的頂面上安裝有攔截在所述導流孔(91)頂部上方的柔性板(11),所述柔性板(11)向上彎曲,所述過濾網板(51)的頂面上開設有沉槽(12),所述柔性板(11)的底端連接在所述沉槽(12),內,所述柔性板(11)向下彎曲后能夠平放在所述沉槽(12)內并與所述過濾網板(51)的頂面齊平。
6.根據權利要求2所述的一種用于污水分離的處理設備,其特征在于,所述污水腔(101)的頂部固定有載桿(10),所述過濾網板(51)的底面支撐在所述載桿(10)上。
7.根據權利要求3所述的一種用于污水分離的處理設備,其特征在于,所述配重座(7)的底端開設有鉸接槽(75),所述鉸接槽(75)內安裝有轉輥(76),所述轉輥(76)滾動接觸在所述過濾網板(51)的頂面上。
8.根據權利要求5所述的一種用于污水分離的處理設備,其特征在于,所述清理板(71)向下彎曲并遮蓋在所述轉輥(76)的前側。
發明內容
本發明要解決的技術問題是:通過在處理倉內設置分離倉,可使污濁物從污水中前提分離,分離倉能夠將攔截的污濁物處動清理。
本發明的技術方案是,一種用于污水分離的處理設備,包括處理倉,所述處理倉的進料側設有進污管,所述處理倉的出料側設有排污管,所述處理倉的內腔上方設有接近所述排污管的連接軸,所述處理倉內設有分離倉,所述處理倉內腔底部設有接近所述進污管下方的攔截板組件,所述攔截板組件將所述處理倉的內腔分隔成位于出料側的污水腔和位于進料側的活動腔,所述分離倉的底面一端轉接在所述連接軸上并遮蓋在所述污水腔上,所述分離倉的底面另一端支撐在所述攔截板組件上并延伸至遮蓋在所述活動腔上,所述分離倉的內腔底面為過濾網板,所述分離倉的兩側開設有滑軌,所述分離倉內通過滑軌安裝有配重座;
所述進污管的出水口接近所述配重座,所述配重座為開設有若干個過濾孔的實心座,所述過濾孔面向所述進污管的出水口,所述進污管朝向所述配重座的方向逐漸向下傾斜,所述配重座的頂端設有朝向所述進污管出水口方向傾斜的導流板,所述進污管的底部與所述過濾網板之間形成反沖空間,所述導流板高于所述反沖空間并高于所述進污管的出水口;
所述分離倉繞著所述連接軸向上旋轉至處于水平時,使得所述配重座沿著所述過濾網板滑行至位于所述污水腔的上方并接近所述連接軸;所述分離倉繞著所述連接軸向下旋轉至朝向于所述活動腔的一端傾斜時,使得所述配重座沿著所述過濾網板滑行至所述活動腔內,所述處理倉的進料側靠下位置上鉸接有門板,所述配重座面向于所述門板的一端設有接觸在所述過濾網板頂面上的清理板,所述配重座滑行至所述活動腔內時通過所述清理板將所述門板開啟;
所述攔截板組件由外部套筒、上下滑動在所述外部套筒內的攔截板以及支撐在所述攔截板底端與所述外部套筒底面之間的彈性件組成,所述攔截板的頂面支撐在所述過濾網板的底面上。
所述過濾網板上的網孔區域僅涉及在所述污水腔的上方且接近所述攔截板。
所述過濾網板的頂面上安裝有用于使所述分離倉構成倉腔結構的圍擋,所述圍擋靠近出料側的一端閉合,所述圍擋靠近進料側的一端接近所述門板并且開放。
所述過濾網板的底面上設有導流座,所述導流座的頂面與所述過濾網板上的網孔相通,所述導流座的底面上設有朝著所述污水腔的出水側方向朝下傾斜的導流孔。
所述過濾網板的頂面上安裝有攔截在所述導流孔頂部上方的柔性板,所述柔性板向上彎曲,所述過濾網板的頂面上開設有沉槽,所述柔性板的底端連接在所述沉槽,內,所述柔性板向下彎曲后能夠平放在所述沉槽內并與所述過濾網板的頂面齊平。
所述污水腔的頂部固定有載桿,所述過濾網板的底面支撐在所述載桿上。
所述配重座的底端開設有鉸接槽,所述鉸接槽內安裝有轉輥,所述轉輥滾動接觸在所述過濾網板的頂面上。
本發明相比于現有技術的有益效果是:在處理倉內設置了分離倉,分離倉的過濾網板上設置了在其朝著排料口方向偏轉時,能夠朝著排料口方向滑行的配重座,當攔截在過濾網板上的污濁物的重量導致分離倉向著出料側方向偏下旋轉時,配重座也會因分離倉右下偏轉而向右滑行,由于配重座的底端開設有鉸接槽,且鉸接槽內安裝有轉輥,并且轉輥滾動接觸在過濾網板的頂面上,因此配重座將會以加速度的方式向右滑行,并在向右滑行的同時推動著清理板向右滑行,利用清理板的朝右滑行動作,把攔截在過濾網板上的污濁物向右清理,由于清理板是以加速度的方式朝右下方向滑行,因此將其利用其右端推動著污濁物將門板推開,門板采用彈性合頁鉸接的方式設置在處理倉的右側排料口上,因此門板被推開的同時也相當于這些污濁物向外清理時,門板的開啟動作,以及污濁物的向外排放動作均為自動,沒有額外增設電動門也沒有額外增設帶動分離倉自動偏轉的電機等,并且分離倉本身也是用來攔截污濁物的,使其根據污濁物重量實現的自動偏轉排放動作。隨著污濁物從分離倉上排放完畢后,分離倉右側的偏重將會小于攔截板的支撐力,攔截板在彈性件向上回彈作用下再次上升,并在再次上升的同時將分離倉再次拖舉到水平狀態上,因此分離倉的自動復位也實現了自動。
(發明人:林維帥;謝璀;牛作升;詹逸鴻;黃加俊)






