公布日:2023.07.25
申請日:2023.03.27
分類號:C02F11/04(2006.01)I;C02F101/30(2006.01)N
摘要
本發明公開了一種生化剩余污泥減量的厭氧裝置,涉及有機污泥處理技術領域,包括從下向上依次設置的無機污泥沉淀區、泥水混合區、厭氧反應區、泥水分離區和清水區,清水區設有出水堰。本發明通過分區分別對廢水中的不同污染物因子進行分區重點處理,同時通過回流等方法,穩定進水水量,提高厭氧消化的抗沖擊負荷能力,設置減速區使有機污泥充分分解,且采用斜管沉淀,延長沉淀時間,提高了沉淀效率。

權利要求書
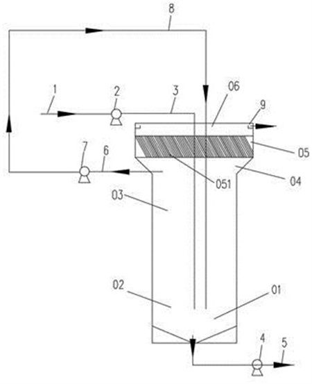
1.一種生化剩余污泥減量的厭氧裝置,包括從下向上依次設置的無機污泥沉淀區(01)、泥水混合區(02)、厭氧反應區(03)、泥水分離區(05)和清水區(06),所述清水區(06)設有出水堰(9),其特征在于:所述厭氧反應區(03)和泥水分離區(05)之間還設有減速區(04),所述減速區(04)用于降低流速,所述泥水分離區(05)內設有斜管(051);所述厭氧裝置還設有回流系統、供給系統和排泥系統;所述回流系統一端連通所述泥水混合區(02),另一端連通所述減速區(04);所述供給系統進口直通泥水混合區(02),所述排泥系統設在所述厭氧裝置底部,并連通所述無機污泥沉淀區(01)。
2.根據權利要求1所述的生化剩余污泥減量的厭氧裝置,其特征在于:所述回流系統包括回流管(6)、回流泵(7)和回流布水管(8),所述回流管(6)通過所述回流泵(7)與所述回流布水管(8)連通,所述回流管(6)連通所述減速區(04),所述回流布水管(8)連通所述泥水混合區(02)。
3.根據權利要求1所述的生化剩余污泥減量的厭氧裝置,其特征在于:所述供給系統包括污泥進水管(1)、提升泵(2)和布水管(3),所述污泥進水管(1)通過所述提升泵(2)與所述布水管(3)連通,所述布水管(3)連通所述泥水混合區(02)。
4.根據權利要求1所述的生化剩余污泥減量的厭氧裝置,其特征在于:所述排泥系統包括連通所述無機污泥沉淀區(01)的排泥管(5)以及安裝在排泥管(5)上的排泥泵(4)。
5.一種生化剩余污泥減量的厭氧裝置的應用方法,其特征在于,包括如下步驟:S01、提升泵(2)開啟,生化剩余污泥由污泥進水管(1)進入布水管(3),在泥水混合區(02)內均勻布水,泥水水流保持一定的上升流速由下向上流動,而無機污泥因重力因素沉淀入無機污泥沉淀區(01);S02、泥水水流上升過程中,首先進入泥水混合區(02)并在泥水混合區(02)進行初步厭氧反應;S03、泥水水流繼續上升進入厭氧反應區(03),厭氧細菌在厭氧反應區(03)大量繁殖,有機污泥在該區充分分解;S04、經過厭氧反應區(03)的泥水繼續上升,經過減速區(04),泥水減速后上升流速降低;S05、經過減速區(04)后的泥水水流繼續上升進入泥水分離區(05),泥水分離區(05)內密集的設有多個斜管(051),通過斜管(051)延長污泥上升時間,從而使污泥再次沉淀S06、經過泥水分離區(05)的泥水分離出污泥及上清液廢水,上清液廢水停留在清水區(06),污泥則再次進入減速區(04);S07、回流泵(7)通過回流管(6)抽取減速區(04)的泥水進入回流布水管(8),回流泥水再次進入泥水混合區(02),回流泥水與原泥水在泥水混合區(02)進行充分混合并向上流,且加大了上升流速;S08、水流上升過程中再依次進入泥水混合區(02)、厭氧反應區(03)、減速區(04)和泥水分離區(05),再次重復步驟S02至S06的過程,如此泥水在所述厭氧裝置內不斷循環反應;S09、循環一定周期后,提升泵(2)、回流泵(7)關閉,靜置1個小時后,清水區(06)的上清液通過出水堰(9)排出,然后排泥泵(4)開啟,通過排泥管(5)將污泥排出,進行下一步處理;S10、排泥完畢后,提升泵(2)、回流泵(7)開啟再次不斷循環處理。
6.根據權利要求5所述的生化剩余污泥減量的厭氧裝置的應用方法,其特征在于,所述厭氧反應區(03)分為底部1/3區域和上部2/3區域,所述底部1/3區域上升流速較低,將有機污泥中的長鏈污染物經過水解厭氧反應,生成短鏈的污染物,所述上部2/3區域上升流速較高,污泥濃度高,將污染物進一步分解為二氧化碳和水。
發明內容
本發明提供的生化剩余污泥減量的厭氧裝置,旨在解決現有技術中存在的問題。
為了實現上述技術目的,本發明主要采用如下技術方案:一種生化剩余污泥減量的厭氧裝置,包括從下向上依次設置的無機污泥沉淀區、泥水混合區、厭氧反應區、泥水分離區和清水區,所述清水區設有出水堰;所述厭氧反應區和泥水分離區之間還設有減速區,所述減速區用于降低流速,所述泥水分離區內設有斜管;所述厭氧裝置還設有回流系統、供給系統和排泥系統;所述回流系統一端連通所述泥水混合區,另一端連通所述減速區;所述供給系統進口直通泥水混合區,所述排泥系統設在所述厭氧裝置底部,并連通所述無機污泥沉淀區。
進一步的,所述回流系統包括回流管、回流泵和回流布水管,所述回流管通過所述回流泵與所述回流布水管連通,所述回流管連通所述減速區,所述回流布水管連通所述泥水混合區。
進一步的,所述供給系統包括污泥進水管、提升泵和布水管,所述污泥進水管通過所述提升泵與所述布水管連通,所述布水管連通所述泥水混合區。
進一步的,所述排泥系統包括連通所述無機污泥沉淀區的排泥管以及安裝在排泥管上的排泥泵。
一種生化剩余污泥減量的厭氧裝置的應用方法,包括如下步驟:S01、提升泵開啟,生化剩余污泥由污泥進水管進入布水管,在泥水混合區內均勻布水,泥水水流保持一定的上升流速由下向上流動,而無機污泥因重力因素沉淀入無機污泥沉淀區。
S02、泥水水流上升過程中,首先進入泥水混合區并在泥水混合區進行初步厭氧反應。
S03、泥水水流繼續上升進入厭氧反應區,厭氧細菌在厭氧反應區大量繁殖,有機污泥在該區充分分解。
S04、經過厭氧反應區的泥水繼續上升,經過減速區,泥水減速后上升流速降低。
S05、經過減速區后的泥水水流繼續上升進入泥水分離區,泥水分離區內密集的設有多個斜管,通過斜管延長污泥上升時間,從而使污泥再次沉淀S06、經過泥水分離區的泥水分離出污泥及上清液廢水,上清液廢水停留在清水區污泥則再次進入減速區。
S07、回流泵通過回流管抽取減速區的泥水進入回流布水管,回流泥水再次進入泥水混合區,回流泥水與原泥水在泥水混合區進行充分混合并向上流,且加大了上升流速。
S08、水流上升過程中再依次進入泥水混合區、厭氧反應區、減速區和泥水分離區,再次重復步驟S02至S06的過程,如此泥水在所述厭氧裝置內不斷循環反應。
S09、循環一定周期后,提升泵、回流泵關閉,靜置1個小時后,清水區的上清液通過出水堰排出,然后排泥泵開啟,通過排泥管將污泥排出,進行下一步處理。
S10、排泥完畢后,提升泵、回流泵開啟再次不斷循環處理。
進一步的,所述厭氧反應區分為底部1/3區域和上部2/3區域,所述底部1/3區域上升流速較低,將有機污泥中的長鏈污染物經過水解厭氧反應,生成短鏈的污染物,所述上部2/3區域上升流速較高,污泥濃度高,將污染物進一步分解為二氧化碳和水。
與現有技術相比,本發明的有益效果為:1、本發明通過分區分別對廢水中的不同污染物因子進行分區重點處理,同時回流系統可穩定進水水量,提高厭氧消化的抗沖擊負荷能力,且采用斜管沉淀,延長沉淀時間,提高了沉淀效率。
2、本發明通過設置減速區,降低厭氧反應裝置上部的上升流速,富集污泥,回流污泥濃度高,一方面保持裝置內的污泥濃度,同時使裝置內的細菌保持在適宜的環境生長,最終達到在厭氧過程中分解生化剩余污泥的目的。
3、本發明通過厭氧減量了生化剩余污泥的含泥量,從而為后繼采用傳統壓泥處理時,延長濾布的清洗周期,減少壓泥機壓泥負荷,節省壓泥費用,節省污泥調理劑。
(發明人:王曄;黃勝海;馮彬;孫建華;豆水仁)






