公布日:2024.12.20
申請日:2024.09.13
分類號:C02F1/52(2023.01)I;C02F1/28(2023.01)I;C02F1/00(2023.01)I;B01F27/90(2022.01)I;B01F35/12(2022.01)I;C02F103/32(2006.01)N
摘要
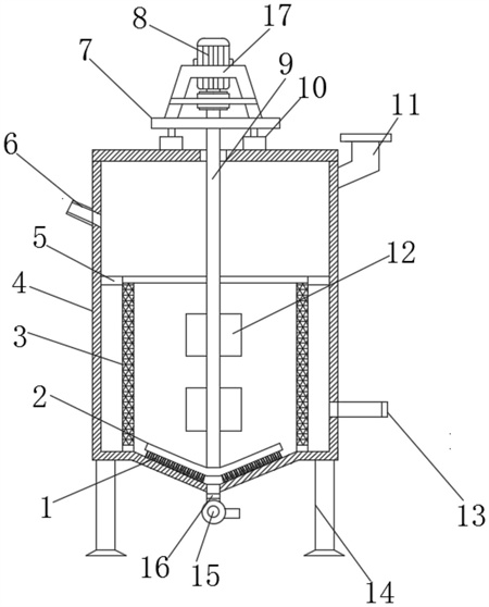
本發明公開了一種冰淇淋生產廢水處理裝置,屬于污水裝置技術領域,包括箱體,所述箱體的底部設置成錐形,所述箱體的左側壁設置有進水管,所述箱體的右側壁設置有絮凝劑進口,所述箱體的內部中心處設置有轉動軸,所述轉動軸的下端設置有刮板,所述刮板設置成“V”形,所述刮板的下端表面設置有毛刷,本發明通過電動機帶動轉動軸轉動帶動刮板以及毛刷對沉積在箱體底部的沉淀污垢進行清刷,使之箱體保持潔凈,清理沉淀污垢方便快捷,另一方面電動機帶動轉動軸轉動,從而帶動攪拌板攪拌使污水與絮凝劑加快反應,加快反應速率,從而提高污水處理凈化效率。

權利要求書
1.一種冰淇淋生產廢水處理裝置,包括箱體(4),其特征在于:所述箱體(4)的底部設置成錐形,所述箱體(4)的左側壁設置有進水管(6),所述箱體(4)的右側壁設置有絮凝劑進口(11),所述箱體(4)的內部中心處設置有轉動軸(9),所述轉動軸(9)的下端設置有刮板(2),所述刮板(2)設置成“V”形,所述刮板(2)的下端表面設置有毛刷(1),所述轉動軸(9)的上端貫穿箱體(4)且連接有電動機(8)輸出端,所述箱體(4)的右側壁底端設置有出水管(13),所述箱體(4)的底部設置有出口管(15)。
2.根據權利要求1所述的一種冰淇淋生產廢水處理裝置,其特征在于:所述電動機(8)的外部設置有固定架(17),所述固定架(17)的下端設置有固定板(7),所述固定板(7)的下端設置有電動推桿(10),所述電動推桿(10)的下端固定在箱體(4)頂端表面,所述轉動軸(9)的表面設置有攪拌板(12)。
3.根據權利要求1所述的一種冰淇淋生產廢水處理裝置,其特征在于:所述箱體(4)的內部設置有限位環板(5),所述限位環板(5)內設置有吸附網筒(3)。
4.根據權利要求1所述的一種冰淇淋生產廢水處理裝置,其特征在于:所述出口管(15)的下端口連接有污泥泵(16)。
5.根據權利要求1所述的一種冰淇淋生產廢水處理裝置,其特征在于:所述箱體(4)的下端設置有支腳(14)。
6.根據權利要求3所述的一種冰淇淋生產廢水處理裝置,其特征在于:所述吸附網筒(3)的上下端連接有環板。
發明內容
本發明提供了一種冰淇淋生產廢水處理裝置,以解決上述背景技術中提到的問題。
為實現上述目的,本發明提供如下技術方案:一種冰淇淋生產廢水處理裝置,包括箱體,所述箱體的底部設置成錐形,所述箱體的左側壁設置有進水管,所述箱體的右側壁設置有絮凝劑進口,所述箱體的內部中心處設置有轉動軸,所述轉動軸的下端設置有刮板,所述刮板設置成“V”形,所述刮板的下端表面設置有毛刷,所述轉動軸的上端貫穿箱體且連接有電動機輸出端,所述箱體的右側壁底端設置有出水管,所述箱體的底部設置有出口管。
優選的,所述電動機的外部設置有固定架,所述固定架的下端設置有固定板,所述固定板的下端設置有電動推桿,所述電動推桿的下端固定在箱體頂端表面,所述轉動軸的表面設置有攪拌板。
優選的,所述箱體的內部設置有限位環板,所述限位環板內設置有吸附網筒。
優選的,所述出口管的下端口連接有污泥泵。
優選的,所述箱體的下端設置有支腳。
優選的,所述吸附網筒的上下端連接有環板。
與現有技術相比,本發明的有益效果是:
本發明通過電動機帶動轉動軸轉動帶動刮板以及毛刷對沉積在箱體底部的沉淀污垢進行清刷,使之箱體保持潔凈,清理沉淀污垢方便快捷,另一方面電動機帶動轉動軸轉動,從而帶動攪拌板攪拌使污水與絮凝劑加快反應,加快反應速率,從而提高污水處理凈化效率。
(發明人:張維娜)






