1 引言
城市污水處理廠每天產生大量的污泥,因具有水分高(達80%以上)、體積龐大、容易腐化發臭等特點而導致其難處理.隨著市政污泥及工業污泥產量逐年遞增,歐盟很多國家已經制定并實施了相關環境法令,嚴禁含有可生物降解有機物的污泥進行填埋,鼓勵對其進行焚燒處理.我國環保部出臺的《城鎮污水處理廠污泥處理處置污染防治最佳可行技術指南(試行)》(2010年)及《污水處理廠污泥處理處置最佳可行技術導則(征求意見稿)》(2008年)中明確把污泥焚燒作為我國污泥處理處置最佳可行技術之一,該方法是一種具有減量化、無害化、資源化及回收能源等優點的污泥處置技術,但目前各類機械脫水后污泥含水率比較高,導致污泥摻燒實施困難.
為了對污泥進行有效的深度脫水,常使用物理和化學調理法對污泥進行預處理.化學調理法因操作簡便、價格低廉、效果顯著成為最常用的方法之一,其中,常用的化學調理劑包括無機混凝劑(如FeCl3、CaO、AlCl3等,其加入量為污泥干固體量的5%~20%)、有機高分子混凝劑(PAM等,其加入量為污泥干固體量的0.1%~0.3%)和微生物混凝劑等.由于單一化學調理劑往往難以使污泥脫水達到理想的效果,近年來,國內外學者嘗試使用復合型調理劑或者把多種調理劑聯用,來提高污泥深度脫水性能,其中,最常見的是CaO與鐵鹽、鋁鹽交配使用.可見,調理劑的應用可以有效降低污泥的含水率,這意味著未來污泥處理的對象多為深度脫水后的污泥.
我國"十二五"規劃規定城市污水處理廠污泥含水率必須低于60%才能外運,這勢必導致添加大量調理劑才能滿足這一要求,但調理劑的加入會不同程度地影響污泥的熱化學性質. Xu等研究發現,污泥中CaO的添加能固定 CO2,并使H2的產量增加;Vriginie等在污泥熱解中加入鐵鹽,發現其具有催化作用;Folgueras等研究表明,不同的調理劑會不同程度地改變礦質元素含量及存在形態,但目前關于深度脫水后污泥焚燒過程中調理劑的熱化學轉化行為研究卻鮮見報道.
根據重金屬的揮發-凝結理論,深度脫水污泥焚燒過程中添加的含Cl化合物調理劑易與重金屬發生反應,會生成沸點低的重金屬氯化物,從而導致重金屬的大量逸出.Tang等研究表明,在800 ℃時,污泥加入氯化物后Pb和Zn的揮發率能增加15%~20%,而Cu和Cr的揮發率僅增加3%~5%;Han等研究發現,污泥添加CaCl2后,重金屬從氣相轉為固相可劃分3個溫度范圍;李潤東等研究發現,污泥在流化床焚燒過程中NaCl的添加會導致重金屬固化率的降低;張巖等也證實了向污泥中添加5%~20%的PVC會導致焚燒過程中重金屬揮發率的增加,但有關污泥焚燒過程中含Cl調理劑對重金屬遷移轉化行為的影響還不清楚.
事實上,深度脫水污泥焚燒過程中外加的調理劑CaO會影響含Cl調理劑與重金屬之間的化學作用,導致重金屬遷移轉化及揮發逸出的復雜化.Chen等研究表明,垃圾焚燒過程中無機氯存在時,CaO對重金屬的吸附脫除能力有所提高,而有機氯的存在會導致其吸附能力下降;Ho等研究表明,Cl及S共存情況下,石灰石、鋁土礦、沸石3種吸附劑可以提高重金屬的捕獲效率,這與Chen等的結論并不一致;而Kuo等研究證實,CaO對Pb、Cd、Cr的揮發抑制作用要受Cl/S/Na的綜合影響.基于污泥常常與煤進行摻燒處理的事實,含S化合物又可改變深度脫水污泥焚燒過程中重金屬遷移行為途徑,但目前關于S存在條件下FeCl3和CaO共同作用對重金屬的熱化學行為影響尚未見報道.事實上,深度脫水污泥焚燒體系中,Cl可以和重金屬(HMs)直接發生化學作用,從而影響CaO與重金屬之間的化學作用進程,但調理劑FeCl3/CaO與硫化物共存條件下,污泥焚燒過程中重金屬的遷移轉化行為如何?這在以前的研究中并未涉及.
目前,實驗室中多采用模擬爐排爐及流化床的焚燒裝置追蹤重金屬的遷移轉化行為,但污泥摻燒過程中受到部分測量手段限制,到目前為止,通過實驗手段還不能準確獲得整個溫度范圍內及各個條件交互下有關HMs的遷移轉化行為.針對上述問題,本文利用熱力學平衡計算模型預測添加無機調理劑情況下,深度脫水污泥焚燒過程中典型調理劑(CaO、FeCl3、AlCl3、FeSO4、Fe2(SO4) 3)的熱轉化過程,并重點考察S、CaO、FeCl3耦合作用對重金屬遷移及逸出行為的影響,為有效控制深度脫水污泥焚燒煙氣中酸性氣體、重金屬的排放及減小焚燒底渣資源化利用時重金屬的毒害影響提供科學依據.
2 燃燒體系熱力學平衡分析方法
污泥焚燒過程屬于多相多組分的化學反應過程,在一定的溫度、壓力和原始反應物(指進入燃燒裝置中的空氣、污泥及輔助燃料等)的條件下,將整個裝置看作封閉的理想反應體系,分析在此條件下整個污泥焚燒體系達到熱力學平衡狀態時各物質的組成、濃度及聚集狀態(氣相g和固相s).
在化學熱力學中處理復雜體系的化學平衡較常用的是平衡常數法和Gibbs最小自由能法.Gibbs自由能最小法是使用最久的化學平衡與相平衡同時求解的計算方法,這種方法的最大缺點就是收斂性不高,對初值要求嚴格.所以對復雜體系的計算難有通用性,編制適用于某一體系的計算程序,很難應用到另一體系的計算.目前,用于模擬燃煤過程中微量元素遷移轉化的商業化熱力學軟件包主要有:NASA-CEA、FACT、MTDATA、MINGT-SYS、SOLGASM IX、STANJAN、ALEXE、GEMINI等.Frandsen等(2002)比較了MINGYS、NASA-CET89、FACT、SOLGASMIX 4種不同的熱力學軟件包,發現4種軟件包對微量元素的平衡分布預測幾乎相同,而對于Cd、Cr、Ni和Pb,4種軟件包的輸出結果不同,這種差異可能是由于不同的熱力學軟件包所使用的數據處理技術、收斂標準或熱力學數據不同造成的.Yan等評價了 SOLGASMIX、ALEX和GEMINI3種軟件包的特點和使用范圍.SOLGASMIX 軟件對計算簡單熱力學體系很有效,然而對于含多個元素的復雜體系(比如超過20個元素),則因為需要人工輸入數據庫,低溫時收斂困難,導致求解困難;ALEX 中關于主量和次量元素的數據很全,關于微量元素的數據則較缺乏.Frandsen等介紹了GFEDBASE(Gibbs FreeEnergy DataBASE)數據庫,其中包含33種微量元素,大約800種化學形態的熱力學數據.ALEX 自帶數據庫包括30種次量元素和微量元素的600種純凝聚相、液相、氣相和固相物質的熱力學數據.FACT 系統自帶包含有6000種無機物質組分的熱力學特性的數據庫FACTBASE,數據完備,功能強大.
本文采用的化學熱力學計算軟件FACTsage 6.3計算程序,即是基于Gibbs最小自由能法:在等溫等壓條件下以體系的Gibbs自由能最小作為平衡判據,利用Lagrange待定系數法求解此時各組分的組成和濃度.在一定溫度、壓力下,空氣、污泥等原始反應物質加入污泥焚燒裝置中進行各種復雜的化學反應,當體系達到化學平衡時,整個體系的Gibbs自由能為最小,在此平衡條件下計算污泥焚燒體系內各種氣態物質和固態物質的組成和分布.應用于污泥焚燒體系平衡計算程序的基本原理見圖 1.

圖 1應用于污泥焚燒的MINGSYS平衡計算原理
用于污泥焚燒中元素的形態轉化及分布預測的平衡體系是把污泥簡化為只含主量元素(C、H、O、N、S、Cl)及調理劑的簡單體系,并假設煙氣中只有理想氣體組成的氣相和純凝聚相的理想模型;采用化學熱力平衡模型進行預報分析時,是否考慮微量元素之間的相互作用,是否考慮微量元素所有可能發生的反應,以及是否考慮在熔融相微量元素與熔融物的結合等均會嚴重地影響模型的預報結果.因此,化學熱力學方法在一些條件下與實驗結果的偏差較大.現在的計算體系已逐漸發展成為包含污泥中多個微量元素、所有主量和次量元素及礦物質在內的復雜體系,目的是為了考慮微量元素間的相互作用及所有可能存在的反應,使理想體系與實際體系預測結果接近.
應強調的是,雖然FACTsage化學熱力學平衡計算軟件可較好地模擬污泥燃燒過程中包括調理劑在內的各物質的熱轉化和分布,但計算結果和真實的污泥燃燒反應過程相比,基于系統Gibbs自由能最小原理的化學熱力學平衡計算仍存在以下局限性(Liu et al.,2015a):1當燃燒區域溫度較高、有足夠的停留時間時,體系可達到化學熱力學平衡狀態;但如果燃燒區域溫度較低,即使有足夠的停留時間,整個體系也無法達到化學熱力學平衡狀態;2在實際燃燒區域,由于混合及傳熱條件的限制,參與燃燒的反應物可能存在一定的溫度梯度及濃度梯度,可以在局部范圍內達到平衡,但整體上難以達到平衡,造成實際燃燒結果和熱力學平衡計算結果有一定的偏差;3實際燃燒過程中可能生成的所有相關化學物質在平衡計算中都必須考慮到,然而由于FACTsage軟件本身的限制,反應產物的數量是有限的,因此,計算結果可能與實際情況產生某些偏差.雖然化學熱力學平衡計算可獲得在理想狀態下各調理劑熱化學轉化及重金屬的遷移行為,但對污泥實際燃燒過程控制重金屬的揮發和排放仍然具有良好指導意義.
3 實驗和計算方法
3.1 污泥采集與成分分析
實驗中所用的污泥有4個取自廣州市區內大型污水處理廠,分別命名為KFQ、DTS、LJ和LD,其具體情況見表 1.DTS、LJ和LD是采用傳統的活性生物污泥處理工藝并且規模較大的3個污水處理廠(占廣州總污水處理量的60%以上),其污泥在廣州市市政污泥中具有一定的代表性.為了更全面地說明城市污泥組成情況,同時采集了廣州某造紙廠(ZZ)和肇慶某污水處理廠(ZQ)2種污泥.
表 1 污水廠基本情況

采用元素分析儀(德國,Elementar Vario EL Ⅲ)測定污泥中元素C、N、H、O、S的含量,采用污泥水浸出-硝酸銀滴定方法測定元素Cl含量,采用X射線熒光光譜儀(日本,Rigaku 100e)測定污泥中礦物質(SiO2、CaO、Al2O3、Fe2O3)的含量,實驗數據見表 2
表 2 污泥樣品的元素和礦物質組成

3.2 計算方法與過程
影響自由能的因素有物質的化學組成和結構、物質的凝聚狀態(氣、液、固)、物質的數量、壓力及焚燒溫度.FACTsage軟件包含污泥所有成分組成的化合物數據庫,輸入各元素的化學符號后,軟件本身會自動選擇所有這些輸入元素之間可能的生成物質,還可以根據經驗人為地去除一些不可能生成的物質;然后輸入各元素或各物質的量,再選擇溫度范圍和壓力及溫度步長等條件進行計算.在計算過程中使用真實污泥組成數據,燃燒溫度條件為400~1800 K,壓力為1.013×105 Pa,過量空氣系數λ=1.2,溫度步長為100 K.
計算中輸入的初始參數數據包括污泥和空氣的主要元素(C、H、O、N、S、Cl),9種單一的重金屬元素(Pb、Cd、Cu、Zn、Cr、Ni、As、Hg、Tl),以及4種調理劑(CaO、FeCl3、AlCl3、FeSO4、Fe2(SO4) 3).為了準確反映城市污泥中重金屬的含量及水平,本文采用2006-2013年間我國城市污泥中重金屬(Cu、Pb、Zn、Cd、Hg、As、Cr、Ni)的統計數值,具體見表 3,取樣品的幾何平均數值為模擬計算初始值;Tl的數據來廣州某水泥窯協調焚燒處置污泥的進料實測值,各元素的數值見表 3.
表 3 污泥中重金屬含量

本文選定的調理劑分別為CaO、FeCl3、AlCl3、Al2(SO4) 3、FeSO4、Fe2(SO4)3,結合污泥添加調理劑實際狀況,計算了污泥焚燒過程中調理劑熱轉化后Ca-Fe-Al及Cl-S的分布特征,同時重點模擬了S-Ca-Cl-Fe元素耦合對重金屬揮發行為的影響,模型計算工況見表 4(調理劑加入量以污泥干固體為基準).
表 4 模型計算工況輸入條件

4 結果與討論
4.1 污泥焚燒過程中不同調理劑的熱化學轉化行為
只考慮污泥中主量元素(C、N、H和O)及單一調理劑(10%Al2(SO4)3、10%Fe2(SO4)3、10%FeSO4、10%AlCl3)存在,在λ=1.2焚燒條件下,調理劑熱分解后特征元素Fe、Cl、S、Al的分布如圖 2所示(其中,s表示固相產物,g表示氣相產物,下同).

圖 2污泥焚燒過程中調理劑的分解及典型元素熱力學平衡分布 (a,b:加10% AlCl3;c,d:加10% Al2(SO4)3;e,f:加10% Fe2(SO4)3;g,h:加10% FeSO4)
從圖 2可見,在焚燒溫度400~1800 K范圍,不同調理劑熱分解與元素轉化差異較大.對于添加含Al調理劑(10%Al2(SO4)3及10%AlCl3)來講,由于Al2(SO4)3及AlCl3易水解,在溫度400~500 K范圍,Al主要以Al2O3(H2O)(s)形式存在(圖 2a,圖 2c);當溫度升高,調理劑Al2(SO4)3在450~850 K溫度范圍內主要以Al2(SO4)3形式存在,但在850~1800 K范圍內,Al主要以Al2O3形式存在,而添加AlCl3則在較寬溫度450~1800 K范圍內都以Al2O3形式存在(圖 2a),這可能是AlCl3比Al2(SO4)3易水解更易生成Al(OH)3所致.
對于添加10%Fe2(SO4)3來講(圖 2e),在400~800 K范圍,Fe主要以Fe2(SO4)3形式存在;但從700 K開始,Fe2(SO4)3開始受熱分解為Fe2O3(s),導致Fe在800~1700 K范圍內主要以Fe2O3(s)形式存在;當溫度超過1600 K,Fe2O3(s)開始向Fe3O4(s)轉化;當溫度超過1700 K時,Fe3O4(s)占主要比例.而添加10%FeSO4后(圖 2g),在400~780 K范圍,Fe主要以由于Fe2O3(s)及Fe2(SO4)3兩種形式存在,其中,Fe2O3(s)約占18%,當溫度超過780 K后,Fe2(SO4)3開始受熱分解向Fe2O3(s)轉化,在900 K時,Fe2(SO4)3分解完全,在900~1800 K范圍內,Fe存在形式與添加調理劑Fe2(SO4)3一致.
從以上分析可見,在污泥焚燒溫度1100~1300 K范圍內,調理劑熱分解后Al、Fe主要以Al2O3(s)、 Fe2O3(s)形式存在;而前期研究表明,污泥焚燒過程中Al2O3(s)及 Fe2O3(s)對重金屬的遷移轉化有重要影響,可以改變重金屬的遷移轉化途徑,如Al2O3與ZnO結合生成ZnAl2O4,導致Zn揮發性降低.
由于S及Cl對重金屬揮發有較大影響,因此,本文也計算了調理劑熱分解后含S及含Cl物質的分布狀況(圖 2b、圖 2d、h、f).對于添加10%含S調理劑Al2(SO4)3、Fe2(SO4)3、FeSO4來講,在400~700 K范圍內,硫化物主要存在形式為Al2(SO4)3及Fe2(SO4)3;當溫度高于700 K時,Al2(SO4)3及Fe2(SO4)3受熱逐漸分解為SO3(g)和SO2(g);在700~900 K范圍,SO3(g)的含量比例大于SO2(g),溫度超過900 K后,SO3(g)逐漸向SO2(g)轉化,在1400 K以后,SO2(g)所占比例超過90%.對于添加10%含Cl調理劑AlCl3來講,在400~500 K范圍內,氯化物主要存在形式為Cl2(g)和HCl(g),當溫度高于500 K時,Cl2(g)開始向HCl(g)轉化,并且HCl(g)的比例開始高于Cl2(g);當溫度高于800 K后,Cl約98%以HCl(g)形式存在.從以上分析可見,在污泥焚燒溫度1100~1300 K范圍內,含Cl及S調理劑熱分解后的氣體成分主要以HCl(g)、SO3(g)及SO2(g)形式逸出.
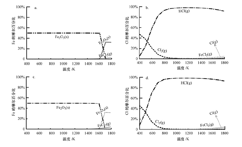
目前,以FeCl3為主要深度脫水調理劑已經取得廣泛的應用,因此,本文模擬了分別添加5%、10%、20%FeCl3條件下的熱分解情況,結果見圖 3.由于FeCl3易于水解,FeCl3首先水解生成Fe(OH)3,然后受熱分解為Fe2O3(s),因此,在焚燒溫度較寬的范圍內(400~1600 K),Fe主要以Fe2O3(s)形式存在.當溫度達到1600 K,此時Fe2O3(s)受熱后開始向Fe3O4(s)轉化,在溫度達到1650 K時,Fe2O3(s)和Fe3O4(s)各占50%,此后,Fe3O4(s)占絕大比例.同時,在1400 K時,有FeCl2(g)氣體逸出,并且隨FeCl3添加比例的增加,FeCl2(g)逸出比例也有增加的趨勢.對于Cl來講,在400~550 K范圍內,Cl主要以Cl2(g)和HCl(g)形式存在,隨著溫度的升高,Cl2(g)開始向HCl(g)轉化,在溫度800~1600 K范圍,HCl(g)占總Cl 約95%.當溫度超過1400 K,此時有少量FeCl2(g)和Cl(g)逸出.

圖 3添加不同含量調理劑FeCl3后污泥焚燒過程中Fe及Cl的熱力學平衡分布 (a,b.加5%FeCl3;c,d.加10%FeCl3;e,f.加20%FeCl3)
4.2 污泥焚燒過程中調理劑FeCl3/CaO的熱交互作用 4.2.1 不同含量FeCl3與10%CaO的熱交互作用
前期研究表明,鐵鹽配合骨架構建體(也稱作物理調理劑,包括石灰、粉煤灰、水泥塵、煤粉等)能有效提高污泥的脫水性能,實現污泥的深度脫水.因此,本文重點模擬了5%~20% CaO和5%~20% FeCl3熱交互作用下典型元素Fe、Ca、Cl的熱轉化特征(圖 4和圖 5).

圖 4同時添加調理劑CaO/FeCl3后污泥焚燒過程中元素Ca、Cl、Fe的熱力學平衡分布 (a,d,g:5%FeCl3+10%CaO;b,e,h:15%FeCl3+10%CaO;c,f,i:20%FeCl3+10%CaO)

圖 5同時添加調理劑FeCl3/CaO后污泥焚燒過程中元素Cl、Ca、Fe的熱力學平衡分布 (a,d,g:10%FeCl3+5%CaO;b,e,h:10% FeCl3+10%CaO;c,f,i:10%FeCl3+20%CaO)
在污泥中添加10%CaO及不同含量(5%、15%、20%)FeCl3條件下,典型元素的熱分布特征見圖 4.在整個焚燒溫度區間,Ca主要以CaCl2(s)、CaCO3(s)、CaO(CaCl2)4(s)、CaFe2O4(s)、Ca2Fe2O5(s)、CaO(s)、 CaCl2(g)形式存在(圖 4a~圖 4c).隨著FeCl3添加量的增大,還可以發現:1CaCO3(s)的比例有增加的趨勢,而CaCl2(s)有減小的趨勢,當加入20%FeCl3時候,在400~1000 K范圍內未出現CaCO3(s);2在800~1200 K范圍,CaO(s)與Fe2O3(s)發生反應會生成CaFe2O4(s);3從1300 K起,Ca部分以CaCl2(g)形式逸出,在1800 K時,CaCl2(g)約占20%;4生成CaO(s)的溫度從1200 K滯后到1300 K,并且CaO(s)生成比例銳減.
焚燒過程中Cl的分布見圖 4d~圖 4f,在整個焚燒溫度區間,Cl主要以CaCl2(s)、CaO(CaCl2)4(s)、HCl(g)、Cl(g)及CaCl2(g)形式存在.當加入5%FeCl3后,400~1000 K范圍內Cl主要以CaCl2(s)存在,并且隨著溫度的升高,CaCl2(s)逐漸分解向HCl(g)轉化;當溫度高于950 K時,Cl主要以HCl(g)和CaO(CaCl2)4(s)形式存在,其中,CaO(CaCl2)4(s)主要在900~1200 K范圍內存在,其他大都以HCl(g)存在;當溫度高于1400 K時,開始有CaCl2及Cl氣體產生.隨著FeCl3添加量的增大,還可以發現:1在溫度1000~1400 K范圍內,CaO(CaCl2)4(s)產生比例越來越小;2在1300~1800 K范圍,Cl(g)及CaCl2(g)的生產比例有所增加.
焚燒過程中Fe的分布見圖 4g~i,在整個焚燒溫度區間,Fe主要以Fe2O3(s)、Ca2Fe2O5(s)、CaFe2O4(s)形式存在.當FeCl3添加量從5%增加到15%后,在800~1100 K范圍內會發生Fe2O3(s)+CaO(s)=CaFe2O4(s)反應,導致生成Ca2Fe2O5(s)所需的溫度提高;當FeCl3添加量從15%增加到20%后,Fe2O3(s)+CaO(s)=CaFe2O4(s)反應會在較寬的溫度(800~1200 K)進行,導致Fe在較寬溫度范圍內以CaFe2O4(s)形式存在.
4.2.2 不同含量CaO與10%FeCl3的熱交互作用
在污泥中添加10%FeCl3及不同含量(5%、10%、20%)CaO條件下,典型元素的熱分布特征見圖 5.焚燒過程中Cl的分布見圖 5a~c,在整個焚燒溫度區間內,Cl主要以CaCl2(s)、CaO(CaCl2)4(s)、HCl(g)、Cl(g)及CaCl2(g)形式存在.當加入5%CaO后,400~1000 K范圍內Cl主要以CaCl2(s)和HCl(g)存在;在溫度為1000 K左右,CaCl2(s)和HCl(g)各占總Cl含量的50%;當溫度高于1000 K后,CaCl2(s)逐漸分解并向CaO(CaCl2)4(s)及HCl(g)轉化,但HCl(g)占有絕對比例.隨著CaO添加量的增大,在溫度1000~1400 K范圍內,生成CaO(CaCl2)4(s)的溫度提前,其所占的比例越來越大.
在整個焚燒溫度區間,Ca主要存在形式為CaCl2(s)、CaCO3(s)、CaO(CaCl2)4(s)、CaFe2O4(s)、Ca2Fe2O5(s)、CaO(s)、CaCl2(g)(圖 5d~f).當加入5%CaO后,400~1000 K范圍內Ca主要以CaCl2(s)存在,并且隨著溫度的升高,CaCl2(s)逐漸分解向CaO(s)轉化,在800~1100 K范圍,有Fe2O3(s)+CaO(s)=CaFe2O4(s)發生,導致CaCl2(s)含量圖 4 同時添加調理劑CaO/FeCl3后污泥焚燒過程中元素Ca、Cl、Fe的熱力學平衡分布(a,d,g:5%FeCl3+10%CaO;b,e,h:15%FeCl3+10%CaO;c,f,i:20%FeCl3+10%CaO急劇下降;在1000~1200 K,由于CaFe2O4(s)和CaO(s)作用,導致Ca2Fe2O5(s)產生,由于Ca2Fe2O5(s)熱性質穩定,其在1000~1800 K都穩定存在.隨著CaO添加量的增大,還可以發現:1在400~1000 K范圍內,CaCO3(s)的比例有增加的趨勢,而CaCl2(s)有減小的趨勢,當加入20%CaO時候,m(CaCO3(s))∶m(CaCl2(s))約為3∶1;2在1200~1800 K范圍內,隨著CaO(s)添加增加,CaCl2(g)有減小的趨勢,當CaO(s)添加量為20%時,未產生CaCl2(g);3在800~1800 K范圍內,隨著CaO(s)添加增加,生成Ca2Fe2O5(s)比例有減小的趨勢.
焚燒過程中Fe的分布見圖 5g~i,在整個焚燒溫度區間,Fe主要以Fe2O3(s)、Ca2Fe2O5(s)、CaFe2O4(s)形式存在.當CaO添加量從5%增加到15%后,在800~1100 K范圍內,未發現CaFe2O4(s)的生成,而Ca2Fe2O5(s)生成溫度提前200 K;當CaO添加量從15%增加到20%,其生成物和溫度區間未見變化.
4.3 污泥焚燒過程中FeCl3/CaO熱交互作用對重金屬揮發的影響 4.3.1 無FeCl3/CaO條件下重金屬的揮發特性
只考慮污泥中C、N、H、O(λ=1.2)焚燒條件下,9種重金屬的遷移轉化特征見圖 6.在焚燒溫度400~1800 K范圍,污泥中Cd主要以CdCO3(s)、CdO(s)、Cd(OH)2(g)、Cd(g)及CdO(g)形式存在(圖 6a).在系統溫度400~550 K范圍內Cd主要以CdCO3(s)形式存在,隨著溫度的升高,CdCO3(s)逐漸轉化為CdO(s),當溫度在600~800 K時,CdO(s)是Cd的最主要形式,當溫度超過700 K后,CdO(s)逐漸向Cd(OH)2(g)轉化,從1000 K開始,Cd(OH)2(g)逐漸熱分解為Cd(g)及CdO(g),其中,Cd(g)在1100~1800 K范圍約占總Cd 的80%~95%,而CdO(g)所占比例較小,約為5%~20%.

圖 6未添加調理劑污泥焚燒過程中重金屬的熱力學平衡分布
在焚燒溫度400~1800 K范圍,污泥中Pb主要以PbCO3(s)、PbO(s)、Pb(g)及PbO(g)形式存在(圖 6b).在系統溫度400~550 K范圍內Pb以PbCO3(s)為主,隨著溫度的升高,PbCO3(s)逐漸轉化為兩種形態的PbO(s),當溫度超過800 K時,開始有PbO(g)產生,并且在950~1800 K內,PbO(g)是Pb的主要存在形式,僅當溫度超過1600 K后,才有小部分Pb(g)逸出.在焚燒溫度400~1800 K范圍,污泥中Cr主要以Cr2O3(s)、CrO(OH)(g)、CrO2(OH)2(g)、CrO2(OH)2(g)、CrO3(g)形態存在(圖 6e).在系統溫度400~1400 K范圍內Cr以Cr2O3(s)為主,隨著溫度的升高,在800 K時,開始有CrO(OH)(g)產生,當溫度超過1400 K時,Cr2O3(s)逐漸轉化為氣態的CrO(OH)(g)、CrO2(OH)2(g)、CrO2(OH)2(g)、CrO3(g),導致Cr在1400 K以后大量揮發.
相比較而言,Cu在400~1200 K范圍內都是以CuO(s)存在,在1200~1500 K內,主要以Cu2O(s)形式存在,但溫度在1400 K時,Cu(g)開始產生,并且在1500 K后Cu(g)占絕對比例,而CuO(g)的比例不到5%(圖 6c).Zn在400~1550 K范圍內都是以ZnO(s)存在,在1400 K時才有Zn(g)產生(圖 6d).Ni在400~1500 K范圍內都是以NiO(s)存在,在1200 K時才有Ni(OH)2(g)產生,在1600~1800 K范圍內有小部分Ni(g)和NiO(g)逸出(圖 6f).
對于易揮發元素As、Hg、Tl來講(圖 6g、h、i),固態化合物As2O3(s)、HgO(s)、Tl2O3(s)分別在400~900 K、400~500 K、400~850 K范圍存在,隨著溫度的升高,這3個元素分別以氣體形式逸出,其中,As在850~1800 K以AsO(g)、As4O6(g)形式揮發,Hg在450~1800 K以Hg(g)、HgO(g)形式揮發,Tl在850~1800 K以Tl(g)形式揮發.
從以上分析可以看出,重金屬在較低的溫度下都是以固態金屬氧化物、碳酸鹽為主;隨著溫度的升高,金屬碳酸鹽會分解;在較高溫條件下重金屬以其氣態金屬單質或者低價氣態金屬氧化物形式而揮發,其中,重金屬Cu、Zn、Ni在整個焚燒體系(400~1400 K)主要以固態存在不易揮發,因而殘留在焚燒底渣當中,這可能與其元素化學性質有關,這與前人的管式爐模擬實驗相吻合.
4.3.2 有調理劑FeCl3/CaO存在條件下重金屬的揮發特性
計算只考慮污泥中主要成分C、N、H、O(λ=1.2)及添加5%復合調理劑FeCl3/CaO條件下,9種重金屬的遷移轉化特征見圖 7.對比圖 6和圖 7,當污泥添加調理劑后,焚燒過程中重金屬的轉化及分布都有較顯著變化.

圖 7調理劑FeCl3及CaO共存對污泥焚燒過程中重金屬熱力學平衡分布的影響
對于Cd來講,Cl易與Cd結合,在溫度為400~850 K范圍內,CdCl2(g)取代了CdCO3(s)及CdO(s)成為Cd的主要揮發物,而在700~1800 K范圍內,Cd的產物基本不變(圖 7a).Pb受到調理劑的影響較大,其中,在低溫400~800 K范圍內,Pb主要以PbCl2(s)、PbCl2(g)、PbCl4(g)形式存在,并且PbCl2(g)在較寬的溫度范圍(600~1600 K)占優勢,導致Pb大量逸出(圖 7b).對于Cu來講,CuO(s)存在的溫度范圍縮小,另外,CuO(s)與Fe2O3(s)發生反應生成CuO(Fe2O3)(s)可以穩定存在,但在溫度為800~1300 K范圍內,有(CuCl)3(g)生成,另外,從1000 K起,開始有CuCl(g)的逸出,導致在焚燒溫度為1200 K時,Cu主要以氣體氯化物形式外排(圖 7c).Zn在400~600 K低溫條件下以ZnCl2(s)取代了ZnO(s),同時,ZnO(s)還可以與Fe2O3發生反應生成ZnFe2O4(s),但ZnCl2(g)從500 K就開始生成,在較寬的溫度范圍(700~1800 K)都以絕對比例存在(圖 7d).Cr的形態影響主要在900~1600 K,此時生成CaCr2O4(s)取代了Cr2O3(s)(圖 7e).Ni在整個溫度區間受調理劑氯化物的影響較大,在低溫區(400~500 K)有NiCl2(s)生成,在中溫區有NiO(Fe2O3(s))生成,在1000 K時有NiCl2(g)生成,可能導致Ni以氯化物形式外排(圖 7f).復合調理劑FeCl3/CaO的加入,在400~1200 K范圍As主要以Ca3(AsO4)2(s)存在,并且使AsO(g)產生溫度滯后400 K,可見復合調理劑FeCl3/CaO有利于抑制As的揮發和排放(圖 7g).Hg在整個溫度區間都以氣態HgCl2(g)和Hg(g)的形式存在(圖 7h),而Tl在低溫以TlCl2(s)存在,在500~1100 K范圍主要以TlCl(s)存在,致使Tl(g)生成溫度升高100 K(圖 7i).
從以上分析可以看出,復合調理劑FeCl3/CaO共存條件下,FeCl3對重金屬(Cd、Pb、Cd、Zn、Ni、Hg、Tl)的影響大于CaO的影響,導致這些重金屬在焚燒過程中以其氯化物形式揮發;CaO與Cr、As分別作用可以生成CaCr2O4(s)、Ca3(AsO4)2(s),可以抑制其揮發.
4.3.3 硫化物及FeCl3/CaO共同影響條件下重金屬的揮發特性
由于污泥常與煤或者垃圾進行摻燒,而這兩種物料中都含有一定量的硫(S),因此,本文模擬了只考慮污泥中主要成分C、N、H、O(λ=1.2)、添加5%復合調理劑FeCl3/CaO及有5% S共存條件下,9種重金屬的遷移轉化特征,結果見圖 8.對比圖 6、圖 7及圖 8可以發現,當污泥添加調理劑再與一定含量S進行摻燒后,焚燒過程中部分重金屬的轉化及分布受硫化物影響較大.

圖 8調理劑FeCl3、CaO及S共存對污泥焚燒過程中重金屬熱力學平衡分布的影響
Cd在低溫區主要以CdCl2(s)形式存在,在500~1000 K內生成了CdSO4(s)取代了圖 6中的CdO(s)及圖 7中的CdCl2(s),并且S的存在導致Cd(OH)2(g)的存在溫度區間變小(圖 8a).Pb在400~9000 K范圍內主要以PbSO4(s)形式存在,抑制了PbCl2(g)的生成溫度(降低約400 K)(圖 8b).對于Cu來講,低溫區有S存在情況下,Cu易于形成CuSO4(H2O)(s),在500~900 K范圍內生成CuSO4(s)取代了CuO(s)(圖 8c).Zn和Cu的分布具有相似性,低溫區有S存在情況下,Zn易于形成ZnSO4(H2O)(s),在500~950 K范圍內生成ZnSO4(s)取代了ZnO(s)(圖 8d).Cr在400~750 K范圍內有Cr2(SO4)3(s)生成,在1300~1600 K范圍內有CaCr2O4(s)生成,減小了Cr在此溫度下的揮發性(圖 8e).Ni在400~900 K范圍內也是以硫酸鹽形式存在,減小了Fe2O3(s)對Ni的影響(圖 8f).在400~950 K范圍,As可以與Fe結合生成FeAsO3(s),同時降低了AsO(g)的生成溫度(約300 K)(圖 8g).揮發性元素Hg和Tl不受硫化物的影響,對照圖 6和圖 7,其基本保持不變(圖 8h、i).
焚燒體系中S的存在對深度脫水污泥焚燒中Cd、Pb、Cu、Zn、Cr、Ni影響較大,在低溫階段由原來金屬的氧化物都轉化為金屬的硫酸鹽,由于硫酸鹽比較穩定,擬制了金屬的揮發特性;在高溫階段,金屬的形態轉化基本不受S的影響,而受Cl的影響;另外,As、Hg、Tl分布基本不受硫化物的影響,這可能是Cl易于和這些金屬結合并且其作用大于S所致.
對照圖 6、圖 7、圖 8可以看出,焚燒體系中的含Cl和S調理劑對重金屬形態遷移轉化影響差別較大.在有S存在條件下,低溫階段有金屬的硫酸鹽生成,擬制了金屬的揮發特性,而有Cl存在條件下,除Cr、As外都有金屬的氣態氯化物生成,加速了金屬的揮發速度.具體參見污水寶商城資料或http://www.dongaorq.cn更多相關技術文檔。
5 結論
1) 單一調理劑Al2(SO4)3、Fe2(SO4)3及FeSO4添加到污泥后,Fe和Al在低溫下主要以硫酸鹽存在,在高溫下主要以Al2O3和Fe2O3(s)存在;而AlCl3及FeCl3在焚燒過程中Al和Fe在較寬溫度范圍內主要以Al2O3和Fe2O3(s)存在;上述單一調理劑在污泥焚燒過程中氣態產物主要是HCl和SO2.
2) 復合調理劑CaO和FeCl3在焚燒過程中具有相互作用,其中,FeCl3或CaO含量增加時,焚燒過程中HCl(g)會逸出變慢,Fe2O3(s)易于和CaO(s)發生化學作用導致Fe2O3(s)單獨存在溫度區間變窄.
3) 污泥未添加調理劑時,重金屬Cd、Pb、Cr、Tl、Hg、As分別以Cd(OH)2(g)、PbO(g)、CrO2(OH)2(g)、AsO(g)、Hg(g)、Tl(g)形式揮發,而Cu、Zn、Ni以其氧化物形式存在而不易揮發.
4) 當污泥添加復合調理劑FeCl3及CaO后,其燃燒過程中除Cr受調理劑影響較小外,其他重金屬易于形成重金屬氯化物而揮發,導致重金屬揮發性增強;當有硫化物存在時,重金屬在低溫區間主要以硫酸鹽為主,在中高溫區間易于以氯化物存在,重金屬揮發受到Cl的影響較S大,而Hg和Tl不受硫化物影響.


