申請日2017.10.01
公開(公告)日2018.01.09
IPC分類號B01D24/10; B01D24/46
摘要
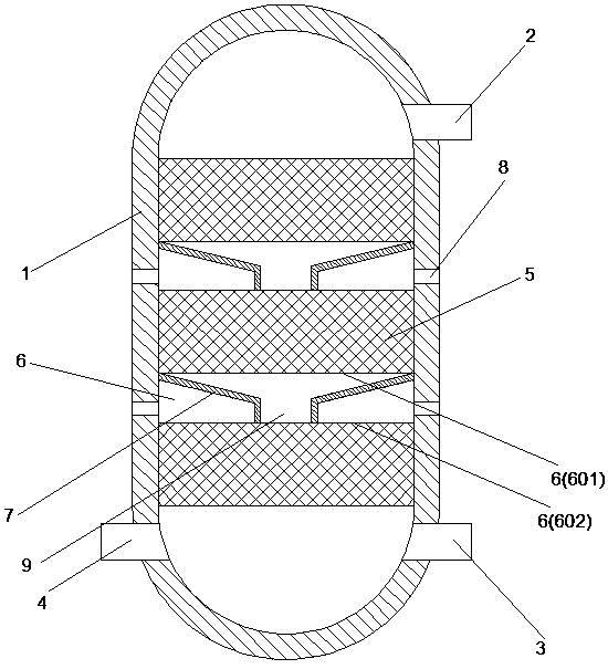
本發明公開了一種高濃度含鹽廢水處理過程中的自清洗過濾器,其包括過濾殼體,過濾殼體的上端設置有進液端口,過濾殼體的下端設置有出液端口以及清潔端口;所述過濾殼體之中,進液端口與出液端口之間設置有多個過濾層體,任意兩個彼此相鄰的過濾層體之間設置有導流腔室,導流腔室包括有第一端面以及第二端面,導流腔室的第一端面之上設置有傾斜向下延伸的導流端板,導流腔室的側端面之上設置有引流端口;上述高濃度含鹽廢水處理過程中的自清洗過濾器,其可在過濾器進行反沖洗處理過程中使得每一個過濾層體清潔后的部分清潔用水攜帶部分污物直接導出至過濾殼體外部,以有效避免上述污物依次通過多個過濾殼體過程中可能造成的殘余現象。
權利要求書
1.一種高濃度含鹽廢水處理過程中的自清洗過濾器,其特征在于,所述高濃度含鹽廢水處理過程中的自清洗過濾器包括過濾殼體,過濾殼體的上端設置有進液端口,過濾殼體的下端設置有出液端口以及清潔端口;所述過濾殼體之中,進液端口與出液端口之間設置有多個過濾層體,任意兩個彼此相鄰的過濾層體之間設置有導流腔室,導流腔室包括有在豎直方向上彼此相對的第一端面以及第二端面,第一端面設置與第二端面上側,導流腔室的第一端面之上設置有傾斜向下延伸的導流端板,其采用環形結構,導流腔室的側端面之上設置有延伸至過濾殼體外部的引流端口。
2.按照權利要求1所述的高濃度含鹽廢水處理過程中的自清洗過濾器,其特征在于,所述導流端板的最小內徑至多為過濾殼體內徑的1/4。
3.按照權利要求2所述的高濃度含鹽廢水處理過程中的自清洗過濾器,其特征在于,所述導流腔室的第二端面之上設置有沿豎直方向進行延伸的導流管道,導流管道的上端部與導流端板的下端部彼此連接;所述導流端板之上設置有多個單向閥,其導通方向均為導流腔室中第二端面朝向第一端面的延伸方向。
4.按照權利要求3所述的高濃度含鹽廢水處理過程中的自清洗過濾器,其特征在于,所述導流端板之中,每一個單向閥于導流端板上端面的端部對應位置均設置有引流端板,引流端板設置于單向閥相對于導流腔室的軸線一側,且其朝向導流腔室第一端面的軸心位置傾斜向上進行延伸。
5.一種按照權利要求1所述的高濃度含鹽廢水處理過程中的自清洗過濾器的工作方法,其特征在于,所述高濃度含鹽廢水處理過程中的自清洗過濾器的工作方法包括有如下步驟:
1)采用清潔用水從過濾殼體的清潔端口導入至過濾殼體內部;
2)在步驟1)中的清潔用水通過任意過濾層體后,通過對應導流腔室中的引流端口將部分清潔用水導出至過濾殼體外部,而部分清潔用水繼續進行后續過濾層體進行清潔處理。
說明書
高濃度含鹽廢水處理過程中的自清洗過濾器及工作方法
技術領域
本發明涉及化工領域,尤其是一種高濃度含鹽廢水處理過程中的自清洗過濾器。
背景技術
高濃度含鹽廢水在進行多膜分離處理過程中首先需對其進行過濾處理,以將其內部所含雜質以及部分成分進行預過濾,F有的高濃度含鹽廢水過濾處理往往采用多介質過濾器以對其所需過濾成分通過不同的過濾介質進行過濾;在上述過濾器工作一定時間后,其過濾介質內積攢的污物過多,故需對其進行反沖洗處理。現有的多介質過濾器的反沖洗處理往往需使得清潔用水依次通過所有的過濾介質,其易于導致過濾介質內污物的二次殘留,以影響清潔效率與效率。
發明內容
本發明要解決的技術問題是提供一種高濃度含鹽廢水處理過程中的自清洗過濾器,其可在對于過濾器進行反沖洗過程中,避免過濾介質中的雜質產生二次殘余,以提高其清潔效果與效率。
為解決上述技術問題,本發明涉及一種高濃度含鹽廢水處理過程中的自清洗過濾器,其包括過濾殼體,過濾殼體的上端設置有進液端口,過濾殼體的下端設置有出液端口以及清潔端口;所述過濾殼體之中,進液端口與出液端口之間設置有多個過濾層體,任意兩個彼此相鄰的過濾層體之間設置有導流腔室,導流腔室包括有在豎直方向上彼此相對的第一端面以及第二端面,第一端面設置與第二端面上側,導流腔室的第一端面之上設置有傾斜向下延伸的導流端板,其采用環形結構,導流腔室的側端面之上設置有延伸至過濾殼體外部的引流端口。
作為本發明的一種改進,所述導流端板的最小內徑至多為過濾殼體內徑的1/4。
作為本發明的一種改進,所述導流腔室的第二端面之上設置有沿豎直方向進行延伸的導流管道,導流管道的上端部與導流端板的下端部彼此連接;所述導流端板之上設置有多個單向閥,其導通方向均為導流腔室中第二端面朝向第一端面的延伸方向。采用上述技術方案,其可導流管道的設置以進一步確保高濃度含鹽廢水過濾過程中其完全沿導流端板以及導流管道依次通過多個過濾層體,以確保其過濾效率;同時,上述單向閥的設置可使得進入至導流端板以及導流腔室內壁之間的清潔用水可順利通入至上側過濾層體之中,以確保其清潔效率。
作為本發明的一種改進,所述導流端板之中,每一個單向閥于導流端板上端面的端部對應位置均設置有引流端板,引流端板設置于單向閥相對于導流腔室的軸線一側,且其朝向導流腔室第一端面的軸心位置傾斜向上進行延伸。采用上述技術方案,其可通過引流端板的設置以使得通過單向閥進入至導流端板上側的清潔用水得以向上導通,以避免其直接流入至下側過濾層體之中,以造成清潔效率的下降。
本申請中的高濃度含鹽廢水處理過程中的自清洗過濾器的工作方法包括有如下步驟:
1)采用清潔用水從過濾殼體的清潔端口導入至過濾殼體內部;
2)在步驟1)中的清潔用水通過任意過濾層體后,通過對應導流腔室中的引流端口將部分清潔用水導出至過濾殼體外部,而部分清潔用水繼續進行后續過濾層體進行清潔處理。
采用上述技術方案的高濃度含鹽廢水處理過程中的自清洗過濾器,其可通過過濾殼體內的多個過濾層體中所填充的不同過濾介質,以在高濃度含鹽廢水處理過程中進行有效的前置過濾處理;在高濃度含鹽廢水完成一定批量的過濾處理而進行反沖洗處理過程中,清潔用水經由清潔端口進入至過濾殼體內部,并反向依次通過多個過濾層體;上述清潔用水經過任意過濾層體后可進入至本申請所設置的過濾腔室之中,由于過濾腔室內導流端板的設置,故自下向上運動的清潔用水可避免直接運動至上層過濾層體之中,而是部分連同之前過濾層體內的污物通過導流腔室側壁上的引流端口直接排出至過濾殼體外部,部分清潔用水經由導流端板的其余區域繼續向上運動完成清潔處理。
上述高濃度含鹽廢水處理過程中的自清洗過濾器,其可在過濾器進行反沖洗處理過程中使得每一個過濾層體清潔后的部分清潔用水攜帶部分污物直接導出至過濾殼體外部,以有效避免上述污物依次通過多個過濾殼體過程中可能造成的殘余現象,進而使得本申請中的多介質過濾器的整體清潔效率與效果得以保障。



