申請日2017.09.30
公開(公告)日2017.12.22
IPC分類號C02F9/04
摘要
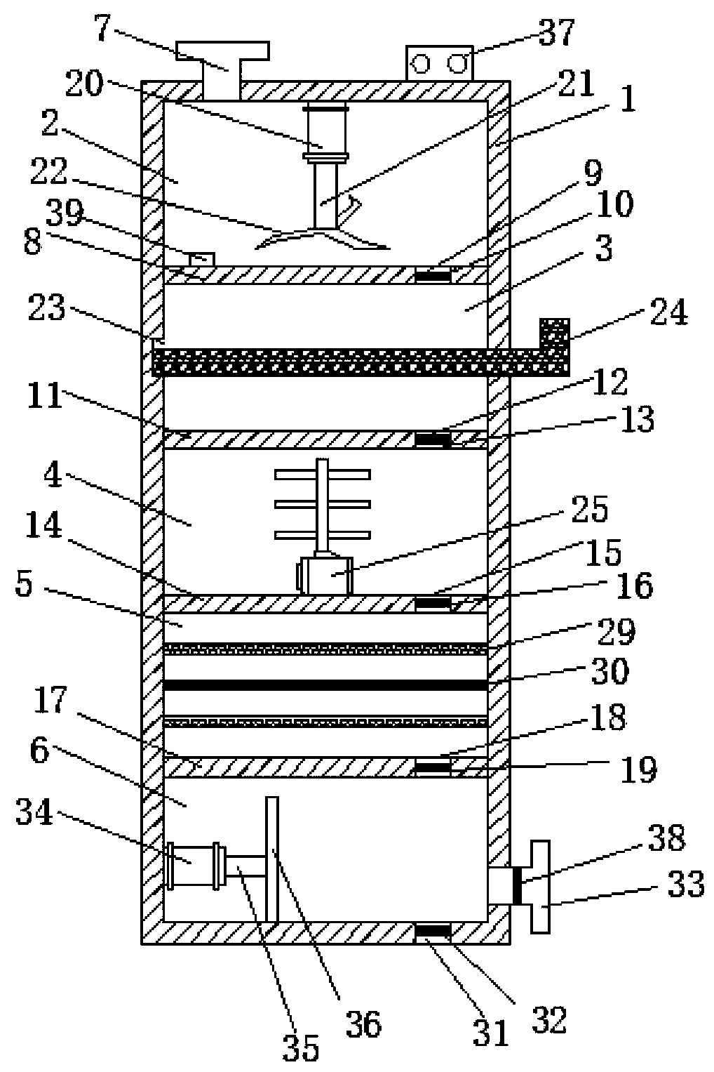
本發明公開了一種多級醫療污水處理裝置,包括箱體,箱體內由上至下依次設有粉碎箱、過濾箱、殺菌箱、吸附箱和清理箱,粉碎箱的頂部設有進水口,粉碎箱的頂部內側壁上固定有豎直向下的驅動電機,驅動電機的輸出軸上固定連接有轉軸,轉軸的底部安裝有切割刀片,殺菌箱的底部設有臭氧發生器,臭氧發生器的出氣口與空心管相連,空心管的側壁上設有多根支管,支管上設置有多個與支管連通的出氣孔,清理箱的底部設置有排污口,排污口內設置有第五電磁閥,清理箱的側壁上設置有出水管,排污機構包括水平固定在清理箱內側壁上的氣缸、與氣缸相連的氣壓伸縮桿及豎直固定在氣壓伸縮桿端部的推板。該設備具有廣闊的應用前景,適合在市場上推廣。
權利要求書
1.一種多級醫療污水處理裝置,包括箱體(1),其特征在于,所述箱體(1)內由上至下依次設有粉碎箱(2)、過濾箱(3)、殺菌箱(4)、吸附箱(5)和清理箱(6),所述粉碎箱(2)的頂部設有與其連通的進水口(7),所述粉碎箱(2)與所述過濾箱(3)之間設有第一隔板(8),所述第一隔板(8)上設有貫穿其的第一出水口(9),且所述第一出水口(9)內安裝有第一電磁閥(10),所述過濾箱(3)與所述殺菌箱(4)之間設有第二隔板(11),所述第二隔板(11)上設有貫穿其的第二出水口(12),且所述第二出水口(12)內安裝有第二電磁閥(13),所述殺菌箱(4)與所述吸附箱(5)之間設有第三隔板(14),所述第三隔板(14)上設有貫穿其的第三出水口(15),且所述第三出水口(15)內安裝有第三電磁閥(16),所述吸附箱(5)與所述清理箱(6)之間設有第四隔板(17),所述第四隔板(17)上設有貫穿其的第四出水口(18),且所述第四出水口(18)內安裝有第四電磁閥(19),所述粉碎箱(1)的頂部內側壁上固定有豎直向下的驅動電機(20),所述驅動電機(20)的輸出軸上固定連接有轉軸(21),且所述轉軸(21)的底部安裝有切割刀片(22);所述過濾箱(3)的內側壁上設有凹槽(23),所述過濾箱(3)內設置有過濾網(24),所述過濾網(24)的一端抵在所述凹槽(23)內,且所述過濾網(24)的另一端伸到箱體(1)的外部,所述殺菌箱(4)的底部固定有臭氧發生器(25),且所述臭氧發生器(25)的出氣口與豎直設置且頂部封閉的空心管(26)相連,所述空心管(26)的側壁上由上至下設置有多根與空心管(26)連通的支管(27),且所述支管(27)上設置有多個與支管(27)連通的出氣孔(28),所述吸附箱(5)中設置有多個透水活性炭吸附隔板(29)和多個透水樹脂吸附隔板(30),所述清理箱(6)的底部設置有排污口(31),且所述排污口(31)內設置有第五電磁閥(32),所述清理箱(6)的側壁上設置有出水管(33),所述出水管(33)所對的清理箱(6)內側壁上設置有排污機構,所述排污機構包括水平固定在清理箱(6)內側壁上的氣缸(34)、與所述氣缸(34)相連的氣壓伸縮桿(35)以及豎直固定在氣壓伸縮桿(35)端部的推板(36),所述箱體(1)的頂部還設置有PLC控制器(37),且所述驅動電機(20)、第一電磁閥(10)、第二電磁閥(13)、第三電磁閥(16)、第四電磁閥(19)、第五電磁閥(32)、臭氧發生器(25)以及氣缸(34)均和所述PLC控制器(37)電性連接。
2.根據權利要求1所述的一種多級醫療污水處理裝置,其特征在于,所述箱體(1)的材質為防腐蝕材料。
3.根據權利要求1所述的一種多級醫療污水處理裝置,其特征在于,所述透水活性炭隔板(29)和多個透水樹脂吸附隔板(30)間隔布置。
4.根據權利要求1所述的一種多級醫療污水處理裝置,其特征在于,所述出水管(33)內安裝有與所述PLC控制器(37)電性連接的控制閥(38)。
5.根據權利要求1所述的一種多級醫療污水處理裝置,其特征在于,所述粉碎箱(2)內設有與所述PLC控制器(37)相連的液位計(39)。
說明書
一種多級醫療污水處理裝置
技術領域
本發明涉及污水處理技術領域,具體為一種多級醫療污水處理裝置。
背景技術
醫用污水來源及成分復雜,含有病原性微生物、有毒、有害的物理化學污染物和放射性污染等,具有空間污染、急性傳染和潛伏性傳染等特征,不經有效處理會成為一條疫病擴散的重要途徑和嚴重污染環境。另外,目前大多數的污水處理設備中都采用臭氧對污水進行消毒,但是,醫療污水比較粘稠,另外還摻雜有止血棉、消毒棉等等醫用設備,導致流淌困難,醫療污水很難只依靠重力流進污水處理設備,容易堵塞污水處理設備的管道。
發明內容
本發明的目的在于提供一種多級醫療污水處理裝置,以解決上述背景技術中提出的問題。
為實現上述目的,本發明提供如下技術方案:一種多級醫療污水處理裝置,包括箱體,所述箱體內由上至下依次設有粉碎箱、過濾箱、殺菌箱、吸附箱和清理箱,所述粉碎箱的頂部設有與其連通的進水口,所述粉碎箱與所述過濾箱之間設有第一隔板,所述第一隔板上設有貫穿其的第一出水口,且所述第一出水口內安裝有第一電磁閥,所述過濾箱與所述殺菌箱之間設有第二隔板,所述第二隔板上設有貫穿其的第二出水口,且所述第二出水口內安裝有第二電磁閥,所述殺菌箱與所述吸附箱之間設有第三隔板,所述第三隔板上設有貫穿其的第三出水口,且所述第三出水口內安裝有第三電磁閥,所述吸附箱與所述清理箱之間設有第四隔板,所述第四隔板上設有貫穿其的第四出水口,且所述第四出水口內安裝有第四電磁閥,所述粉碎箱的頂部內側壁上固定有豎直向下的驅動電機,所述驅動電機的輸出軸上固定連接有轉軸,且所述轉軸的底部安裝有切割刀片;所述過濾箱的內側壁上設有凹槽,所述過濾箱內設置有過濾網,所述過濾網的一端抵在所述凹槽內,且所述過濾網的另一端伸到箱體的外部,所述殺菌箱的底部固定有臭氧發生器,且所述臭氧發生器的出氣口與豎直設置且頂部封閉的空心管相連,所述空心管的側壁上由上至下設置有多根與空心管連通的支管,且所述支管上設置有多個與支管連通的出氣孔,所述吸附箱中設置有多個透水活性炭吸附隔板和多個透水樹脂吸附隔板,所述清理箱的底部設置有排污口,且所述排污口內設置有第五電磁閥,所述清理箱的側壁上設置有出水管,所述出水管所對的清理箱內側壁上設置有排污機構,所述排污機構包括水平固定在清理箱內側壁上的氣缸、與所述氣缸相連的氣壓伸縮桿以及豎直固定在氣壓伸縮桿端部的推板,所述箱體的頂部還設置有PLC控制器,且所述驅動電機、第一電磁閥、第二電磁閥、第三電磁閥、第四電磁閥、第五電磁閥、臭氧發生器以及氣缸均和所述PLC控制器電性連接。
進一步的,所述箱體的材質為防腐蝕材料。
進一步的,所述透水活性炭隔板和多個透水樹脂吸附隔板間隔布置。
進一步的,所述出水管內安裝有與所述PLC控制器電性連接的控制閥。
進一步的,所述粉碎箱內設有與所述PLC控制器相連的液位計。
與現有技術相比,本發明的有益效果是:本發明在粉碎箱內安裝切割刀片,可對大的污染物進行切割,防止污染物堵塞出水口;同時,本發明還在清理箱中安裝排污機構,該結構可對清理箱進行清理,便于下次使用,因此,該設備的實用性極強,非常適合在市場上推廣和應用。




