申請日2017.10.05
公開(公告)日2018.01.05
IPC分類號C02F9/04
摘要
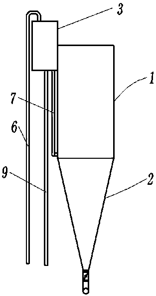
本發明涉及污水處理技術領域,具體涉及一種洗砂污水分離裝置,包括底部設有直線型漏斗的水箱,所述水箱外頂部設有加藥箱和出水管,所述加藥箱設有加藥管和加水管,所述加藥箱通過進水管與水箱下部連接;所述水箱內上部設有濾網,所述濾網下方填充有凈水球,所述水箱內中部設有半球形擋水板,中部內壁設有折形豎板;所述水箱的底部設有帶閥門的出口。該裝置結構簡單,維護費用低,而且還能降低勞動強度。
權利要求書
1.一種洗砂污水分離裝置,其特征在于,包括底部設有直線型漏斗的水箱,所述水箱外頂部設有加藥箱和出水管,所述加藥箱設有加藥管和加水管,所述加藥箱通過進水管與水箱下部連接;所述水箱內上部設有濾網,所述濾網下方填充有凈水球,所述水箱內中部設有半球形擋水板,中部內壁設有折形豎板;所述水箱的底部設有帶閥門的出口。
2.根據權利要求1所述的一種洗砂污水分離裝置,其特征在于,所述的閥門為蝶閥。
說明書
一種洗砂污水分離裝置
技術領域
本發明涉及污水處理技術領域,具體涉及一種洗砂污水分離裝置。
背景技術
目前,國內常用的洗砂污水處理的設備有三種,帶機、板框和臥螺沉降式自卸料離心機,大部分帶機和板框的實際有效使用期限只有1年,而卸料螺旋推料器的軸承和密封件為易損件,需經常更換和保養,帶機易損件軸承數量比離心機多數倍外,濾帶也需更換,價格昂貴,沖洗泵,空壓機,污泥調理器也需要常維護,以上三種洗砂污水處理設備維護費用高,勞動強度大。
發明內容
為了解決現有技術的不足和缺陷,本發明提供一種洗砂污水分離裝置,該裝置結構簡單,維護費用低,而且還能降低勞動強度。
為了解決其技術問題所采用的技術方案是:
一種洗砂污水分離裝置,包括底部設有直線型漏斗的水箱,所述水箱外頂部設有加藥箱和出水管,所述加藥箱設有加藥管和加水管,所述加藥箱通過進水管與水箱下部連接;所述水箱內上部設有濾網,所述濾網下方填充有凈水球,所述水箱內中部設有半球形擋水板,中部內壁設有折形豎板;所述水箱的底部設有帶閥門的出口。
優選地,所述的閥門為蝶閥。
工作時,關閉閥門,通過加藥管和加水管向加藥箱內分別加入絮凝劑和洗砂產生的污水,絮凝劑和污水在加藥箱內混合后通過進水管進入水箱,污水在半球形擋水板的作用下向周圍流動,污水中的雜質在絮凝劑的作用下逐漸匯聚,沉積到折形擋板上,沉到漏斗的出口端,隨著進入水箱水量的增加,水箱內的液面逐漸接觸濾網,污水經濾網和凈水球過濾,經出水管排出,打開閥門排出底部污水。
本發明的有益效果是:本發明結構簡單,無易損件,維護費用低,勞動強度低;采用濾網和凈水球進行過濾,過濾效果好,不易堵塞。



