申請日2017.10.11
公開(公告)日2018.01.19
IPC分類號B01F13/10; B01F15/04; C02F1/52
摘要
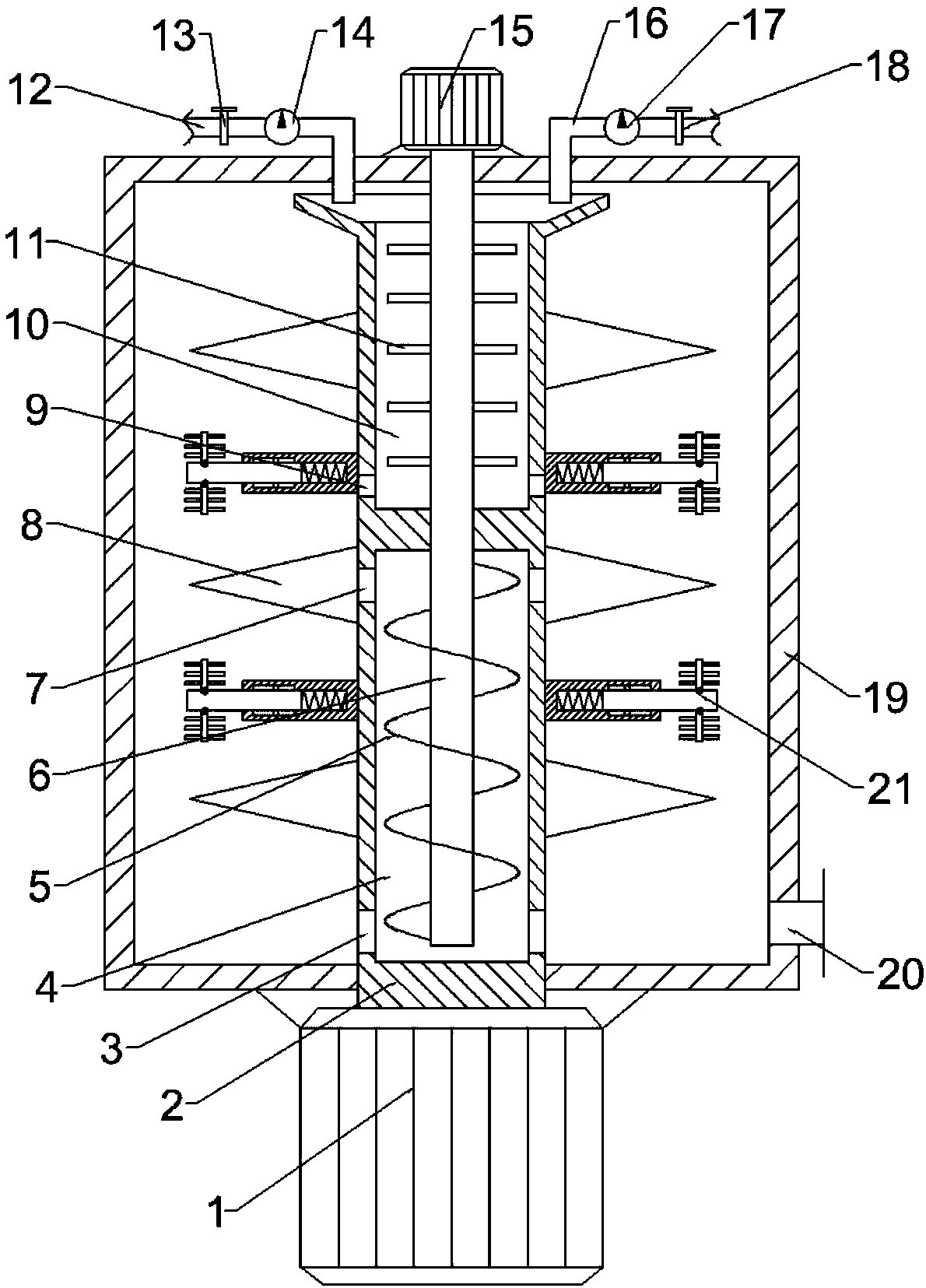
一種具有擾動功能的污水處理用混凝攪拌裝置,包括絮凝罐,所述絮凝罐內設有第一攪拌軸,所述第一攪拌軸的外部設有攪拌葉片,第一攪拌軸的下端與位于絮凝罐下方的第一電機相連接,所述第一攪拌軸的下半部設有第一空腔,第一攪拌軸的上半部設有第二空腔,所述第一空腔和第二空腔相互不連通,第一攪拌軸內設有穿過第一空腔和第二空腔的第二攪拌軸,所述第二攪拌軸的頂端與第二電機相連接,第二攪拌軸位于第一空腔內的部分設有螺旋葉片。本發明的有益效果是在第二空腔內將污水與絮凝劑進行有效的混合,減少了工序;攪拌葉片和螺旋葉片對污水進行絮凝攪拌,有效提高了污水的絮凝效果,提高了污水的處理效果。
權利要求書
1.一種具有擾動功能的污水處理用混凝攪拌裝置,包括絮凝罐,其特征在于,所述絮凝罐內設有第一攪拌軸,所述第一攪拌軸的外部設有攪拌葉片,第一攪拌軸的下端與位于絮凝罐下方的第一電機相連接,所述第一攪拌軸的下半部設有第一空腔,第一攪拌軸的上半部設有第二空腔,所述第一空腔和第二空腔相互不連通,第一攪拌軸內設有穿過第一空腔和第二空腔的第二攪拌軸,所述第二攪拌軸的頂端與第二電機相連接,第二攪拌軸位于第一空腔內的部分設有螺旋葉片,第二攪拌軸位于第二空腔內的部分設有若干攪拌桿;所述第一攪拌軸的頂部設有開口,開口上方設有進液管,所述進液管上設有第一計量泵,開口上方還還設有加藥管,所述加藥管上設有第二計量泵;所述第一攪拌軸外側壁上均勻布置有若干擾動裝置,所述擾動裝置包括安裝桿,安裝桿一端與第一攪拌軸側壁固定連接,安裝桿上開設有凹槽,凹槽內設置有復位彈簧,復位彈簧的另一端固定連接有伸出桿,伸出桿的外端設置有鉸鏈,鉸鏈上轉動連接有轉動桿,轉動桿上均勻布置有若干攪拌桿。
2.根據權利要求1所述的一種具有擾動功能的污水處理用混凝攪拌裝置,其特征在于,第一空腔的底部設有與絮凝罐內部相連通的第一通孔,第一空腔的頂部設有與絮凝罐內部相連通的第二通孔,第二空腔的底部設有與絮凝罐內部相連通的第三通孔。
3.根據權利要求1所述的一種具有擾動功能的污水處理用混凝攪拌裝置,其特征在于,所述進液管上設有第一閥門,所述加藥管上設有第二閥門。
4.根據權利要求1或2所述的一種具有擾動功能的污水處理用混凝攪拌裝置,其特征在于,所述絮凝罐的底部設有出液口。
5.根據權利要求1所述的一種具有擾動功能的污水處理用混凝攪拌裝置,其特征在于,所述凹槽內側壁上對稱開設有兩個限位槽,限位槽內設置有限位桿,限位桿另一端與伸出桿側壁固定連接。
說明書
一種具有擾動功能的污水處理用混凝攪拌裝置
技術領域
本發明涉及污水處理技術領域,具體涉及一種具有擾動功能的污水處理用混凝攪拌裝置。
背景技術
混凝現象是指微粒凝結現象。凝聚和絮凝總稱為混凝。凝聚是指在水中加入某些溶解鹽類,使水中細小懸浮物或膠體微粒互相吸附結合成較大顆粒,從水中沉淀下來的過程。混凝主要是水中的懸浮物形成較大顆粒的絮體,以便在后續的處理工藝中將其去除,混凝效果的好壞決定懸浮物的去除效果。混凝中的凝聚和絮凝過程,以往常常將兩個不同的概念混淆,最近已趨于明確區分開來。凝聚,是指膠體失去或降低穩定性,從而能在布朗運動作用下生成細小聚集體的過程,它是以膠體表面的物理、化學狀況發生變化為主的過程。絮凝,是指由凝聚生成的細小聚集體或溶液中的粗粒子在架橋物質存在和水流紊動下,生成粗大的絮凝體的過程,是一種以物理的集合為主的過程。混凝過程牽涉到一系列可變因素的復雜平衡,這些因素包括:溶液中膠體雜質的理化性質、水中共存鹽類、溶液本身性質(如pH值、溫度等)、混疑劑的性能以及外力作用(如攪拌條件等)。
通常的攪拌混合設備僅為簡單的一套攪拌裝置,只具有藥液與廢水混合功能,而沒有考慮到在混合與絮凝條件下需要兩種不同的水力條件。為了滿足混凝的水力條件,需要設置兩個攪拌罐,導致占地面積變大,且混凝效果不佳。
發明內容
本發明的目的在于提供一種涂料攪拌裝置,以解決上述背景技術中提出的問題。
為實現上述目的,本發明提供如下技術方案:
一種具有擾動功能的污水處理用混凝攪拌裝置,包括絮凝罐,所述絮凝罐內設有第一攪拌軸,所述第一攪拌軸的外部設有攪拌葉片,第一攪拌軸的下端與位于絮凝罐下方的第一電機相連接,所述第一攪拌軸的下半部設有第一空腔,第一攪拌軸的上半部設有第二空腔,所述第一空腔和第二空腔相互不連通,第一攪拌軸內設有穿過第一空腔和第二空腔的第二攪拌軸,所述第二攪拌軸的頂端與第二電機相連接,第二攪拌軸位于第一空腔內的部分設有螺旋葉片,第二攪拌軸位于第二空腔內的部分設有若干攪拌桿;所述第一攪拌軸的頂部設有開口,開口上方設有進液管,所述進液管上設有第一計量泵,開口上方還還設有加藥管,所述加藥管上設有第二計量泵;所述第一攪拌軸外側壁上均勻布置有若干擾動裝置,所述擾動裝置包括安裝桿,安裝桿一端與第一攪拌軸側壁固定連接,安裝桿上開設有凹槽,凹槽內設置有復位彈簧,復位彈簧的另一端固定連接有伸出桿,伸出桿的外端設置有鉸鏈,鉸鏈上轉動連接有轉動桿,轉動桿上均勻布置有若干攪拌桿。
作為本發明進一步的方案:第一空腔的底部設有與絮凝罐內部相連通的第一通孔,第一空腔的頂部設有與絮凝罐內部相連通的第二通孔,第二空腔的底部設有與絮凝罐內部相連通的第三通孔。
作為本發明再進一步的方案:所述進液管上設有第一閥門,所述加藥管上設有第二閥門。
作為本發明再進一步的方案:所述絮凝罐的底部設有出液口。
作為本發明再進一步的方案:所述凹槽內側壁上對稱開設有兩個限位槽,限位槽內設置有限位桿,限位桿另一端與伸出桿側壁固定連接。
本發明的有益效果是在第二空腔內將污水與絮凝劑進行有效的混合,減少了工序;攪拌葉片和螺旋葉片對污水進行絮凝攪拌,有效提高了污水的絮凝效果,提高了污水的處理效果;當第一攪拌軸發生轉動后,伸出桿受到離心力后從凹槽內移出一段長度,從而帶動攪拌桿擴大了攪拌范圍;當轉動桿受到離心力后繞鉸鏈轉動,使攪拌桿的角度發生改變,則有效提高了混合效果;當第一攪拌軸的轉速發生變化后,在復位彈簧的作用下,伸出桿從凹槽內的長度發生改變,從而再進一步的改變了攪拌范圍,有效提高了污水的絮凝效果。



