申請日2017.10.10
公開(公告)日2017.12.19
IPC分類號C02F3/28; C02F101/30
摘要
本發明公開了一種真空太陽能集熱式戶外升流厭氧污泥床反應器,包括污水提升泵、球型真空集熱器、管式真空集熱器、三相分離器和出水槽,其特征在于:污水提升泵通過進水管與球型真空集熱器連接;球型真空集熱器的上部設置有填料口和輸出口,底部設置有排泥管;球型真空集熱器的輸出口與管式真空集熱器的輸入口連接;所述管式真空集熱器呈傾斜狀布置,且管式真空集熱器的輸入口端比輸出口端低;管式真空集熱器的輸出口連接三相分離器的輸入口;三相分離器垂直布置在管式真空集熱器的輸出口上方;三相分離器內設置有楔形擋板,三相分離器的上部設置有排液口,三相分離器的頂部設置有集氣室;本發明可廣泛應用于生物、能源、化工等領域。
權利要求書
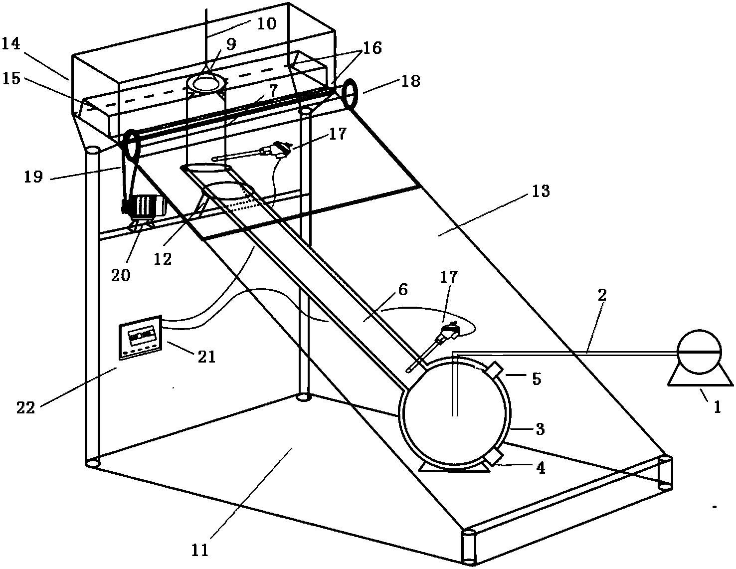
1.一種真空太陽能集熱式戶外升流厭氧污泥床反應器,包括污水提升泵(1)、球型真空集熱器(3)、管式真空集熱器(6)、三相分離器(7)和出水槽(14),其特征在于:污水提升泵(1)通過進水管(2)與球型真空集熱器(3)連接;球型真空集熱器(3)的上部設置有填料口(5)和輸出口,底部設置有排泥管(4);球型真空集熱器(3)的輸出口與管式真空集熱器(6)的輸入口連接;所述管式真空集熱器(6)呈傾斜狀布置,且管式真空集熱器(6)的輸入口端比輸出口端低;管式真空集熱器(6)的輸出口連接三相分離器(7)的輸入口(23);三相分離器(7)垂直布置在管式真空集熱器(6)的輸出口上方;三相分離器(7)內設置有楔形擋板(8),三相分離器(7)的上部設置有排液口(24),三相分離器(7)的頂部設置有集氣室(9);三相分離器(7)的排液口與出水槽(14)連接;出水槽(14)的底部設置有排水口(16);在球型真空集熱器(3)和管式真空集熱器(6)的上方設置有遮陽卷簾(18),當球型真空集熱器(3)或者管式真空集熱器(6)的溫度達到設定值時,控制遮陽卷簾(18)打開以遮擋照射到球型真空集熱器(3)和管式真空集熱器(6)的陽光。
2.根據權利要求1所述的真空太陽能集熱式戶外升流厭氧污泥床反應器,其特征在于:該反應器包括外部支撐架(11),該外部支撐架(11)包括四根管柱和安裝板(13);安裝板(13)呈傾斜狀設置,并固定在管柱的頂端,安裝板上設置有安裝孔和管槽,球型真空集熱器(3)放置在安裝孔內;管式真空集熱器(6)放置在管槽內;在管式真空集熱器(6)與球型真空集熱器(3)連接處以及管式真空集熱器(6)的出口處均設置有鎧裝熱電偶,鎧裝熱電偶輸出信號到溫控器(21),溫控器(21)輸出控制信號控制電機(20)的啟動和關閉;遮陽卷簾(18)設置在安裝板(13)的頂端,由電機(20)帶動電機皮帶(19)控制遮陽卷簾(18)的打開和關閉。
3.根據權利要求(2)所述的真空太陽能集熱式戶外升流厭氧污泥床反應器,其特征在于:出水槽(14)設置在外部支撐架(11)的頂端,出水槽(14)內設置凸臺(15),該凸臺(15)與三相分離器(7)的排液口對應。
說明書
一種真空太陽能集熱式戶外升流厭氧污泥床反應器
技術領域
本發明涉及升流式厭氧污泥床反應器,具體涉及一種真空太陽能集熱式戶外升流厭氧污泥床反應器。
背景技術
升流式厭氧污泥床(UASB)是厭氧生物處理的一種主要構筑物,它集厭氧生物反應與沉淀分離于一體,具有有機負荷和去除效率高,結構簡單等優點。在UASB反應器中自下而上主要有底部的布水器、高濃度,高活性的污泥床、懸浮的污泥層、上清液層、三相分離器。UASB反應器負荷能力大,去除效率高主要是由高濃度,高活性的污泥床層成決定的。有機物通過底部的布水器進入污泥床,然后被污泥床中的厭氧微生物利用,經厭氧發酵形成甲烷及二氧化碳等氣體。有機物在污泥床中的發酵過程受到許多因素的制約,如pH、氧化還原電位、有機負荷、溫度等。其中溫度對微生物的活性起著至關重要的作用,影響著反應器的高效性。發酵過程通常分為常溫發酵、中溫發酵、高溫發酵,中溫發酵微生物所適應的溫度在35℃左右,高溫發酵在55℃左右。而高溫發酵能耗較大,一般選取溫度為35℃的中溫發酵。發酵過程中的溫度過高或過低都會使微生物的活性受到抑制。為了維持發酵過程中的所需溫度,通常會設置加熱裝置,這不僅增加了運行費用而且使整個系統變得更加復雜。此外在UASB反應器運行過程中,由于大量氣泡的產生會使活性污泥隨發酵液升流,而造成的活性污泥的流失,生物量減少。
發明內容
本發明所要解決的技術問題在于提供一種真空太陽能集熱式戶外升流厭氧污泥床反應器。
根據本發明的技術方案,一種真空太陽能集熱式戶外升流厭氧污泥床反應器,包括污水提升泵、球型真空集熱器、管式真空集熱器、三相分離器和出水槽,其特征在于:污水提升泵通過進水管與球型真空集熱器連接;球型真空集熱器的上部設置有填料口和輸出口,底部設置有排泥管;球型真空集熱器的輸出口與管式真空集熱器的輸入口連接;所述管式真空集熱器呈傾斜狀布置,且管式真空集熱器的輸入口端比輸出口端低;管式真空集熱器的輸出口連接三相分離器的輸入口;三相分離器垂直布置在管式真空集熱器的輸出口上方;三相分離器內設置有楔形擋板,三相分離器的上部設置有排液口,三相分離器的頂部設置有集氣室;三相分離器的排液口和出水槽連接;出水槽的底部設置有排水口;在球型真空集熱器和管式真空集熱器的上方設置有遮陽卷簾,當球型真空集熱器或者管式真空集熱器的溫度達到設定值時,控制遮陽卷簾打開以遮擋照射到球型真空集熱器和管式真空集熱器的陽光。
本發明利用球型真空集熱器和管式真空集熱器吸收太陽能加熱反應區發酵液,不額外設置加熱器;利用經進水管進入的有機底物對球型真空集熱器中的活性污泥形成擾動,加大有機底物與微生物的接觸機會,從而提高反應效率;利用傾斜設置的管式真空集熱器截留污泥,使其沉淀,避免了活性污泥的流失;并利用遮陽卷簾對反應溫度進行自動控制,利用三相分離器實現氣液分離,并且三相分離器內設計有楔形擋板,隨廢水升流的污泥碰到楔形擋板后會發生沉降,可進一步截留污泥。
根據本發明所述的真空太陽能集熱式戶外升流厭氧污泥床反應器的優選方案,該反應器包括外部支撐架,該外部支撐架包括四根管柱和安裝板;安裝板呈傾斜狀設置,并固定在管柱的頂端;安裝板上設置有安裝孔和管槽,球型真空集熱器放置在安裝孔內;管式真空集熱器放置在管槽內;在管式真空集熱器與球型真空集熱器連接處以及管式真空集熱器的出口處均設置有鎧裝熱電偶,鎧裝熱電偶輸出信號到溫控器,溫控器輸出控制信號控制電機的啟動和關閉;遮陽卷簾設置在安裝板的頂端,由電機帶動電機皮帶控制遮陽卷簾的打開和關閉。
根據本發明所述的真空太陽能集熱式戶外升流厭氧污泥床反應器的優選方案,出水槽設置在外部支撐架的頂端,出水槽內設置凸臺,該凸臺與三相分離器的排液口對應。
本發明所述的一種真空太陽能集熱式戶外升流厭氧污泥床反應器的有益效果是:本發明利用球型真空集熱器和管式真空集熱器吸收太陽能加熱反應區發酵液,不額外設置加熱器;利用經進水管進入的有機底物對球型真空集熱器中的活性污泥形成擾動,利用傾斜設置的管式真空集熱器截留污泥,使其沉淀,避免了活性污泥的流失;并利用遮陽卷簾對反應溫度進行自動控制,利用三相分離器實現氣液固分離;本發明結構簡單、獨特,能有效的截留污泥以及自加熱發酵液,實現高效,低能耗的目標,可廣泛應用在生物、能源、化工等領域。



