申請日2017.10.10
公開(公告)日2017.12.19
IPC分類號C02F9/14
摘要
本發明公開了一種城市污水凈化處理設備,包括凈化處理設備本體,所述凈化處理設備本體由上而下設置有曝氣池、分離凈化池、厭氧生物處理池和超濾凈化池;所述凈化處理設備本體的底部活動連接有往復移動底座;所述往復移動底座的兩側螺紋連接有往復電機,且往復電機的機械輸出端螺紋連接有牽引機構,左右牽引機構對稱分布;所述凈化處理設備本體的下方螺紋連接有移動輪;所述往復移動底座上螺紋連接有滑動軌道;所述曝氣池的左側上方螺紋連接有污水緩沖池,本發明結構簡單,安裝方便,結構穩定,使用壽命長,一體式結構,整體性能高,提高凈化均勻度,且定時控制開關,實現智能分步工作,凈化效率高,有效提高水質,減少細菌和雜質。
權利要求書
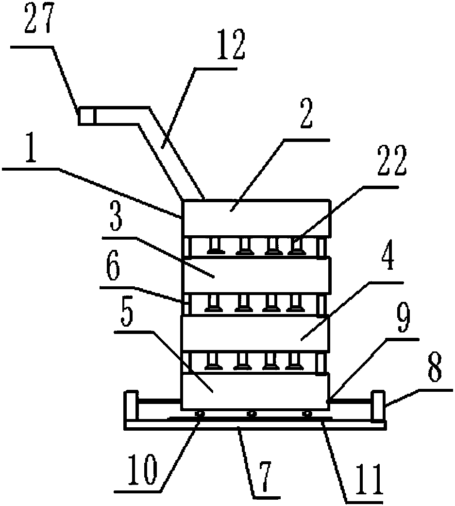
1.一種城市污水凈化處理設備,包括凈化處理設備本體(1),其特征在于:所述凈化處理設備本體(1)由上而下設置有曝氣池(2)、分離凈化池(3)、厭氧生物處理池(4)和超濾凈化池(5);所述曝氣池(2)和分離凈化池(3)、分離凈化池(3)和厭氧生物處理池(4)、厭氧生物處理池(4)和超濾凈化池(5)相鄰之間螺紋連接有支撐柱(6);所述凈化處理設備本體(1)的底部活動連接有往復移動底座(7);所述往復移動底座(7)的兩側螺紋連接有往復電機(8),且往復電機(8)的機械輸出端螺紋連接有牽引機構(9),左右牽引機構(9)對稱分布;所述凈化處理設備本體(1)的下方螺紋連接有移動輪(10);所述往復移動底座(7)上螺紋連接有滑動軌道(11);所述曝氣池(2)的左側上方螺紋連接有污水緩沖池(12)。
2.根據權利要求1所述的城市污水凈化處理設備,其特征在于:所述曝氣池(2)的兩側內壁上螺紋連接有鼓風曝氣機(13)。
3.根據權利要求1所述的城市污水凈化處理設備,其特征在于:所述曝氣池(2)的下方螺紋連接有霧化曝氣管(14),且霧化曝氣管(14)的上方開設有出氣孔(15),且出氣孔(15)上螺紋連接有霧化器(16)。
4.根據權利要求1所述的城市污水凈化處理設備,其特征在于:所述分離凈化池(3)中螺紋連接有污泥分離器(17)和臭氧發生器(18)。
5.根據權利要求1所述的城市污水凈化處理設備,其特征在于:所述厭氧生物處理池(4)中設置有厭氧微生物層板(19),其中填充有厭氧微生物顆粒(20)。
6.根據權利要求1所述的城市污水凈化處理設備,其特征在于:所述超濾凈化池(5)中嵌有超濾膜網(21)。
7.根據權利要求1所述的城市污水凈化處理設備,其特征在于:所述曝氣池(2)、分離凈化池(3)、厭氧生物處理池(4)的底部均設置有定時投放口(22)。
8.根據權利要求7所述的城市污水凈化處理設備,其特征在于:所述定時投放口(22)中螺紋連接有定時控制閥(23),定時控制閥(23)上電性連接有定時器(24),且定時器(24)的輸入端電性連接有設定器(25),設定器(25)螺紋連接于凈化處理設備本體(1)的側方表面上。
9.根據權利要求1所述的城市污水凈化處理設備,其特征在于:所述超濾凈化池(5)的右側開設有管道輸出口(26)。
10.根據權利要求1所述的城市污水凈化處理設備,其特征在于:所述污水緩沖池(12)的側邊無縫焊接有城市污水管道接入口(27)。
說明書
一種城市污水凈化處理設備
技術領域
本發明涉及市政領域,具體為一種城市污水凈化處理設備。
背景技術
城市污水處理是指為改變污水性質,使其對環境水域不產生危害而采取的措施。城市污水處理一般分為三級:一級處理,系應用物理處理法去除污水中不溶解的污染物和寄生蟲卵;二級處理,系應用生物處理法將污水中各種復雜的有機物氧化降解為簡單的物質;三級處理,系應用化學沉淀法、生物化學法、物理化學法等,去除污水中的磷、氮、難降解的有機物、無機鹽等。至于采取哪級處理比較合理,應視對最終排出物的處理要求而定。
現在我們的城市污水處理設備大多體積很大,占用面積很大,這樣一來會增加了我們市政管理的投入成本,且人力的投入也會放大,并且由于含量比較大,所以會出現不均勻的情況,從而會影響到整體的凈化效果,有時需要返工,這樣一來,則會增加投入,耽誤了時間。
所以可以針對此上問題,設計出一體式污水凈化設備,結構穩定,減少占用空間,節省成本,提高凈化的效果。
發明內容
本發明的目的在于提供一種城市污水凈化處理設備,以解決上述背景技術中提出的問題。
本發明提供了一種城市污水凈化處理設備,包括凈化處理設備本體,所述凈化處理設備本體由上而下設置有曝氣池、分離凈化池、厭氧生物處理池和超濾凈化池;所述曝氣池和分離凈化池、分離凈化池和厭氧生物處理池、厭氧生物處理池和超濾凈化池相鄰之間螺紋連接有支撐柱;所述凈化處理設備本體的底部活動連接有往復移動底座;所述往復移動底座的兩側螺紋連接有往復電機,且往復電機的機械輸出端螺紋連接有牽引機構,左右牽引機構對稱分布;所述凈化處理設備本體的下方螺紋連接有移動輪;所述往復移動底座上螺紋連接有滑動軌道;所述曝氣池的左側上方螺紋連接有污水緩沖池。
通過上述技術方案,凈化處理設備本體由上而下設置有曝氣池、分離凈化池、厭氧生物處理池和超濾凈化池,采用一體式結構,減少占用面積,結構完整,曝氣池和分離凈化池、分離凈化池和厭氧生物處理池、厭氧生物處理池和超濾凈化池相鄰之間螺紋連接有支撐柱,結構穩定,使用壽命長,其底部活動連接有往復移動底座,其兩側固定的往復電機可以讓牽引機構左右移動,左右牽引機構對稱分布,從而實現凈化處理設備本體的穩定勻速的左右移動,更進一步得提高了凈化、過濾的效率,減少工作時間,提高均勻程度,凈化處理設備本體的下方螺紋連接有移動輪和往復移動底座上螺紋連接有滑動軌道相互搭配,讓移動的過程更加順暢,曝氣池的左側上方螺紋連接有污水緩沖池,起到緩沖的作用。
優選的,所述曝氣池的兩側內壁上螺紋連接有鼓風曝氣機。
優選的,所述曝氣池的下方螺紋連接有霧化曝氣管,且霧化曝氣管的上方開設有出氣孔,且出氣孔上螺紋連接有霧化器。
通過上述技術方案,采用霧化曝氣管通過霧化器將水源進行霧化后,通過出氣孔噴射出去,提高了曝氣池的曝氣效果。
優選的,所述分離凈化池中螺紋連接有污泥分離器和臭氧發生器。
通過上述技術方案,采用污泥分離器將水中的懸浮物和雜質去除,臭氧發生器增加了水源的清潔度,提高了臭氧的含量,提高水質的質量。
優選的,所述厭氧生物處理池中設置有厭氧微生物層板,其中填充有厭氧微生物顆粒。
通過上述技術方案,采用厭氧微生物層板,其中填充有厭氧微生物顆粒,采用厭氧微生物提高了水的凈化能力。
優選的,所述超濾凈化池中嵌有超濾膜網。
通過上述技術方案,采用超濾膜網進一步提高了水的凈化效果,將小顆粒雜質去除,減少細菌。
優選的,所述曝氣池、分離凈化池、厭氧生物處理池的底部均設置有定時投放口。
優選的,所述定時投放口中螺紋連接有定時控制閥,定時控制閥上電性連接有定時器,且定時器的輸入端電性連接有設定器,設定器螺紋連接于凈化處理設備本體的側方表面上。
通過上述技術方案,定時控制定時投放口的開關和閉合,實現分步工作。
優選的,所述超濾凈化池的右側開設有管道輸出口。
優選的,所述污水緩沖池的側邊無縫焊接有城市污水管道接入口。
與現有技術相比,本發明的有益效果是:此城市污水凈化處理設備結構簡單,安裝方便,結構穩定,使用壽命長,一體式結構,整體性能高,左右移動本體,提高凈化均勻度,且定時控制開關,實現智能分步工作,提高凈化的完整性,凈化效率高,有效提高水質,提高其臭氧含量,減少細菌和雜質。



