申請日2017.10.11
公開(公告)日2018.01.09
IPC分類號B01D36/02; C02F9/02; B02C18/14
摘要
本發明公開了一種用于環保的生活污水凈化再利用裝置,包括集水箱,所述集水箱中部固定連接有縱向隔板,所述縱向隔板上方左側左右對稱固定連接有固定支撐塊,固定支撐塊上方放置有第一沖孔濾板,所述集水箱左側上方固定連接有電機座,電機座上方固定連接有電機,電機輸出端固定連接有水平轉動軸。與現有技術相比,本發明的有益效果是:本發明結構簡單,使用方便,在使用時可以將生活污水進行凈化處理,在進行處理時能夠充分將生活污水中的頭發、線頭等絲狀物進行纏繞收集,避免裝置被堵塞,同時對較大的生活用品殘渣進行粉碎,保證對生活污水的過濾效果,便于將收集的處理水進行再利用,值得推廣。
權利要求書
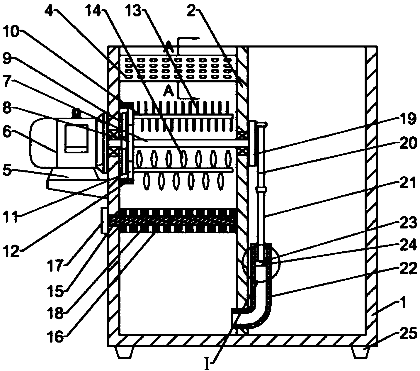
1.一種用于環保的生活污水凈化再利用裝置,包括集水箱(1),其特征在于,所述集水箱(1)中部固定連接有縱向隔板(2),所述縱向隔板(2)上方左側左右對稱固定連接有固定支撐塊(3),固定支撐塊(3)上方放置有第一沖孔濾板(4),所述集水箱(1)左側上方固定連接有電機座(5),電機座(5)上方固定連接有電機(6),電機(6)輸出端固定連接有水平轉動軸(7),水平轉動軸(7)與集水箱(1)和縱向隔板(2)之間通過軸承轉動鏈接,所述水平轉動軸(7)左側固定連接有主動齒輪(8),水平轉動(7)左側轉動連接有轉動連桿(9),轉動連桿(9)位于集水箱(1)左側壁與主動齒輪(8)之間,所述轉動連桿(9)外端均轉動連接有從動齒輪軸(10),從動齒輪軸(10)左側固定連接有從動齒輪(11),從動齒輪(11)與主動齒輪(8)相嚙合,所述集水箱(1)左側壁內部固定連接有嚙合齒圈(12),所述嚙合齒圈(12)與從動齒輪(11)相嚙合,上方所述從動齒輪軸(10)外側固定連接有若干纏繞連桿(13),下方所述從動齒輪軸(10)外側外側固定連接有若干粉碎刀片(14);所述集水箱(1)左側壁中部開設有通槽(15),通槽(15)外側固定連接有蓋板(17),所述通槽(15)內側上下對稱固定連接有第二沖孔濾板(16),蓋板(17)內側固定連接有過濾棉(18),過濾棉(18)穿過通槽(15)位于第二沖孔濾板(16)之間,集水箱(1)右側固定連接有抽水裝置;所述抽水裝置包括轉動板(19),轉動板(19)固定于水平轉動軸(7)右端,所述轉動板(19)外側偏心楚轉動連接有上連桿(20),上連桿(20)下方轉動連接有下連桿(21),縱向隔板(2)下方固定連接有抽水管(22),抽水管(22)內部滑動連接有抽水板(23),所述抽水板(23)余下連桿(21)固定連接,抽水板(23)中部固定連接有單向閥(24),所述單向閥(24)向上方單側連通。
2.根據權利要求1所述的一種用于環保的生活污水凈化再利用裝置,其特征在于,所述集水箱(1)下方左右對稱固定連接彈性支撐墊(25),彈性支撐墊(25)為橡膠材質支撐,所述彈性支撐墊(25)通過螺栓與集水箱(1)固定連接。
3.根據權利要求1所述的一種用于環保的生活污水凈化再利用裝置,其特征在于,所述電機(6)為調速電機。
4.根據權利要求1所述的一種用于環保的生活污水凈化再利用裝置,其特征在于,所述主動齒輪(8)直徑大于從動齒輪(11)直徑。
5.根據權利要求1所述的一種用于環保的生活污水凈化再利用裝置,其特征在于,所述縱向隔板(2)與集水箱(1)采用焊接方式連接。
6.根據權利要求1所述的一種用于環保的生活污水凈化再利用裝置,其特征在于,所述電機座(5)與集水箱(1)之間采用螺栓連接。
7.根據權利要求1所述的一種用于環保的生活污水凈化再利用裝置,其特征在于,所述第一沖孔濾板(4)的濾孔直徑大于第二沖孔濾板(16)的濾孔直徑。
8.根據權利要求1所述的一種用于環保的生活污水凈化再利用裝置,其特征在于,所述纏繞連桿(13)交錯固定于從動齒輪軸(10)外側,所述粉碎刀片(14)交錯固定于從動齒輪軸(10)外側。
說明書
一種用于環保的生活污水凈化再利用裝置
技術領域
本發明涉及一種環保設備,具體是一種用于環保的生活污水凈化再利用裝置。
背景技術
隨著我國城市化發展進程的加快,城市缺水日益嚴重;與此同時城市生活污水排放量越來越大,日趨嚴重的水污染降低了水體的使用功能,使本來就具有的水資源供需矛盾更加尖銳。水資源的短缺問題己成為國家經濟社會可持續發展的嚴重制約因素。針對目前我國水資源短缺的實際情況和生活污水集中處理再生利用的弊端,提出適度的生活污水分散處理及再生利用是對集中污水處理再生利用的必要補充,污水的再生利用是開源節流,減輕水體污染,改善生態環境,解決水資源危機的有效途徑之一。
研究表明,日常生活的污水中,污染雜質一般僅占0.1%,其余都是可以再用的清水。目前日常沖刷廁所用水、清潔地面用水、綠化灌溉用水和消防系統用水一般都直接使用潔凈的自來水,造成了水資源的浪費。同時,日常生活中產生的生活污水一般都是直接排至地下或江河,對環境造成污染。因此,有必要提供一種可對生活污水有效收集、合理利用的生活污水過濾系統。
現有的生活污水再利用時往往用于拖地,沖廁等等,但是使用時需要將較大的雜質濾除,同時需要粉碎較大的雜質,避免裝置被堵塞卡塞,難以起到很好的污水處理效果。為此本領域技術人員提出了一種用于環保的生活污水凈化再利用裝置,以解決上述背景中提出的問題。
發明內容
本發明的目的在于提供一種用于環保的生活污水凈化再利用裝置,以解決上述背景技術中提出的問題。
為實現上述目的,本發明提供如下技術方案:
一種用于環保的生活污水凈化再利用裝置,包括集水箱,所述集水箱中部固定連接有縱向隔板,所述縱向隔板上方左側左右對稱固定連接有固定支撐塊,固定支撐塊上方放置有第一沖孔濾板,所述集水箱左側上方固定連接有電機座,電機座上方固定連接有電機,電機輸出端固定連接有水平轉動軸,水平轉動軸與集水箱和縱向隔板之間通過軸承轉動鏈接,所述水平轉動軸左側固定連接有主動齒輪,水平轉動左側轉動連接有轉動連桿,轉動連桿位于集水箱左側壁與主動齒輪之間,所述轉動連桿外端均轉動連接有從動齒輪軸,從動齒輪軸左側固定連接有從動齒輪,從動齒輪與主動齒輪相嚙合,所述集水箱左側壁內部固定連接有嚙合齒圈,所述嚙合齒圈與從動齒輪相嚙合,上方所述從動齒輪軸外側固定連接有若干纏繞連桿,下方所述從動齒輪軸外側外側固定連接有若干粉碎刀片;所述集水箱左側壁中部開設有通槽,通槽外側固定連接有蓋板,所述通槽內側上下對稱固定連接有第二沖孔濾板,蓋板內側固定連接有過濾棉,過濾棉穿過通槽位于第二沖孔濾板之間,集水箱右側固定連接有抽水裝置;所述抽水裝置包括轉動板,轉動板固定于水平轉動軸右端,所述轉動板外側偏心楚轉動連接有上連桿,上連桿下方轉動連接有下連桿,縱向隔板下方固定連接有抽水管,抽水管內部滑動連接有抽水板,所述抽水板余下連桿固定連接,抽水板中部固定連接有單向閥,所述單向閥向上方單側連通。
作為本發明進一步的方案:所述集水箱下方左右對稱固定連接彈性支撐墊,彈性支撐墊為橡膠材質支撐,所述彈性支撐墊通過螺栓與集水箱固定連接。
作為本發明再進一步的方案:所述電機為調速電機。
作為本發明再進一步的方案:所述主動齒輪直徑大于從動齒輪直徑。
作為本發明再進一步的方案:所述縱向隔板與集水箱采用焊接方式連接。
作為本發明再進一步的方案:所述電機座與集水箱之間采用螺栓連接。
作為本發明再進一步的方案:所述第一沖孔濾板的濾孔直徑大于第二沖孔濾板的濾孔直徑。
作為本發明再進一步的方案:所述纏繞連桿交錯固定于從動齒輪軸外側,所述粉碎刀片交錯固定于從動齒輪軸外側。
與現有技術相比,本發明的有益效果是:本發明結構簡單,使用方便,在使用時可以將生活污水進行凈化處理,在進行處理時能夠充分將生活污水中的頭發、線頭等絲狀物進行纏繞收集,避免裝置被堵塞,同時對較大的生活用品殘渣進行粉碎,保證對生活污水的過濾效果,便于將收集的處理水進行再利用,值得推廣。



