申請日2016.05.16
公開(公告)日2016.09.28
IPC分類號C02F1/28; C02F1/38
摘要
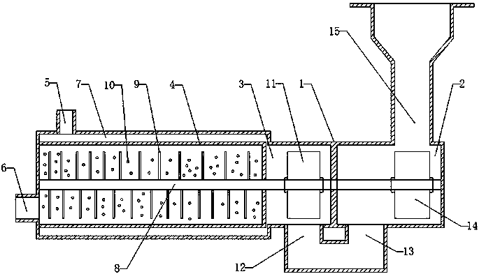
本實用新型公開了一種達標廢水水質調整一體化處理裝置,其特征在于:包括圓柱型的殼體,所述殼體內部采用隔斷分隔成獨立的旋流室和凈化室,在凈化室內固定一圓柱型的金屬網內桶且在金屬網內桶內裝有若干吸附球,在殼體內部中心線上設有一根轉軸且轉軸貫穿金屬網內桶和旋流室,在位于旋流室內的轉軸上均勻設置有第一葉板,在位于凈化室內金屬網內桶外的轉軸上均勻設有第二葉板,在位于金屬網內桶內的轉軸設有若干撥桿,在旋流室上設有第一進水口和第一出水口,凈化室上設有第二進水口和第二出水口,第一出水口和第二進水口連通。本實用新型提供了一種制造成本低、移動方便、占用空間小達標廢水水質調整一體化處理裝置。
權利要求書
1.一種達標廢水水質調整一體化處理裝置,其特征在于:包括圓柱型的殼體(1),所述殼體(1)內部采用隔斷分隔成獨立的旋流室(2)和凈化室(3),在凈化室(3)內固定一圓柱型的金屬網內桶(4)且在金屬網內桶(4)內裝有若干吸附球(10),在殼體(1)內部中心線上設有一根轉軸(8)且轉軸(8)貫穿金屬網內桶(4)和旋流室(2),在位于旋流室(2)內的轉軸(8)上均勻設置有第一葉板(14),在位于凈化室(3)內金屬網內桶(4)外的轉軸(8)上均勻設有第二葉板(11),在位于金屬網內桶(4)內的轉軸(8)設有若干撥桿(9),在旋流室(2)上設有第一進水口(15)和第一出水口(13),凈化室(3)上設有第二進水口(12)和第二出水口(6),第一出水口(13)和第二進水口(12)連通。
2.根據權利要求1所述的一種達標廢水水質調整一體化處理裝置,其特征在于:所述第一進水口(15)和第一出水口(13)位于旋流室(2)圓形外壁的切線方向上且第一進水口(15)和第一出水口(13)不在同一平面內,第一葉板(14)位于第一進水口(15)進水方向上;第二進水口(12)位于凈化室(3)圓形外壁的切線方向上且第二進水口(12)和第一出水口(13)在同一側,第二葉板(11)位于第二進水口(12)的進水方向上,第二出水口(6)位于凈化室(3)的端面且與金屬網內桶(4)連通,從第一進水口(15)和第二進水口(12)進入的水流能分別推動第一葉板(14)和第二葉板(11)驅使轉軸(8)同向轉動。
3.根據權利要求1所述的一種達標廢水水質調整一體化處理裝置,其特征在于:所述金屬網內桶(4)外對應的殼體(1)壁向外突出形成排渣腔(7)并且設有排渣口(5)。
4.根據權利要求1所述的一種達標廢水水質調整一體化處理裝置,其特征在于:所述吸附球(10)為砂粒、黏土顆粒、活性炭、多孔樹脂和聚苯乙烯球形顆粒的混合物。
5.根據權利要求1所述的一種達標廢水水質調整一體化處理裝置,其特征在于:所述金屬網內桶(4)的長徑比至少為5:1。
說明書
一種達標廢水水質調整一體化處理裝置
技術領域
本實用新型涉及水處理技術領域,尤其涉及一種達標廢水水質調整一體化處理裝置。
背景技術
水資源是人類生產生活的最關鍵資源,可是如今,生態環境遭到嚴重破壞,水體污染嚴重,水資源的保護和水污染的治理成為現代社會最關注的問題。對于在水資源短缺,水污染又嚴重的情況下,需要對被污染的水進行處理,使這些被污染的水處理后能重新被利用。目前,對污水處理采用多級處理技術,按照污水處理程度來分可分為一級處理、二級處理和三級處理,一級處理主要是去除污水中呈懸浮狀態的固體物質,處理后的污水不宜排放,還須進行二級處理;二級處理的主要任務是大幅度去除污水中呈膠體和溶解狀態的有機物,一般經過二級處理的污水就可以達到排放標準;三級處理的目的是進一步去除某種特殊的污染物質,如除氟、除磷等,屬于深度處理。
在現在的加工制造業中,工業廢水的量越來越大,各個企業也對如何處理工業廢水越來越重視。廢水經處理后雖然達到排放標準,但出水水質較差,含有大量水藻,富營養化嚴重,接近超標。
實用新型內容
本實用新型的目的在于克服現有技術的缺陷,提供一種制造成本低、移動方便、占用空間小達標廢水水質調整一體化處理裝置。
本實用新型采用的技術方案是:
一種達標廢水水質調整一體化處理裝置,其特征在于:包括圓柱型的殼體,所述殼體內部采用隔斷分隔成獨立的旋流室和凈化室,在凈化室內固定一圓柱型的金屬網內桶且在金屬網內桶內裝有若干吸附球,在殼體內部中心線上設有一根轉軸且轉軸貫穿金屬網內桶和旋流室,在位于旋流室內的轉軸上均勻設置有第一葉板,在位于凈化室內金屬網內桶外的轉軸上均勻設有第二葉板,在位于金屬網內桶內的轉軸設有若干撥桿,在旋流室上設有第一進水口和第一出水口,凈化室上設有第二進水口和第二出水口,第一出水口和第二進水口連通。
進一步地,所述第一進水口和第一出水口位于旋流室圓形外壁的切線方向上且第一進水口和第一出水口不在同一平面內,第一葉板位于第一進水口進水方向上;第二進水口位于凈化室圓形外壁的切線方向上且第二進水口和第一出水口在同一側,第二葉板位于第二進水口的進水方向上,第二出水口位于凈化室的端面且與金屬網內桶連通,從第一進水口和第二進水口進入的水流能分別推動第一葉板和第二葉板驅使轉軸同向轉動。
進一步地,所述金屬網內桶外對應的殼體壁向外突出形成排渣腔并且設有排渣口。
進一步地,所述吸附球為砂粒、黏土顆粒、活性炭、多孔樹脂和聚苯乙烯球形顆粒的混合物。
進一步地,所述金屬網內桶的長徑比至少為5:1。
本實用新型的有益效果是:
本實用新型結構簡單,充分利用水流做攪拌動力的同時完成水質處理過程。濾料介質顆粒有不易堵塞、易沖洗、流動性強的優點,具有截流過濾、生化分解的水體凈化功能,針對達標廢水的水質調整凈化效果好。裝置可根據具體的達標廢水處理量定制大小,具有移動方便、安裝便捷,凈化效率高、占用空間小的優點。本裝置制造成本低,使用簡單,便于推廣運用,水質調整凈化效率高,有利于保護環境。



