申請日2016.05.30
公開(公告)日2016.08.10
IPC分類號C02F11/12
摘要
本發明涉及污泥處理設備領域,尤其涉及一種污泥穩定干化處理系統,它包括壓干筒,所述的壓干筒內設置有安裝塊,所述的安裝塊上設置有支撐氣缸,所述的支撐氣缸上設置有與盛裝容器配合的支撐板,所述的壓干筒的上蓋板下方設置壓干氣缸,所述的壓干氣缸上設置有與盛裝容器配合的壓干板,所述的壓干筒的側板上開設有與盛裝容器配合的取料槽、底板內側設置有電熱層、上蓋板上開設有通氣孔;本發明的目的是提供一種污泥穩定干化處理系統,在壓干筒的下方設置電熱層,通過電熱層將壓出的水分進行蒸發,并通過蒸發后的水蒸氣對壓干處理后的污泥進行二次蒸干,進而提高干化處理的效果,同時降低了水分處理的成本。
摘要附圖
權利要求書
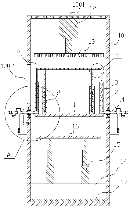
1.一種污泥穩定干化處理系統,它包括壓干筒(10),其特征在于,所述的壓干筒(10)內設置有安裝塊(14),所述的安裝塊(14)上設置有支撐氣缸(15),所述的支撐氣缸(15)上設置有與盛裝容器配合的支撐板(16),所述的壓干筒(10)的上蓋板(1001)下方設置壓干氣缸(12),所述的壓干氣缸(12)上設置有與盛裝容器配合的壓干板(13),所述的壓干筒(10)的側板上開設有與盛裝容器配合的取料槽(1002)、底板內側設置有電熱層(17)、上蓋板(1001)上開設有通氣孔。
2.根據權利要求1所述的一種污泥穩定干化處理系統,其特征在于,所述的盛裝容器包括底板(1)和側板(2),所述的側板(2)的底部連通有穿出壓干筒(10)的進料管(4),所述的側板(2)為中空結構,且中空部位套接有內套板(3),所述的內套板(3)上部設置有過濾層(6)。
3.根據權利要求2所述的一種污泥穩定干化處理系統,其特征在于,所述的進料管(4)設置有兩根,且對稱設置;所述的壓干筒(10)與進料管(4)配合的部位開設有配合槽,且配合槽內設置有與進料管(4)套接配合的軸承套(19),所述的軸承套(19)與配合槽壁之間通過第二彈簧(18)連接。
4.根據權利要求3所述的一種污泥穩定干化處理系統,其特征在于,所述的過濾層(6)包括兩層與內套板(3)連接的壓縮網板(601),且兩層壓縮網板(601)之間設置有一層分子濾膜(602)。
5.根據權利要求3所述的一種污泥穩定干化處理系統,其特征在于,所述的底板(1)的內表面設置有伸縮桿(5),所述的伸縮桿(5)的上端與過濾層(6)連接。
6.根據權利要求5所述的一種污泥穩定干化處理系統,其特征在于,所述的伸縮桿(5)包括設置在底板(1)上的外套管(501),所述的外套管(501)的內部套接有內套管(502),所述的內套管(502)的底部通過第一彈簧(503)與外套管(501)的內底面連接。
7.根據權利要求3所述的一種污泥穩定干化處理系統,其特征在于,所述的進料管(4)上設置有進料閥(9),且進料管(4)位于進料閥(9)與盛裝容器之間的部位連接有出液管(7),所述的出液管(7)上設置有出料閥(8)。
8.根據權利要求7所述的一種污泥穩定干化處理系統,其特征在于,所述的出液管(7)與進料管(4)連通的部位設置有過濾膜。
9.根據權利要求3-8任一項所述的一種污泥穩定干化處理系統,其特征在于,一根進料管(4)通過皮帶輪(20)和皮帶(21)與壓干筒(10)外側設置的電機(11)連接,所述的進料管(4)上設置有進料箱(22),所述的進料箱(22)通過支架(23)設置在壓干筒(10)上,且支架(23)有一段為豎直設置的第三彈簧(24);所述的進料管(4)分為兩段,且均與進料箱(22)連通,且皮帶輪(20)設置在靠近壓干筒(10)的一段進料管(4)上,此段進料管(4)與進料箱(22)配合的部位設置有密封套(25);出液管(7)位于遠離壓干筒(10)的一段進料管(4)上。
10.根據權利要求9所述的一種污泥穩定干化處理系統,其特征在于,所述的支撐氣缸(15)為多段式氣缸,所述的壓干板(13)上開設有通氣孔。
說明書
一種污泥穩定干化處理系統
技術領域
本發明涉及污泥處理設備領域,尤其涉及一種污泥穩定干化處理系統。
背景技術
城市化污水的收集和處理會伴隨污泥的產生,污泥中含有大量的有機質和營養元素,有農用資源化價值,另一方面,污泥中含有大量的重金屬物質、病原體、病毒微生物和大量的毒性有機物,很容易造成二次污染,因此需要對污泥進行處理。
而現有的污水處理前大多需要將污泥進行干化處理,現有的干化處理大多采用機械壓榨法,即壓干處理,現有的壓干處理大多都設置有一個盛裝容器,盛裝容器底部為分子濾膜,上部設置有壓縮部件,通過壓縮部件將污泥中的水分從分子濾膜壓出,實現干化的效果,但是現有的壓干裝置,壓縮效果不是很理想,污泥中會殘存較多的水分,同時也需要多壓出來的水分進行二次處理,提高了處理成本。
發明內容
本發明的目的是提供一種污泥穩定干化處理系統,在壓干筒的下方設置電熱層,通過電熱層將壓出的水分進行蒸發,并通過蒸發后的水蒸氣對壓干處理后的污泥進行二次蒸干,進而提高干化處理的效果,同時降低了水分處理的成本。
為了實現以上目的,本發明采用的技術方案為:一種污泥穩定干化處理系統,它包括壓干筒(10),所述的壓干筒(10)內設置有安裝塊(14),所述的安裝塊(14)上設置有支撐氣缸(15),所述的支撐氣缸(15)上設置有與盛裝容器配合的支撐板(16),所述的壓干筒(10)的上蓋板(1001)下方設置壓干氣缸(12),所述的壓干氣缸(12)上設置有與盛裝容器配合的壓干板(13),所述的壓干筒(10)的側板上開設有與盛裝容器配合的取料槽(1002)、底板內側設置有電熱層(17)、上蓋板(1001)上開設有通氣孔。
進一步的,所述的盛裝容器包括底板(1)和側板(2),所述的側板(2)的底部連通有穿出壓干筒(10)的進料管(4),所述的側板(2)為中空結構,且中空部位套接有內套板(3),所述的內套板(3)上部設置有過濾層(6)。
進一步的,所述的進料管(4)設置有兩根,且對稱設置;所述的壓干筒(10)與進料管(4)配合的部位開設有配合槽,且配合槽內設置有與進料管(4)套接配合的軸承套(19),所述的軸承套(19)與配合槽壁之間通過第二彈簧(18)連接。
進一步的,所述的過濾層(6)包括兩層與內套板(3)連接的壓縮網板(601),且兩層壓縮網板(601)之間設置有一層分子濾膜(602)。
進一步的,所述的底板(1)的內表面設置有伸縮桿(5),所述的伸縮桿(5)的上端與過濾層(6)連接。
進一步的,所述的伸縮桿(5)包括設置在底板(1)上的外套管(501),所述的外套管(501)的內部套接有內套管(502),所述的內套管(502)的底部通過第一彈簧(503)與外套管(501)的內底面連接。
進一步的,所述的進料管(4)上設置有進料閥(9),且進料管(4)位于進料閥(9)與盛裝容器之間的部位連接有出液管(7),所述的出液管(7)上設置有出料閥(8)。
進一步的,所述的出液管(7)與進料管(4)連通的部位設置有過濾膜。
進一步的,一根進料管(4)通過皮帶輪(20)和皮帶(21)與壓干筒(10)外側設置的電機(11)連接,所述的進料管(4)上設置有進料箱(22),所述的進料箱(22)通過支架(23)設置在壓干筒(10)上,且支架(23)有一段為豎直設置的第三彈簧(24);所述的進料管(4)分為兩段,且均與進料箱(22)連通,且皮帶輪(20)設置在靠近壓干筒(10)的一段進料管(4)上,此段進料管(4)與進料箱(22)配合的部位設置有密封套(25);出液管(7)位于遠離壓干筒(10)的一段進料管(4)上。
進一步的,所述的支撐氣缸(15)為多段式氣缸,所述的壓干板(13)上開設有通氣孔。
本發明的有益效果為:
1、在壓干筒的下方設置電熱層,通過電熱層將壓出的水分進行蒸發,并通過蒸發后的水蒸氣對壓干處理后的污泥進行二次蒸干,進而提高干化處理的效果,同時降低了水分處理的成本。
2、盛裝容器可以使污泥從盛裝容器的下方進入到容器,在容器的上方設置過濾層,利用水和泥的物理性質,水在上層,泥在下層,進而可以自動的將水分從過濾層排出,使容器中的水分含量小,提高了后期壓干的效果。
3、進料管的數量設計,配合第二彈簧和軸承套,可以防止在壓縮的時候折彎或折斷進料管,可以很好的保護進料管。
4、過濾層的結構設計,采用兩層壓縮網板之間設置一層分子濾膜,進而可以將水分子排出,同時在壓干的時候可以很好的保護分子濾膜,使其不會被損壞。
5、伸縮桿的設計,可以控制過濾層的高度,進而控制內套板的高度,進而可以控制盛裝容器中盛裝量在適合的壓干范圍內。
6、伸縮桿的結構設計簡單,無需外接動力源,操作方便,便于壓縮。
7、出液管、進料閥和出液閥的設計,使進料管在壓縮的時候可以起到出料的效果。
8、過濾膜的設計,可以防止泥土被壓入出液管,保證了壓干效果的同時防止出液管被堵塞。
9、電機、皮帶和皮帶輪的設計,可以實現盛裝容器的翻轉,進而實現兩面壓干,進而可以達到更好的壓干效果,同時通過進料箱的設計,不會影響到進料管的進料和出液,密封套的設計可以防止漏液。
10、支撐氣缸設置成多段式氣缸,可以防止在容器翻轉的過程中,盛裝容器與支撐板發生碰撞;壓干板上通氣孔的設計便于水蒸氣的排出。


