申請日2016.05.16
公開(公告)日2016.12.21
IPC分類號C02F9/14
摘要
本實用新型屬于水處理設備領域,提供了一種用于水處理設備的復合濾芯及含有該用于水處理設備的復合濾芯的凈水器。本實用新型提供的用于水處理設備的復合濾芯包括活性炭濾芯、高分子超濾膜濾芯和抗菌無紡布濾芯;其中,活性炭濾芯位于最外層,為中空的桶狀;高分子超濾膜濾芯和抗菌無紡布濾芯位于活性炭濾芯中空的內部,且高分子超濾膜濾芯和抗菌無紡布濾芯串聯連接。使用本實用新型提供的用于水處理設備的復合濾芯或者凈水器可以以分級過濾的方式對自來水進行過濾,提高了過濾效率和濾芯的使用壽命,降低了成本,同時還可以方便、有效地對用于水處理設備的復合濾芯進行殺菌,阻止了凈水器出水端的反向細菌滋生,防止了凈化水的二次污染。
權利要求書
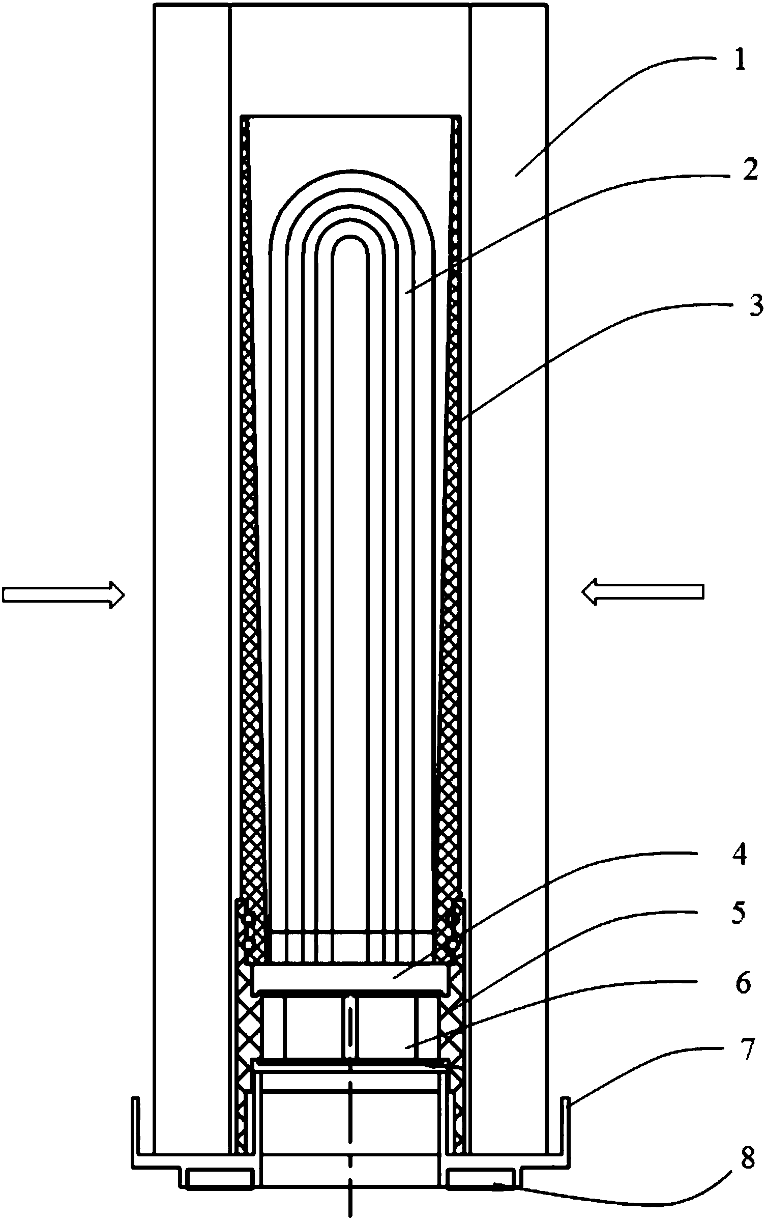
1.一種用于水處理設備的復合濾芯,其特征在于,所述用于水處理設備的復合濾芯包括:
活性炭濾芯、高分子超濾膜濾芯和抗菌無紡布濾芯;其中,
所述活性炭濾芯位于最外層,為中空的桶狀;
所述高分子超濾膜濾芯和抗菌無紡布濾芯位于所述活性炭濾芯中空的內部;
所述高分子超濾膜濾芯包括膜絲保護殼、高分子超濾中空纖維膜和膜絲封膠層;所述抗菌無紡布濾芯包括抗菌層保護殼和抗菌無紡布層;其中,所述高分子超濾中空纖維膜位于所述膜絲保護殼的空腔內,所述膜絲封膠層位于所述膜絲保護殼和抗菌層保護殼的相接處,所述抗菌無紡布層位于所述抗菌層保護殼的空腔中;
所述膜絲保護殼和所述抗菌層保護殼以卡接的方式串聯連接。
2.根據權利要求1所述的用于水處理設備的復合濾芯,其特征在于,
所述活性炭濾芯包括濾芯端蓋和活性炭棒,所述濾芯端蓋固定于所述活性炭棒的下端;所述濾芯端蓋具有和所述抗菌無紡布濾芯的出水口相對應的孔。
3.根據權利要求1所述的用于水處理設備的復合濾芯,其特征在于,
所述抗菌無紡布層由呈片狀的、負載有抗菌劑的無紡布通過卷繞的方式填充于所述抗菌層保護殼內。
4.根據權利要求1所述的用于水處理設備的復合濾芯,其特征在于,
所述復合濾芯還包括濾芯墊圈,所述濾芯墊圈位于所述復合濾芯的下方的出口處,用以防止水從所述復合濾芯的出口與凈水器的固定組件之間的相接處滲漏。
5.一種凈水器,其特征在于,所述凈水器含有權利要求1-4中任一項所 述的用于水處理設備的復合濾芯。
說明書
用于水處理設備的復合濾芯及含有該濾芯的凈水器
技術領域
本實用新型屬于水處理設備領域,特別涉及一種用于水處理設備的復合濾芯及含有該濾芯的凈水器。
背景技術
水是人類賴以生存的重要自然資源。全球水環境質量的嚴重惡化和經濟的高速發展,使得飲水安全問題備受關注,不僅僅是發達國家關注的民生熱點,更是廣大發展中國家亟待解決的重大民生問題。我國的水資源分布不均、水資源保護不力、城市輸送管網二次污染等諸多問題,使得飲用水的質量安全問題日益突出,迫切要求適合時代發展的純水凈化技術,以保障千家萬戶飲用水的安全健康。因此,各種新型、改良型的家用高效凈水技術應運而生。其中,膜法水處理技術以其高效、節能、設備簡單、操作方便等特點,在水處理領域中應用廣泛。
膜法水處理技術在使用過程中,市面上在售的各級濾芯業已實現100%的細菌截留率,保證經過過濾后能夠實現完全除菌的效果。但是,至今為止仍普遍存在一個不容忽視的重要問題亟待解決——即凈化水出口端的反向細菌滋生,將造成凈化水的二次污染。眾所周知,在目前家用膜領域的死端過濾體系中,濾芯在使用過程中完全浸沒水中或充滿水,長期保持濕潤狀態,在長時間沒有水體流動的情況下容易在凈水出口端滋生細菌,進而失去超微濾甚至反滲透系統的除菌效果。因此,采取相應的殺滅細菌的措施和防治對策,使凈水出口端保持無菌狀態十分關鍵與重要。
實用新型內容
為了解決現有技術中存在的上述問題,本實用新型的第一個方面提供了一種用于水處理設備的復合濾芯,所述用于水處理設備的復合濾芯包括:
活性炭濾芯、高分子超濾膜濾芯和抗菌無紡布濾芯;其中,
所述活性炭濾芯位于最外層,為中空的桶狀;
所述高分子超濾膜濾芯和抗菌無紡布濾芯位于所述活性炭濾芯中空的內部,且所述高分子超濾膜濾芯和所述抗菌無紡布濾芯串聯連接。
優選地,所述活性炭濾芯包括濾芯端蓋和活性炭棒,所述濾芯端蓋固定于所述活性炭棒的下端;所述濾芯端蓋具有和所述抗菌無紡布濾芯的出水口相對應的孔。
優選地,所述高分子超濾膜濾芯包括膜絲保護殼、高分子超濾中空纖維膜和膜絲封膠層;所述抗菌無紡布濾芯包括抗菌層保護殼和抗菌無紡布層;其中,所述高分子超濾中空纖維膜位于所述膜絲保護殼的空腔內,所述膜絲封膠層位于所述膜絲保護殼和抗菌層保護殼的相接處,所述抗菌無紡布層位于所述抗菌層保護殼的空腔中。
優選地,所述膜絲保護殼和所述抗菌層保護殼以卡接的方式串聯連接。
優選地,所述抗菌無紡布層由呈片狀的、負載有抗菌劑的無紡布通過卷繞的方式填充于所述抗菌層保護殼內。
優選地,所述復合濾芯還包括濾芯墊圈,所述濾芯墊圈位于所述復合濾芯的下方的出口處,用以防止水從所述復合濾芯的出口與凈水器的固定組件之間的相接處滲漏。
優選地,所述濾芯墊圈的材質為丁腈橡膠、硅橡膠、三元乙丙橡膠、氯丁橡膠和丙烯酸酯橡膠中的任意一種或多種。
優選地,所述活性炭棒的材質為粉末活性炭、顆粒活性炭、活性炭纖維氈和燒結活性炭中的任意一種或多種;所述濾芯端蓋的材質為丙烯腈-丁二烯-苯乙烯共聚物、聚乙烯、聚丙烯、聚氯乙烯和不銹鋼中的任意一種或多種;所述膜絲保護殼的材質為丙烯腈-丁二烯-苯乙烯共聚物、聚乙烯、聚丙烯、聚氯乙烯和不銹鋼中的任意一種或多種;所述高分子超濾中空纖維膜的材質為聚偏氟乙烯膜、聚砜膜、聚醚砜膜、聚氯乙烯膜和聚丙烯腈膜中的任意一種或多種;所述膜絲封膠層的材質為環氧樹脂膠、丙烯酸樹脂膠、聚氨酯改性環氧樹脂和納米摻雜型環氧樹脂中的任意一種或多種;所述抗菌層保護殼的材質為丙烯腈-丁二烯-苯乙烯共聚物、聚乙烯、聚丙烯、聚氯乙烯和不銹鋼中的任意一種或多種。
優選地,所述抗菌劑是無機型抗菌劑、有機型抗菌劑和復合型抗菌劑中的任意一種或多種。
本實用新型的第二個方面提供了一種凈水器,所述凈水器含有根據本實用新型的第一個方面提供的用于水處理設備的復合濾芯。
本實用新型提供的用于水處理設備的復合濾芯,通過活性炭濾芯、高分子超濾膜濾芯和抗菌無紡布濾芯依次對自來水進行過濾,不僅可以順利的除去自來水中的泥沙、鐵銹、凝膠等大顆粒雜質,還可以除去水中的小顆粒雜質和細菌。使用本實用新型提供的用于水處理設備的復合濾芯或者含有該用于水處理設備的復合濾芯的凈水器可以以分級過濾的方式對自來水進行過濾,提高了過濾效率和濾芯的使用壽命,降低了成本,更由于在用于水處理設備的復合濾芯的出水端設置了抗菌無紡布濾芯,從而實現了凈水出水端的除菌/抑菌功能,可以方便、有效地對用于水處理設備的復合濾芯進行殺菌,阻止了凈水器出水端的反向細菌滋生,防止了凈化水的二次污染。本實用新型提供的用于水處理設備的復合濾芯具有長效、廣譜殺菌功效,同時輕巧便攜、易拆裝換洗等特點,適用范圍廣,可廣泛應用于廚下凈水機、直飲水機、RO機的前置過濾等。



