申請日2016.05.07
公開(公告)日2016.11.30
IPC分類號C02F1/40; C02F9/02
摘要
本實用新型公開了一種餐飲污水的油水分離裝置,包括箱體,箱體的一端側壁上開設有污水進口、另一端側壁上開設有排水口,箱體內靠近污水進口的一端頂部活動設置有第一隔油板,箱體內靠近排水口的一端頂部活動設置有第二隔油板,第一隔油板上與第二隔油板背對的側壁固定連接第一擠油氣缸的活塞桿,第二隔油板上與第一隔油板背對的側壁固定連接第二擠油氣缸的活塞桿,第一隔油板和第二隔油板之間的箱體頂部壁上成型有排油區,排油區的兩端連接有兩個導油槽,排油區上具有多個排油孔,排油孔上垂直設有與導油槽對應的刮油板,刮油板的下端緊貼排油孔。本實用新型具有結構簡單,體積小,油水分離效果好,無需開蓋舀油,操作方便的優點。
權利要求書
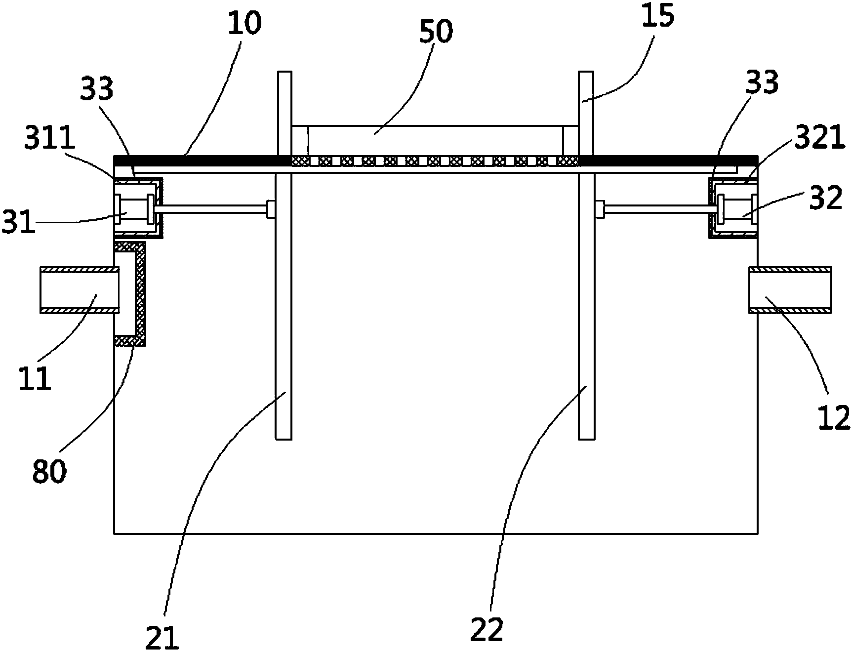
1.一種餐飲污水的油水分離裝置,包括箱體(10),所述箱體的一端側壁上開設有污水進口(11)、另一端側壁上開設有排水口(12),其特征在于:
所述箱體(10)內靠近所述污水進口(11)的一端頂部活動設置有第一隔油板(21),箱體(10)內靠近所述排水口(12)的一端頂部活動設置有第二隔油板(22),所述第一隔油板(21)和第二隔油板(22)距箱體(10)底部一段距離,第一隔油板(21)的前后端分別緊貼箱體(10)的前后側壁,第一隔油板(21)上與第二隔油板(22)背對的側壁固定連接第一擠油氣缸(31)的活塞桿,第二隔油板(22)的前后端分別緊貼箱體(10)的前后側壁,第二隔油板(22)上與第一隔油板(21)背對的側壁固定連接第二擠油氣缸(32)的活塞桿,第一隔油板(21)和第二隔油板(22)之間的箱體(10)頂部壁上成型有排油區(14),所述排油區的兩端連接有兩個導油槽(40),排油區(14)上具有多個排油孔(141),所述排油孔上垂直設有與所述導油槽(40)對應的刮油板(50),所述刮油板的下端緊貼排油孔(141),排油區(14)兩側的箱體(10)上成型有一對圍板(15),所述一對圍板相向的側壁上開設有一對移動槽(151),刮油板(50)的兩端分別插接在對應的移動槽(151)內,刮油板(50)的兩端分別固定連接雙軸氣缸(70)的雙軸,所述雙軸氣缸的雙軸分別伸入對應的移動槽(151)內;
所述污水進口(11)四周的箱體(10)內壁上固定有雜質過濾網框(80),所述雜質過濾網框的上端和下端成型有連接部(81),污水進口(11)上方和下方的箱體(10)內壁上成型有連接槽(17),所述連接槽的上下側壁上螺接有一對球頭柱塞(90),所述連接部(81)的上下側壁上具有與所述球頭柱塞(90)配合的凹孔(811),所述球頭柱塞(90)的球頭嵌套在所述凹孔(811)內。
2.根據權利要求1所述的餐飲污水的油水分離裝置,其特征在于:所述兩個導油槽(40)均位于刮油板(50)的下方且導油槽(40)傾斜連接在排油區(14)的兩端部,導油槽(40)的另一端連接有集油箱(60),導油槽(40)與排油區(14)連接的一端高于與集油箱(60)連接的一端。
3.根據權利要求1所述的餐飲污水的油水分離裝置,其特征在于:所述第一隔油板(21)和第二隔油板(22)的前后端成型有導向塊(23),所述箱體(10)的前后側壁上分別成型有與所述導向塊(23)對應的導向槽(13),導向塊(23)插接在所述導向槽(13)內。
4.根據權利要求1所述的餐飲污水的油水分離裝置,其特征在于:所述第一擠油氣缸(31)通過第一殼體(311)固定在箱體(10)的側壁上,第一擠油氣缸(31)的活塞桿穿出所述第一殼體(311)的側壁并與第一隔油板(21)固定連接,第一殼體(311)與污水進口(11)位于箱體(10)的同一側壁上,第一殼體(311)位于污水進口(11)的上方;所述第二擠油氣缸(32)通過第二殼體(321)固定在箱體(10)的側壁上,第二擠油氣缸(32)的活塞桿穿出所述第二殼體(321)的側壁并與第二隔油板(22)固定連接,第二殼體(321)與排水口(12)位于箱體(10)的同一側壁上,第二殼體(321)位于排水口(12)的上方,第一殼體(311)和第二殼體(321)的外側壁均涂覆有不親油材料(33)。
5.根據權利要求1所述的餐飲污水的油水分離裝置,其特征在于:所述雜質過濾網框(80)下方的箱體(10)側壁上成型有可開閉的門體(16)。
6.根據權利要求1所述的餐飲污水的油水分離裝置,其特征在于:所述雙軸氣缸(70)通過氣缸板(71)固定在箱體(10)的外側壁上。
說明書
一種餐飲污水的油水分離裝置
技術領域:
本實用新型涉及污水處理技術領域,具體是涉及一種餐飲污水的油水分離裝置。
背景技術:
餐廚污水帶油廢棄物、油脂等物質,易腐爛、散發惡臭,其形狀和氣味都會對環境衛生造成惡劣影響,且容易滋長病原微生物、霉菌梅毒等有害物質。餐廚污水未經處理就排放到外界,會引發出一系列健康、衛生、安全等方面的社會問題,因此餐飲污水的處理是非常必要和迫切的。
餐飲污水一般都是帶油的污水,而帶油的污水需要對其中的油水進行分離,現有的油水分離器一般是小型的廚房用油水分離器,這一類的油水分離器雖然體積小,但是其內部結構設計不合理,油水分離效果差,另外,被分離的油要打開油收集池的上蓋將油舀出,操作麻煩,而且分離后上層油脂要隔一段時間才舀一次,油不能及時排除,容易發臭,產生微生物等,影響廚房環境。
實用新型內容:
本實用新型的目的旨在解決現有技術存在的問題,提供一種結構簡單,體積小,油水分離效果好,無需開蓋舀油,操作方便的餐飲污水的油水分離裝置。
本實用新型涉及一種餐飲污水的油水分離裝置,包括箱體,所述箱體的一端側壁上開設有污水進口、另一端側壁上開設有排水口,所述箱體內靠近所述污水進口的一端頂部活動設置有第一隔油板,箱體內靠近所述排水口的一端頂部活動設置有第二隔油板,所述第一隔油板和第二隔油板距箱體底部一段距離,第一隔油板的前后端分別緊貼箱體的前后側壁,第一隔油板上與第二隔油板背對的側壁固定連接第一擠油氣缸的活塞桿,第二隔油板的前后端分別緊貼箱體的前后側壁,第二隔油板上與第一隔油板背對的側壁固定連接第二擠油氣缸的活塞桿,第一隔油板和第二隔油板之間的箱體頂部壁上成型有排油區,所述排油區的兩端連接有兩個導油槽,排油區上具有多個排油孔,所述排油孔上垂直設有與所述導油槽對應的刮油板,所述刮油板的下端緊貼排油孔,排油區兩側的箱體上成型有一對圍板,所述一對圍板相向的側壁上開設有一對移動槽,刮油板的兩端分別插接在對應的移動槽內,刮油板的兩端分別固定連接雙軸氣缸的雙軸,所述雙軸氣缸的雙軸分別伸入對應的移動槽內;
所述污水進口四周的箱體內壁上固定有雜質過濾網框,所述雜質過濾網框的上端和下端成型有連接部,污水進口上方和下方的箱體內壁上成型有連接槽,所述連接槽的上下側壁上螺接有一對球頭柱塞,所述連接部的上下側壁上具有與所述球頭柱塞配合的凹孔,所述球頭柱塞的球頭嵌套在所述凹孔內。
借由上述技術方案,本實用新型的油水分離裝置在使用時,廚房、餐廳等排出的帶油的污水從箱體的污水進口進入箱體內,然后進入第一隔油板與第二隔油板之間的空間,污水中的水和油借助油水比重差分離,油輕則在該空間聚集上浮,始終聚集在第一隔油板和第二隔油板之間的空間,當需要將該空間內的油清除時,只需同時啟動第一擠油氣缸和第二擠油氣缸,第一擠油氣缸和第二擠油氣缸的活塞桿帶動第一隔油板和第二隔油板相向移動并靠近,隨著第一隔油板與第二隔油板之間的距離越來越近,第一隔油板和第二隔油板之間的空間下部的水被向下擠出至箱體內的下部、空間上部的油則被向上擠壓,被擠壓的油通過箱體頂部壁的排油區的排油孔排出箱體外,隨著油被擠出排油孔,雙軸氣缸也同時啟動,其雙活塞桿伸展帶動刮油板在一對圍板之間的移動槽內向一側移動,同時刮油板的下端與排油孔接觸向一側移動,排油孔上溢出的油被刮油板刮下,刮下的油被排油區一端的導油槽收集,當雙軸氣缸的雙活塞桿回縮時,雙活塞桿帶動刮油板在移動槽內向圍板的另一側移動,同時刮油板的下端與排油孔接觸向另一側移動,隨著油被不斷擠壓上來,排油孔上溢出的油繼續被刮油板刮下,刮下的油被排油區另一端的導油槽收集,從而刮油板來回移動將排油孔上的油分別刮入兩個導油槽中,兩個導油槽將油收集從而排出箱體外部。另外,因為餐飲廚房污水帶油各種殘渣,為了更好地凈化污水,在污水進口處設置雜質過濾網框,將污水中的雜質收集,這樣雜質殘渣等東西不容易在箱體中腐爛發臭,雜質過濾網框可采用不銹鋼制成,易清洗,需要清理的時候只需用力將雜質過濾網框向背離箱體側壁的方向拉,此時雜質過濾網框的連接部的凹孔在力的作用下脫離連接槽內的球頭柱塞,由此可輕松將雜質過濾網框從箱體上拆卸下來進行清洗。
通過上述方案,本實用新型的帶有污水的油水分離裝置結構簡單,設計合理,體積小,通過在箱體的頂部活動設置兩個隔油板,將與水分離的油聚集在兩隔油板之間,并通過與兩隔油板連接的擠油氣缸帶動隔油板相向擠壓油,由此將油從箱體內排出,這種結構不僅油水分離效果好,分離凈化率高,且不用開蓋舀油,操作簡便。
作為上述方案的一種優選,所述兩個導油槽均位于刮油板的下方且導油槽傾斜連接在排油區的兩端部,導油槽的另一端連接有集油箱,導油槽與排油區連接的一端高于與集油箱連接的一端。按上述方案,傾斜設置的導油槽更有利于將刮油板刮下的油及時排離箱體,并將油導流至集油箱內,避免油長時間堆積在箱體上而導致滋生微生物、發臭。
作為上述方案的一種優選,所述第一隔油板和第二隔油板的前后端成型有導向塊,所述箱體的前后側壁上分別成型有與所述導向塊對應的導向槽,導向塊插接在所述導向槽內。按上述方案,所述導向塊對第一隔油板和第二隔油板在相向運動時的位置進行導向。
作為上述方案的一種優選,所述第一擠油氣缸通過第一殼體固定在箱體的側壁上,第一擠油氣缸的活塞桿穿出所述第一殼體的側壁并與第一隔油板固定連接,第一殼體與污水進口位于箱體的同一側壁上,第一殼體位于污水進口的上方;所述第二擠油氣缸通過第二殼體固定在箱體的側壁上,第二擠油氣缸的活塞桿穿出所述第二殼體的側壁并與第二隔油板固定連接,第二殼體與排水口位于箱體的同一側壁上,第二殼體位于排水口的上方,第一殼體和第二殼體的外側壁均涂覆有不親油材料。
作為上述方案的一種優選,所述雜質過濾網框下方的箱體側壁上成型有可開閉的門體。按上述方案,只需打開所述門體,即可將箱體內的雜質過濾網框拆卸下來,操作方便。
作為上述方案的一種優選,所述雙軸氣缸通過氣缸板固定在箱體的外側壁上。
上述說明僅是本實用新型技術方案的概述,為了能夠更清楚了解本實用新型的技術手段,并可依照說明書的內容予以實施,以下以本實用新型的較佳實施例并配合附圖詳細說明如后。



