申請日2016.05.07
公開(公告)日2016.11.30
IPC分類號B01D33/01
摘要
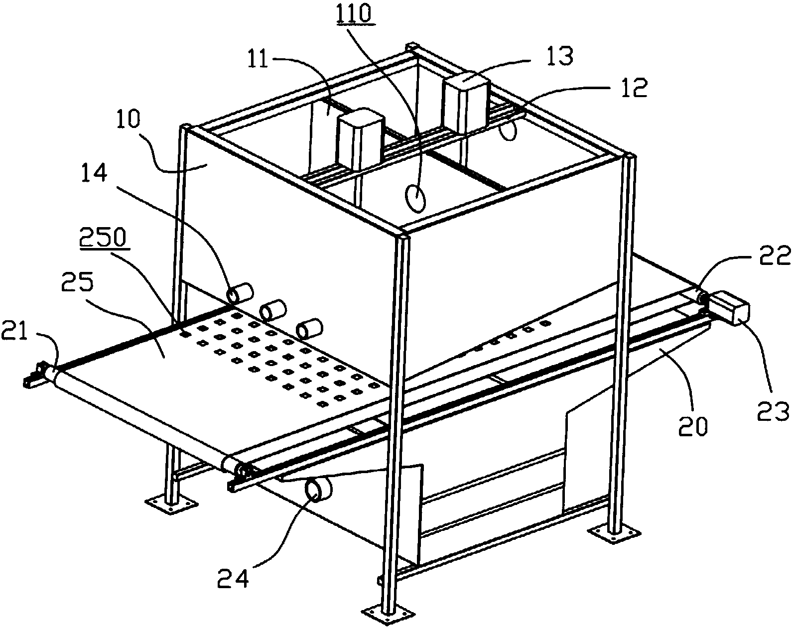
本實用新型公開了一種污水初步除雜凈化設備,包括攪動箱和收集箱,攪動箱位于收集箱的上方,攪動箱內部設有豎直的隔板,隔板開有隔板孔,攪動箱被劃分為兩個空間;攪動箱頂部還設有電機支架,電機支架上安裝兩個大電機,兩個大電機分別位于攪動箱的兩個空間內,大電機的輸出端安裝葉片;攪動箱的前端板上設有進水管,攪動箱的后端板上設有三個攪動箱出水管;收集箱呈開口狀箱體,收集箱的兩端分別設有主動軸和傳動軸,主動軸和傳動軸之間安裝除雜帶,除雜帶上設有數個除雜孔,除雜帶位于攪動箱出水管的下方。本實用新型的自動化程度高,能大大提高污水處理效果。
權利要求書
1.一種污水初步除雜凈化設備,包括攪動箱(10)和收集箱(20),所述攪動箱(10)位于收集箱(20)的上方,其特征在于:所述攪動箱(10)內部設有豎直的隔板(11),所述隔板(11)開有隔板孔(110),攪動箱(10)被劃分為兩個空間;攪動箱(10)頂部還設有電機支架(12),所述電機支架(12)上安裝兩個大電機(13),所述兩個大電機(13)分別位于攪動箱(10)的兩個空間內,大電機(13)的輸出端安裝葉片(130);攪動箱(10)的前端板上設有進水管(15),攪動箱(10)的后端板上設有三個攪動箱出水管(14);所述收集箱(20)呈開口狀箱體,收集箱(20)的兩端分別設有主動軸(22)和傳動軸(21),所述主動軸(22)和傳動軸(21)之間安裝除雜帶(25),所述除雜帶(25)上設有數個除雜孔(250),所述除雜帶(25)位于攪動箱出水管(14)的下方。
2.如權利要求1所述的一種污水初步除雜凈化設備,其特征在于:所述主動軸(22)的一端與小電機(23)連接,所述小電機(23)安裝在收集箱(20)的箱體上。
3.如權利要求1所述的一種污水初步除雜凈化設備,其特征在于:所述收集箱(20)上設有收集箱出水管(24),所述收集箱出水管(24)位于收集箱(20)的底部。
4.如權利要求1所述的一種污水初步除雜凈化設備,其特征在于:所述攪動箱(10)的底部設有攪動箱下板(16),所述攪動箱下板(16)傾斜設置。
5.如權利要求1所述的一種污水初步除雜凈化設備,其特征在于:所述除雜帶(25)為完整的輸送帶,除雜帶(25)的下部帶體也設有除雜孔(250),且下部帶體的除雜孔(250)的尺寸比上部帶體的除雜孔(250)小。
說明書
一種污水初步除雜凈化設備
技術領域:
本實用新型涉及污水處理技術領域,具體而言,涉及一種污水初步除雜凈化設備。
背景技術:
隨著人們對環境的重視程度越來越高,政府對企業排放出來的污水的標準也越來越嚴格,對污水的處理技術的要求也越來越高。污水被處理的時候,首先要進過初步除雜凈化處理,實用新型CN201120449627.7一種皮革生產中污水除雜裝置中介紹,包括一固定槽,固定槽內設有過濾槽,過濾槽內設有除雜機構,過濾槽一端連接有污水進水管,固定槽底部一端設有出水口,除雜機構包括轉軸、電機及連接于轉軸上的刷體,轉軸兩端通過軸承座安裝于固定槽的兩端,電機通過皮帶連接有減速器,減速器通過傳動鏈條連接一轉盤,轉盤連接于轉軸的一端,刷體至少設有一組,每組刷體至少包括兩個刷頭,刷頭通過連桿固定連接于轉軸上,刷頭的底邊與過濾槽相接觸。但是利用刷體和刷頭對污水的除雜效果并不明顯,還會致使刷頭堵塞,需要經常更換刷頭。
發明內容:
本實用新型的目的就在于針對現有技術存在的不足之處而提供一種污水初步除雜凈化設備,其具有自動化程度高,污水處理效果好 的特點。
針對上述缺點,本實用新型的具體解決方案如下:
一種污水初步除雜凈化設備,包括攪動箱和收集箱,所述攪動箱位于收集箱的上方,所述攪動箱內部設有豎直的隔板,所述隔板開有隔板孔,攪動箱被劃分為兩個空間;攪動箱頂部還設有電機支架,所述電機支架上安裝兩個大電機,所述兩個大電機分別位于攪動箱的兩個空間內,大電機的輸出端安裝葉片;攪動箱的前端板上設有進水管,攪動箱的后端板上設有三個攪動箱出水管;所述收集箱呈開口狀箱體,收集箱的兩端分別設有主動軸和傳動軸,所述主動軸和傳動軸之間安裝除雜帶,所述除雜帶上設有數個除雜孔,所述除雜帶位于攪動箱出水管的下方。
按上述技術方案,將含有雜質的污水通過進水管進入攪動箱,兩個大電機帶動葉片攪動污水雜質混合物,使污水和雜質盡量分離,然后混合物通過攪動箱出水管流出,到達除雜帶上,除雜帶上設有除雜孔,雜質可通過除雜孔被阻隔下來,污水流入收集箱的箱體之中。
作為對本實用新型中主動軸傳動方式的說明,所述主動軸的一端與小電機連接,所述小電機安裝在收集箱的箱體上。小電機可帶動主動軸轉動,由于除雜帶安裝在主動軸上,故除雜帶可被小電機帶動運動,小電機的運動為周期性反轉運動,即正轉一圈反轉一圈,如此除雜帶也被帶動周期性反轉,形成類似簸箕式的運動,對由攪動箱出水管排出的污水進行雜質隔離。
作為對本實用新型中收集箱的說明,所述收集箱上設有收集箱出 水管,所述收集箱出水管位于收集箱的底部。經過除雜凈化后的污水被收集在收集箱箱體之中,然后經過收集箱出水管排出。
作為對本實用新型中攪動箱的說明,所述攪動箱的底部設有攪動箱下板,所述攪動箱下板傾斜設置。攪動箱下板傾斜設置是為了利于污水的流動,在重力作用下經過攪動的污水雜質混合物可沿著攪動箱出水管流出,到達除雜帶。
作為對本實用新型中除雜帶的說明,所述除雜帶為完整的輸送帶,除雜帶的下部帶體也設有除雜孔,且下部帶體的除雜孔的尺寸比上部帶體的除雜孔小。除雜帶下部帶體的除雜孔的尺寸比上部帶體的除雜孔小,這樣雜質可被二次過濾,體積較大的雜質被阻隔在上部的帶體,體積較小的雜質被阻隔在下部的帶體上。



