申請日2016.05.15
公開(公告)日2016.10.12
IPC分類號C02F9/14
摘要
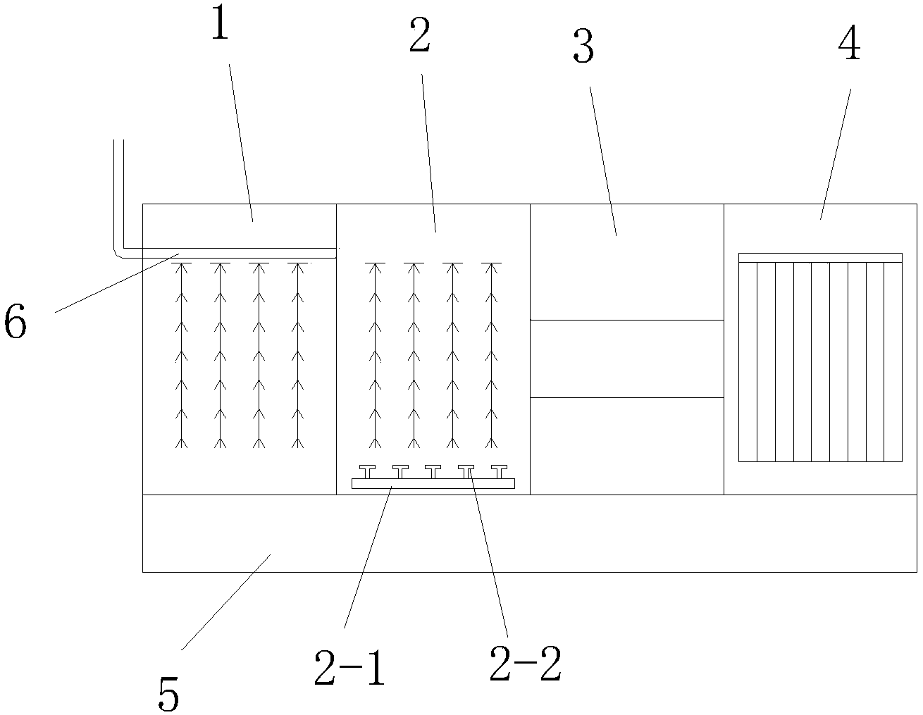
本實用新型公開了一種新型工業廢水一體化處理裝置,它涉及工業廢水處理技術領域。厭氧池和好氧池內設置有填料,環形進水管設置在厭氧池內,好氧池的一側設置有接觸過濾池,接觸過濾池的一側設置有MBR生物膜反應池,且厭氧池、好氧池、接觸過濾池和MBR生物膜反應池的底部設置有淤泥槽,環形進水管上對稱設有多個沿逆時針方向分布的傾斜出水口,好氧池底部設有曝氣管,曝氣管上設有旋流曝氣噴頭。結構設計合理,整套設備占地面積小,能耗低,成本投資較少,且好氧池內旋流曝氣噴頭的特殊設計能保證好氧池內氧氣的充分供應,且能保證好氧池內微生物具有最大效益的有氧呼吸,提高了污水的處理效率。
權利要求書
1.一種新型工業廢水一體化處理裝置,其特征在于:它包含厭氧池(1)、好氧池(2)、接觸過濾池(3)、MBR生物膜反應池(4)、淤泥槽(5)和環形進水管(6),厭氧池(1)和好氧池(2)內設置有填料,環形進水管(6)設置在厭氧池(1)內,好氧池(2)的一側設置有接觸過濾池(3),接觸過濾池(3)的一側設置有MBR生物膜反應池(4),且厭氧池(1)、好氧池(2)、接觸過濾池(3)和MBR生物膜反應池(4)的底部設置有淤泥槽(5),環形進水管(6)上對稱設有多個沿逆時針方向分布的傾斜出水口(1-1),好氧池(2)底部設有曝氣管(2-1),曝氣管(2-1)上設有旋流曝氣噴頭(2-2)。
2.按照權利要求1所述的一種新型工業廢水一體化處理裝置,其特征在于:所述的旋流曝氣噴頭(2-2)包括通氣主管(2-3)、分管(2-4)、網孔圓盤(2-5)、攪拌葉(2-6)和均氣網(2-7),通氣主管(2-3)與曝氣管(2-1)連通,通氣主管(2-3)上均勻分布有兩個以上分管(2-4),分管(2-4)為直角彎管,分管(2-4)的管口上設有均氣網(2-7),分管(2-4)上方固定有網孔圓盤(2-5),網孔圓盤(2-5)上固定有攪拌葉(2-6)。
3.按照權利要求2所述的一種新型工業廢水一體化處理裝置,其特征在于:所述的攪拌葉(2-6)為一字形或S形攪拌葉,攪拌葉(2-6)上設有多個通孔。
說明書
一種新型工業廢水一體化處理裝置
技術領域:
本實用新型涉及一種新型工業廢水一體化處理裝置,屬于工業廢水處理技術領域。
背景技術:
工業廢水是工業生產的伴生產物,工業廢水的產生量較大,并含有大量各類有機污染物和可溶性鹽類雜質,直接排放會對水體和周圍環境造成嚴重危害,必須進行處理才能排放或回用。目前現有的污水處理設備多數存在面積龐大,耗費量高,機構復雜等缺點,且在污水處理設備中,如何保證好氧,厭氧反應的充分進行是關鍵,因此設計一種能充分進行好氧、厭氧反應且設備簡單低耗能的處理設備成為亟需解決的問題。
發明內容:
針對上述問題,本實用新型要解決的技術問題是提供一種新型工業廢水一體化處理裝置。
本實用新型工業廢水一體化處理裝置,它包含厭氧池、好氧池、接觸過濾池、MBR生物膜反應池、淤泥槽和環形進水管,厭氧池和好氧池內設置有填料,環形進水管設置在厭氧池內,好氧池的一側設置有接觸過濾池,接觸過濾池的一側設置有MBR生物膜反應池,且厭氧池、好氧池、接觸過濾池和MBR生物膜反應池的底部設置有淤泥槽,環形進水管上對稱設有多個沿逆時針方向分布的傾斜出水口,好氧池底部設有曝氣管,曝氣管上設有旋流曝氣噴頭。
作為優選,所述的旋流曝氣噴頭包括通氣主管、分管、網孔圓盤、攪拌葉和均氣網,通氣主管與曝氣管連通,通氣主管上均勻分布有兩個以上分管,分管為直角彎管,分管的管口上設有均氣網,分管上方固定有網孔圓盤,網孔圓盤上固定有攪拌葉。
作為優選,所述的攪拌葉為一字形或S形攪拌葉,攪拌葉上設有多個通孔。
作為優選,所述的攪拌葉2-6還可以直接固定在通氣主管2-3和分管2-4的上方。
作為優選,所述的旋流曝氣噴頭2能保證好氧池內氧氣的充分供應,且能保證好氧池內微生物具有最大效益的有氧呼吸,提高了反應效率。
本實用新型的有益效果:它能克服現有技術的弊端,結構設計合理,整套設備占地面積小,能耗低,成本投資較少,且好氧池內旋流曝氣噴頭的特殊設計能保證好氧池內氧氣的充分供應,且能保證好氧池內微生物具有最大效益的有氧呼吸,提高了污水的處理效率。



