申請日2016.05.30
公開(公告)日2016.11.30
IPC分類號C02F11/12
摘要
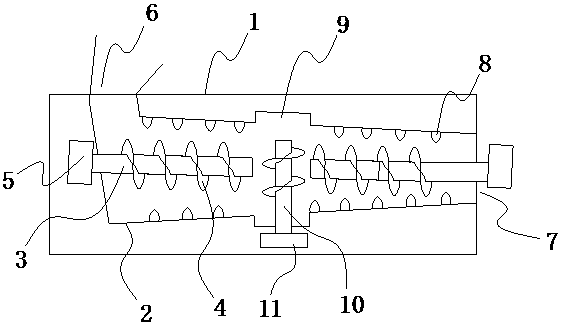
本實用新型的目的是提出一種脫水效果較好的兩段式污泥脫水機。本實用新型的兩段式污泥脫水機包括水平設置的具有封閉側壁的外殼體,在外殼體內水平設置有具有透水側壁的內管體,內管體內間隔設置有兩條由攪拌軸與攪拌軸外壁面設置螺旋上升的攪拌葉形成的絞龍,攪拌軸由外力驅動旋轉;外殼體上具有排水口,內管體的一端具有向攪拌葉供應污泥物料的污泥進料口,在外殼體上設置與攪拌葉頂端部配合的污泥排料口;關鍵在于所述內管體在兩條絞龍之間的位置設有膨脹腔,所述膨脹腔的直徑大于內管體的直徑;所述膨脹腔內垂直設有由輔助驅動機構驅動的輔助絞龍。
摘要附圖
權利要求書
1.一種兩段式污泥脫水機,包括水平設置的具有封閉側壁的外殼體,在外殼體內水平設置有具有透水側壁的內管體,內管體內間隔設置有兩條由攪拌軸與攪拌軸外壁面設置螺旋上升的攪拌葉形成的絞龍,攪拌軸由外力驅動旋轉;外殼體上具有排水口,內管體的一端具有向攪拌葉供應污泥物料的污泥進料口,在外殼體上設置與攪拌葉頂端部配合的污泥排料口;其特征在于所述內管體在兩條絞龍之間的位置設有膨脹腔,所述膨脹腔的直徑大于內管體的直徑;所述膨脹腔內垂直設有由輔助驅動機構驅動的輔助絞龍;所述內管體的內徑由污泥進料口一側向污泥排料口一側逐漸縮小,且所述內管體的內側面設有凸出的輔助壓板,壓板內設有超聲波發生裝置。
2.根據權利要求1所述的兩段式污泥脫水機,其特征在于所述輔助壓板為頭端小、尾端大的三角形結構,所述輔助壓板的頭端迎向于攪拌葉轉動的方向。
3.根據權利要求1所述的兩段式污泥脫水機,其特征在于所述輔助壓板有多個,并呈螺旋狀分布于內管體的內側面上,且輔助壓板所形成的螺旋線與攪拌葉所在的螺旋線交錯。
說明書
兩段式污泥脫水機
技術領域
本實用新型屬于環保技術領域,特別涉及到一種污泥脫水機。
背景技術
專利號為200810234499.7的實用新型公開了一種污泥脫水機,其包括具有封閉側壁的外殼體,在外殼體內設置具有透水側壁的內管體,在內管體內設置由攪拌軸與攪拌軸外壁面設置螺旋上升的攪拌葉形成的絞龍,該攪拌軸由外力驅動旋轉,在外殼體上具有排水口,內管體具有向攪拌葉供應污泥物料的污泥進料口,在外殼體上設置與攪拌葉頂端部配合的污泥排料口,在所述攪拌葉的外邊緣設置毛刷,所述毛刷的刷毛與內管體的內壁面接觸。
上述污泥脫水機是最常見的污泥脫水機,其單純采用絞龍壓縮的方式來進行脫水,但是壓縮過程中,污泥和污水會結成一個個較為穩定的小團體,會大大降低壓縮脫水的效果。
實用新型內容
本實用新型的目的是提出一種脫水效果較好的兩段式污泥脫水機。
本實用新型的兩段式污泥脫水機包括水平設置的具有封閉側壁的外殼體,在外殼體內水平設置有具有透水側壁的內管體,內管體內間隔設置有兩條由攪拌軸與攪拌軸外壁面設置螺旋上升的攪拌葉形成的絞龍,攪拌軸由外力驅動旋轉;外殼體上具有排水口,內管體的一端具有向攪拌葉供應污泥物料的污泥進料口,在外殼體上設置與攪拌葉頂端部配合的污泥排料口;關鍵在于所述內管體在兩條絞龍之間的位置設有膨脹腔,所述膨脹腔的直徑大于內管體的直徑;所述膨脹腔內垂直設有由輔助驅動機構驅動的輔助絞龍。
攪拌軸轉動的過程中,帶動攪拌葉同步轉動,污泥沿著攪拌葉由污泥進料口一側向污泥排料口一側輸送,同時不斷增厚而形成塞柱,最后從污泥排料口排出,在此過程中污泥被擠壓出的水分沿著內管體的透水側壁落到外殼體內,最終沿著排水口排出。關鍵的是,污泥在經過第一條絞龍的壓縮后,已經形成一個較為穩定的、壓實的污泥團,但是在此污泥團的中央位置的污水已經難以再擠壓出污泥團,該污泥團經過膨脹腔時,被輔助絞龍打散,然后再經過第二條絞龍壓縮形成新的污泥團,由于兩個絞龍所壓縮形成的污泥團不同,原來污泥團中央位置的污泥可能會位于后面形成的污泥團的表面,因此大大提高了脫水的效果。
進一步地,所述內管體的內徑由污泥進料口一側向污泥排料口一側逐漸縮小,且所述內管體的內側面設有凸出的輔助壓板,壓板內設有超聲波發生裝置。在污泥脫水的過程中,污泥進料口一側的污泥體積較大,此處的內管體內徑也較大,而污泥出料口一側的污泥經過初步壓縮,體積較小,此處的內管體內徑也較小,因此污泥進料口一側與污泥出料口一側的污泥與攪拌葉接觸的機會均等,這樣在壓縮脫水的過程中,攪拌軸兩側所受到的污泥對其施加的力近乎相同,即攪拌軸受力均勻,因此提高了使用壽命。更為關鍵的是,在污泥形成塞柱后,其內部的一部分水分與污泥形成穩定的污泥團,當污泥團遇到輔助壓板后,被輔助壓板割裂,同時輔助壓板產生超聲波,造成污泥團不斷的小幅度的震動,從而將污泥團打散,使污泥團中的污泥與水分分離,從而提高了脫水的效果。
進一步地,所述輔助壓板為頭端小、尾端大的三角形結構,所述輔助壓板的頭端迎向于攪拌葉轉動的方向,上述輔助壓板的結構及布置方向可以實現對污泥團的切割,在攪拌葉的配合下,將污泥團碾壓并劈開。
進一步地,所述輔助壓板有多個,并呈螺旋狀分布于內管體的內側面上,且輔助壓板所形成的螺旋線與攪拌葉所在的螺旋線交錯,這樣攪拌葉與內管體內壁的間距、輔助壓板與攪拌軸表面的間距近乎相等且無劇烈變化,因此可以避免攪拌葉及輔助壓板承受過大的壓力,還可以在多個位置對污泥團進行碾壓粉碎。
本實用新型的兩段式污泥脫水機通過改進內管體的結構,增加超聲波發生裝置、膨脹腔、輔助絞龍及第二次壓縮脫水過程,可以有效平衡攪拌軸兩端的受力情況,提高攪拌軸使用壽命,并改善脫水效果,具有很好的實用性


