申請日2016.05.30
公開(公告)日2016.12.28
IPC分類號C02F1/00
摘要
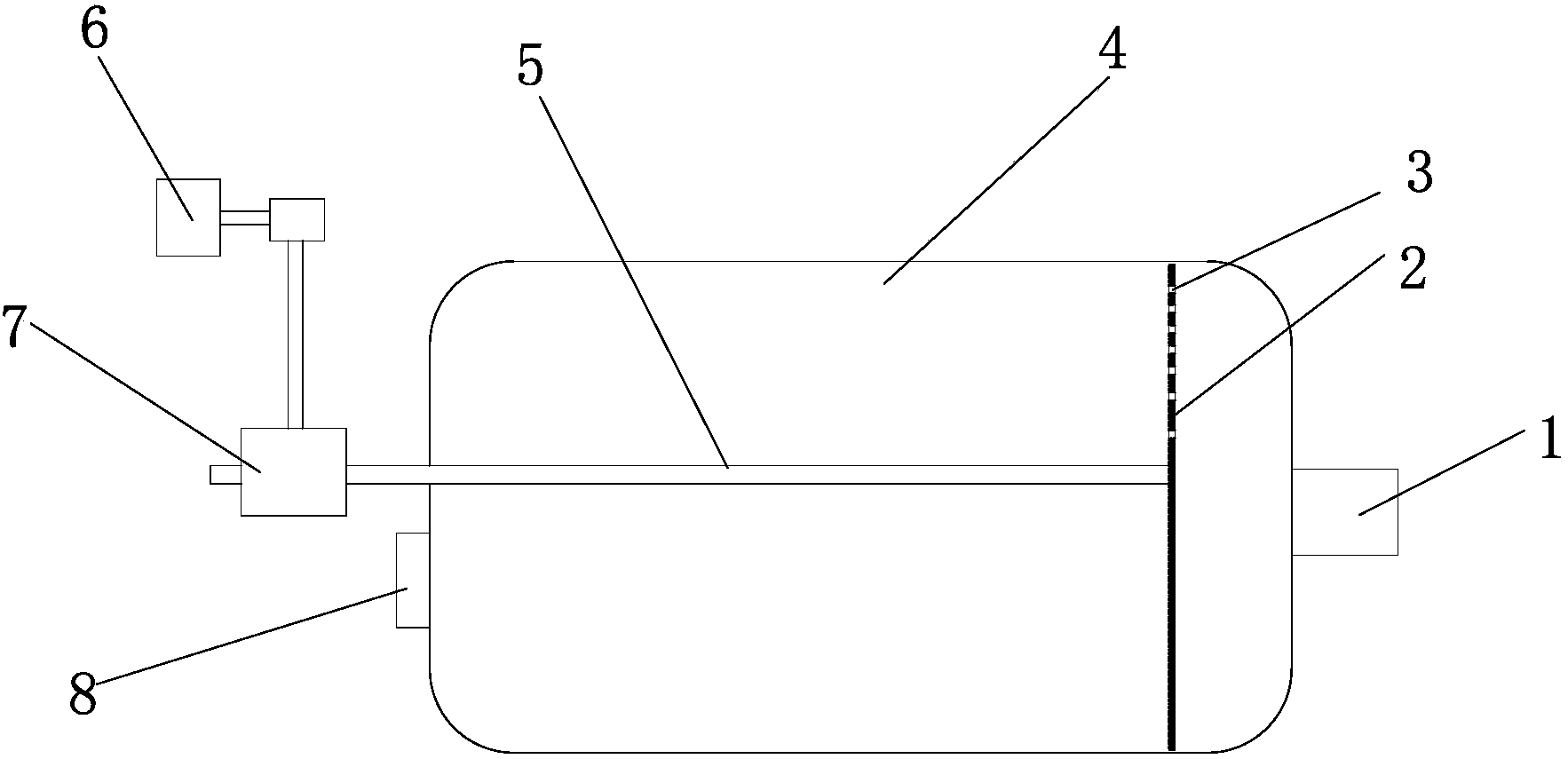
本實用新型提供了一種污水池的刮擦結構,屬于污水處理技術領域,它包括一片橫板,所述的橫板上設有若干的孔洞,橫板的側邊貼在污水池的內壁上,所述污水池從側部插入一根螺桿與橫板連接,所述的螺桿與污水池螺紋連接,旋轉螺桿帶動橫板在污水池內移動,當橫板移動時,橫板的側邊與污水池的內部進行刮擦,所述污水池的外部設有驅動裝置用于驅動螺桿旋轉。通過橫板能將污水池內壁的所有污垢都推向一邊,再從進水口或出水口中撈出就更為方便。
摘要附圖
權利要求書
1.一種污水池的刮擦結構,設在污水池的內部,其特征在于,它包括一片橫板,所述的橫板上設有若干的孔洞,橫板的側邊貼在污水池的內壁上,所述污水池從側部插入一根螺桿與橫板連接,所述的螺桿與污水池螺紋連接,旋轉螺桿帶動橫板在污水池內移動,當橫板移動時,橫板的側邊與污水池的內部進行刮擦,所述污水池的外部設有驅動裝置用于驅動螺桿旋轉。
2.根據權利要求1所述的一種污水池的刮擦結構,其特征在于,所述的驅動裝置包括一個變向齒輪箱,該變向齒輪箱與螺桿嚙合傳動,所述的螺桿穿過變向齒輪箱,變向齒輪箱上設有動力輸入端,動力輸入端上設有電機或發動機。
3.根據權利要求2所述的一種污水池的刮擦結構,其特征在于,所述的電機或發動機與變向齒輪箱可拆接聯動。
說明書
一種污水池的刮擦結構
技術領域
本實用新型屬于污水處理技術領域,特別涉及一種污水池的刮擦結構。
背景技術
因為污水池的功能不同,有的污水池結構沒有上面的窗口,只是設有兩個左右的進水口和出水口。排污時,用吸管將沉淀的濃縮液吸出,但是污水池的內壁上還有一層污垢凝聚,很難去除,現在我們都是找人工將鏟子伸到污水池里將污垢刮出,清理非常的麻煩,而且還不一定干凈。
發明內容
本實用新型的目的是針對現有污水池清理存在的上述問題,提供一種機械刮擦污水池內壁的結構。
本實用新型的目的可通過下列技術方案來實現:一種污水池的刮擦結構,設在污水池的內部,其特征在于,它包括一片橫板,所述的橫板上設有若干的孔洞,橫板的側邊貼在污水池的內壁上,所述污水池從側部插入一根螺桿與橫板連接,所述的螺桿與污水池螺紋連接,旋轉螺桿帶動橫板在污水池內移動,當橫板移動時,橫板的側邊與污水池的內部進行刮擦,所述污水池的外部設有驅動裝置用于驅動螺桿旋轉。
所述的驅動裝置包括一個變向齒輪箱,該變向齒輪箱與螺桿嚙合傳動,所述的螺桿穿過變向齒輪箱,變向齒輪箱上設有動力輸入端,動力輸入端上設有電機或發動機。
所述的電機或發動機與變向齒輪箱可拆接聯動。
與現有技術相比,通過橫板能將污水池內壁的所有污垢都推向一邊,再從進水口或出水口中撈出就更為方便。


