申請日2016.05.13
公開(公告)日2016.08.17
IPC分類號C02F1/40; C02F1/24
摘要
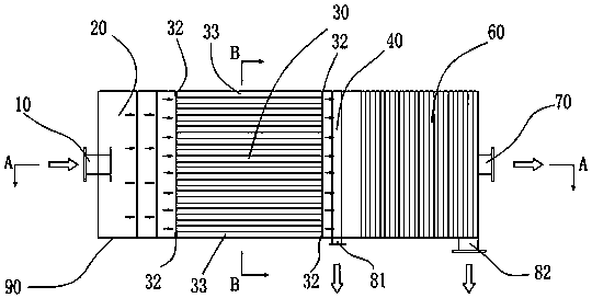
一體化污水一級處理裝置,包括外殼、進水口、布水區、沉砂隔油區、集水區、砂斗、精細格柵區和出水口,進水口和出水口分布置于外殼的兩側,外殼內從進水口到出水口之間依次為布水區、沉砂隔油區、集水區和精細格柵區,所述的砂斗置于沉砂隔油區的下方,外殼與沉砂隔油區的兩側之間形成導流槽,污水由進水口進入,經過布水區水流分布均勻后進入沉砂隔油區,污水內的砂粒和浮油通過沉砂隔油區沉降和上浮后進入到集水區,浮油在集水區被隔離,然后污水進入精細格柵區截留柵渣,處理完的污水通過出水口流出,本發明沉砂隔油效果好,除渣精度高,尤其是采用MBR工藝的污水處理廠。
權利要求書
1.一體化污水一級處理裝置,其特征在于:包括外殼、進水口、布水區、沉砂隔油區、集水區、砂斗、精細格柵區和出水口,進水口和出水口分布置于外殼的兩側,外殼內從進水口到出水口之間依次為布水區、沉砂隔油區、集水區和精細格柵區,所述的砂斗置于沉砂隔油區的下方,外殼與沉砂隔油區的兩側之間形成導流槽,污水由進水口進入,經過布水區水流分布均勻后進入沉砂隔油區,污水內的砂粒通過沉砂隔油區沉降然后通過導流槽進入砂斗排出或者直接進入砂斗排出,浮油通過沉砂隔油區上浮到污水表面或者通過沉砂隔油區再經過導流槽上浮到污水表面,分離后的污水進入集水區,浮油在集水區被隔離,然后污水進入精細格柵區截留柵渣,處理完的污水通過出水口流出。
2.根據權利要求1所述的一體化污水一級處理裝置,其特征在于:所述的布水區包括一塊或者多塊布水板,所述的布水板上設有多個布水孔,所述的布水孔的孔徑在80-100mm之間,布水孔之間的孔間距不大于孔徑,布水孔的開孔率在30%-50%之間。
3.根據權利要求1所述的一體化污水一級處理裝置,其特征在于:所述的沉砂隔油區包括多塊斜板,污水沿著斜板流動,所述的斜板與水平面之間的夾角在55˚-65˚之間。
4.根據權利要求3所述的一體化污水一級處理裝置,其特征在于:所述的沉砂隔油區兩側設有翼板,所述的沉砂隔油區兩側的導流槽由翼板、外殼和斜板組成,所述的導流槽的寬度在80-120mm之間。
5.根據權利要求1所述的一體化污水一級處理裝置,其特征在于:所述的集水區設有收集浮油的集油槽,所述的集油槽由前板、底板和后板組成,所述的后板向下延伸有減低水流速度的出水擋板。
6.根據權利要求5所述的一體化污水一級處理裝置,其特征在于:所述的前板的高度高于一體化污水一級處理裝置設計的最高液位2-5mm,所述的出水擋板的最底端與精細格柵區最高位置之間的距離在100-200mm之間。
7.根據權利要求1所述的一體化污水一級處理裝置,其特征在于:所述的精細格柵區包括導流污水的布水條和截留柵渣的篩板,所述的篩板的柵距在0.5-2mm之間。
8.根據權利要求7所述的一體化污水一級處理裝置,其特征在于:所述的精細格柵區的篩板下部設有去除污水中毛發的篩網。
9.根據權利要求1中任一所述的一體化污水一級處理裝置,其特征在于:還包括一排放一體化污水一級處理裝置內臭氣的排氣口。
10.一體化污水一級處理方法,其特征在于:使用上述權利要求所述的一體化污水一級裝置處理污水,包括以下步驟:
步驟1:污水由進水口進入裝置,通過布水區的布水孔使其流速和分布均勻,然后進入沉砂隔油區,此步驟中若產生臭氣,通過排氣口排出;
步驟2:污水在沉砂隔油區內,經過斜板導流并且分離出砂石并且使得浮油上浮,部分砂石通過斜板滑入砂斗,部分砂石通過沉砂隔油區內兩側的導流槽滑入砂斗,進入砂斗的砂石定期排出,部分浮油通過斜板上浮至污水上表面,部分污水通過斜板再經過導流槽上浮至污水表面,去除砂石并非浮油上浮的污水進入集水區,此步驟中若產生臭氣,通過排氣口排出;
步驟3:污水中的浮油隨著污水進入到集水區,浮油上浮到污水上方,在集水區的集油槽收集后排出,去除浮油的污水經過出水擋板后進入到精細格柵區,此步驟中若產生臭氣,通過排氣口排出;
步驟4:污水進入到精細格柵區后先經過布水條均勻化后進入篩板,篩板將截留柵渣完成一級處理,處理完成的污水通過排水口排出,此步驟中若產生臭氣,通過排氣口排出。
說明書
一體化污水一級處理裝置及方法
技術領域
本發明涉及屬于污水處理領域,特別涉及一體化污水一級處理裝置及方法。
背景技術
污水一級處理又稱污水物理處理,是污水進入二級生化處理前的一道或多道處理工序,通常根據污水水質及后續處理流程對水質的要求而進行設置,具體處理方法包括:篩濾法、沉淀法、上浮法、離心分離法、預曝氣等,其目的是去除污水中的漂浮物和懸浮物,調整pH值及油類等。
隨著國家對農村污水和小型社區污水排放要求的不斷提高,中小型污水處理廠站越來越受到重視,一體化污水處理設施的研發也逐漸增多。目前針對一體化污水處理設施的研發主要局限于一級處理后的二級生化處理裝置及方法,污水一級處理設施的優化及裝置較少,特別是對污水預處理設施的集約化重視程度不夠,項目施行仍要進行混凝土工程施工和機械設備購置。以沉砂池為例,沉砂池一般設置于二級生化處理前,用于去除比重較大的無機顆粒(如泥砂,煤渣等),以減輕無機顆粒對水泵、攪拌器、管道的磨損,減輕沉淀池負荷和改善污泥處理構筑物的處理條件。污水廠設置的沉砂池,按去除相對密度2.65、粒徑0.2mmm以上的砂粒設計,無論是平流沉砂池,還是曝氣沉砂池、多爾沉砂池和鐘氏沉砂池等其它形式的沉砂池,最大流量時的水力停留時間均大于30s,且有不同的寬深比、長深比、有效水深等要求,對于中小型污水處理廠,在此條件下設計的沉砂池,處理構筑物尺寸較小,不僅土建難以施工,而且設備形式也難以選擇,出水水質沒有保證,影響后續處理工序的穩定運行。隔油池、格柵槽等也存在類似的問題。
此外,對于MBR(Membrane Bio-Reactor,膜生物反應器)工藝,由于其主要設備膜結構單元的結構特征,對于一級處理要求更加嚴格,在一級處理中要求設置柵距(或孔徑)不大于2mm的精細格柵、不可有游離油進入MBR系統等,所以對于采用MBR工藝的污水處理廠,一級處理工藝流程復雜,設備質量要求高且種類繁多。
發明內容
本發明要解決的技術問題是提供一種將沉砂、隔油、除渣等一系列一級處理工藝有機的結合在一起,集中布置成一套設備,同時還能保持穩定的運營,確保二級生物處理的運行與水質達標,適用于中小型,尤其是采用MBR工藝的污水處理廠的一體化污水一級處理裝置及方法。
為解決上述技術問題,本發明所提出的技術方案為:一體化污水一級處理裝置,包括外殼、進水口、布水區、沉砂隔油區、集水區、砂斗、精細格柵區和出水口,進水口和出水口分布置于外殼的兩側,外殼內從進水口到出水口之間依次為布水區、沉砂隔油區、集水區和精細格柵區,所述的砂斗置于沉砂隔油區的下方,外殼與沉砂隔油區的兩側之間形成導流槽,污水由進水口進入,經過布水區水流分布均勻后進入沉砂隔油區,污水內的砂粒通過沉砂隔油區沉降然后通過導流槽進入砂斗排出或者直接進入砂斗排出,浮油通過沉砂隔油區上浮到污水表面或者通過沉砂隔油區再經過導流槽上浮到污水表面,分離后的污水進入集水區,浮油在集水區被隔離,然后污水進入精細格柵區截留柵渣,處理完的污水通過出水口流出。
進一步的,所述的布水區包括一塊或者多塊布水板,所述的布水板上設有多個布水孔,所述的布水孔的孔徑在80-100mm之間,布水孔之間的孔間距不大于孔徑,布水孔的開孔率在30%-50%之間。
進一步的,所述的沉砂隔油區包括多塊斜板,污水沿著斜面流動,所述的斜板與水平面之間的夾角在55˚-65˚之間。
進一步的,所述的沉砂隔油區兩側設有翼板,所述的沉砂隔油區兩側的導流槽由翼板、外殼和斜板組成,所述的導流槽的寬度在80-120mm之間。
進一步的,所述的集水區設有收集浮油的集油槽,所述的集油槽由前板、底板和后板組成,所述的后板向下延伸有減低水流速度的出水擋板。
進一步的,所述的前板的高度高于一體化污水一級處理裝置設計的最高液位2-5mm,所述的出水擋板的最底端與精細格柵區最高位置之間的距離在100-200mm之間。
進一步的,所述的精細格柵區包括導流污水的布水條和截留柵渣的篩板,所述的篩板的柵距在0.5-2mm之間。。
進一步的,所述的精細格柵區的篩板下部設有去除污水中毛發的篩網。
進一步的,還包括一排放一體化污水一級處理裝置內臭氣的排氣口。
一體化污水一級處理方法,其特征在于:使用上述權利要求所述的一體化污水一級裝置處理污水,包括以下步驟:
步驟1:污水由進水口進入裝置,通過布水區的布水孔使其流速和分布均勻,然后進入沉砂隔油區,此步驟中若產生臭氣,通過排氣口排出;
步驟2:污水在沉砂隔油區內,經過斜板導流并且分離出砂石并且使得浮油上浮,部分砂石通過斜板滑入砂斗,部分砂石通過沉砂隔油區內兩側的導流槽滑入砂斗,進入砂斗的砂石定期排出,部分浮油通過斜板上浮至污水上表面,部分污水通過斜板再經過導流槽上浮至污水表面,去除砂石并非浮油上浮的污水進入集水區,此步驟中若產生臭氣,通過排氣口排出;
步驟3: 污水中的浮油隨著污水進入到集水區,浮油上浮到污水上方,在集水區的集油槽收集后排出,去除浮油的污水經過出水擋板后進入到精細格柵區,此步驟中若產生臭氣,通過排氣口排出;
步驟4:污水進入到精細格柵區后先經過布水條均勻化后進入篩板,篩板將截留柵渣完成一級處理,處理完成的污水通過排水口排出,此步驟中若產生臭氣,通過排氣口排出。
采用本發明所述的一體化污水一級處理裝置及方法,具有以下優點:
1、將沉砂、隔油、除渣工藝全部集中到一套裝置中,各處理單元共壁,真正實現一級處理裝置的一體化,便于批量化生產,可以直接在污水處理廠安裝使用,占地面積小,無需另外建設鋼混結構水池及購買相關機械設備(沉砂設備、隔油設備、格柵等),節省了投資。
2、通過在沉砂隔油區兩側設置導流槽,分離出來的砂粒與浮油通過導流槽進入砂斗或集油槽排除,提高了斜板的有效利用率,全斷面無死角。
3、、設置了沉砂隔油區,且篩板的柵距小于2mm,能很好的滿足MBR工藝對預處理的要求,無需另外添加設備。



