申請日2016.05.05
公開(公告)日2016.07.20
IPC分類號C02F11/12
摘要
本發明涉及環保技術領域,具體提供了一種污泥脫水方法:將外部空氣升溫至50~80℃,并通入干燥室內對放置于所述干燥室內的待脫水污泥進行干燥。同時抽出干燥室內的潮濕空氣,以及在外部空氣升溫至50~80℃前,將來自干燥室的潮濕空氣與外部空氣進行換熱。實現該方法的裝置,其包括干燥室、換熱裝置、第一風機、第二風機、蒸發器。第一風機的出氣口與換熱裝置連通,換熱裝置與蒸發器連通,蒸發器與干燥室連通,干燥室與第二風機的進氣口連通,第二風機的出氣口與換熱裝置連通。該污泥脫水的方法及裝置簡化了脫水過程、減小了設備的占地面積、提高了污泥脫水效率以及降低了污泥脫水的成本。
權利要求書
1.一種污泥脫水方法,其特征在于,包括:
將外部空氣升溫至50~80℃,并通入干燥室內對放置于所述干燥室內的待脫水污泥進行干燥;
抽出所述干燥室內的潮濕空氣;以及
在所述外部空氣升溫至50~80℃前,將來自所述干燥室的所述潮濕空氣與所述外部空氣進行換熱。
2.根據權利要求1所述的污泥脫水方法,其特征在于,將來自所述干燥室的所述潮濕空氣與所述外部空氣在換熱器中進行間壁式換熱。
3.根據權利要求2所述的污泥脫水方法,其特征在于,將升溫后的所述外部空氣通入所述干燥室內之前對所述外部空氣進行壓縮,所述外部空氣壓縮后的壓力為0.15~0.3MPa。
4.根據權利要求1所述的污泥脫水方法,其特征在于,所述外部空氣與來自所述干燥室的所述潮濕空氣進行換熱后通過蒸發器升溫至50~80℃。
5.根據權利要求1所述的污泥脫水方法,其特征在于,對所述待脫水污泥進行干燥的時間為22~26小時。
6.根據權利要求1所述的污泥脫水方法,其特征在于,通入所述干燥室的所述外部空氣的流量等于抽出所述干燥室的所述潮濕空氣的流量。
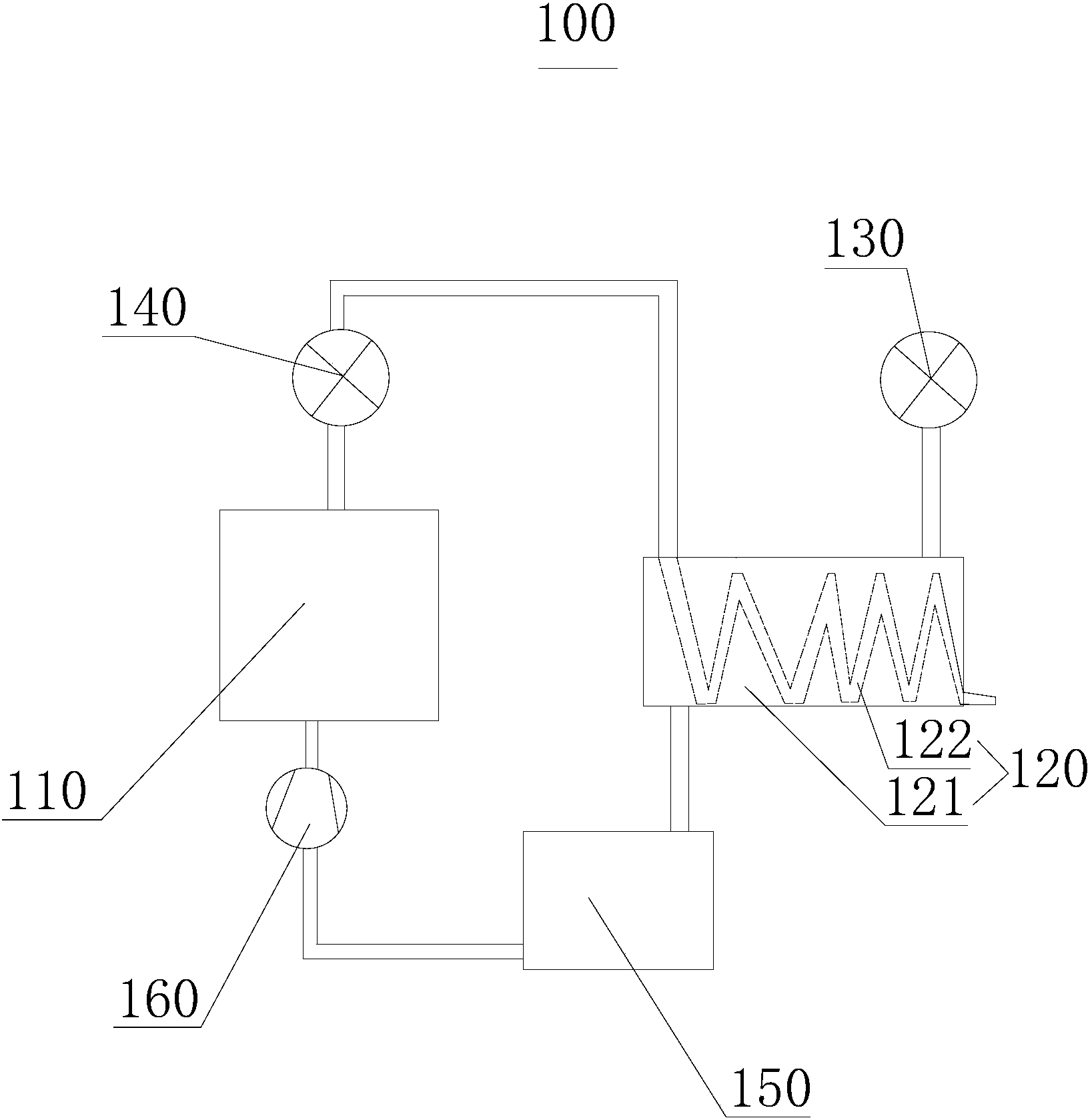
7.一種污泥脫水裝置,其特征在于,包括干燥室、換熱裝置、第一風機、第二風機、蒸發器,所述第一風機的出氣口與所述換熱裝置連通,所述換熱裝置與所述蒸發器連通,所述蒸發器與所述干燥室連通,所述干燥室與所述第二風機的進氣口連通,所述第二風機的出氣口與所述換熱裝置連通。
8.根據權利要求7所述的污泥脫水裝置,其特征在于,所述蒸發器與所述干燥室之間還設置有空氣壓縮機,所述空氣壓縮機的進氣口與所述蒸發器連通,所述空氣壓縮機的出氣口與所述干燥室連通。
9.根據權利要求7所述的污泥脫水裝置,其特征在于,所述干燥室內設置有用于攤放污泥的多個支架。
10.根據權利要求7所述的污泥脫水裝置,其特征在于,所述換熱裝置包括冷凝器,所述冷凝器包括殼程和管程,所述第一風機的出氣口與所述殼程連通,所述第二風機的出氣口與所述管程連通。
說明書
污泥脫水方法及裝置
技術領域
本發明涉及環保技術領域,具體而言,涉及一種污泥脫水方法及裝置。
背景技術
現在進行污泥脫水的方法主要有兩種,一種方法是自然干化:有污泥干化床和污泥塘兩種類型,它們都是利用自然力量而將污泥脫水的,適用于氣候比較干燥、用地不緊張以及環境衛生條件允許的地區。干化場的特點是簡單易行,污泥含水率低,缺點是占地面積大,衛生條件差,鏟運干污泥的勞動強度大。另一種方法是過濾法:過濾法是目前應用最廣泛的污泥機械脫水方法,主要有真空過濾法和壓濾法。真空過濾法主要用于初沉池污泥和消化污泥的脫水,其特點是連續運行、操作平穩、處理量大、能實現過程操作自動化。缺點是脫水前必須經過預處理,附屬設備多、工序復雜、運行費用高、再生與清洗不充分,易堵塞。壓濾法與真空過濾法的基本理論相同,只是壓濾法推動力為正壓,而真空過濾法為負壓,常用的壓濾機械有板框壓濾機和帶式壓濾機。
發明內容
本發明的目的在于提供一種污泥脫水方法,其通過低溫空氣的循環不斷吸收污泥中的水分,其工藝簡單、脫水率高,以達到低成本高效率地進行污泥脫水的目的。
本發明的目的的另一目的在于提供一種污泥脫水裝置,以簡化脫水過程、減小設備的占地面積、提高污泥脫水效率以及降低污泥脫水的成本。
本發明解決其技術問題是采用以下技術方案來實現的。
一種污泥脫水方法,包括:將外部空氣升溫至50~80℃,并通入干燥室內對放置于所述干燥室內的待脫水污泥進行干燥,同時抽出干燥室內的潮濕空氣,以及在外部空氣升溫至50~80℃前,將來自干燥室的潮濕空氣與外部空氣進行換熱。
進一步地,在本發明較佳的實施例中,將上述來自干燥室的潮濕空氣與外部空氣在換熱器中進行間壁式換熱。
進一步地,在本發明較佳的實施例中,將上述升溫后的外部空氣通入干燥室內之前對空氣進行壓縮,空氣壓縮后的壓力為0.15~0.3MPa。
進一步地,在本發明較佳的實施例中,上述外部空氣與來自干燥室的潮濕空氣進行換熱后通過蒸發器升溫至50~80℃。
進一步地,在本發明較佳的實施例中,上述對待脫水污泥進行干燥的時間為22~26小時。
進一步地,在本發明較佳的實施例中,上述通入干燥室的外部空氣的流量等于抽出干燥室的潮濕空氣的流量。
一種污泥脫水裝置,其包括干燥室、換熱裝置、第一風機、第二風機、蒸發器。第一風機的出氣口與換熱裝置連通,換熱裝置與蒸發器連通,蒸發器與干燥室連通,干燥室與第二風機的進氣口連通,第二風機的出氣口與換熱裝置連通。
進一步地,在本發明較佳的實施例中,上述蒸發器與干燥室之間還設置有空氣壓縮機,空氣壓縮機的進氣口與蒸發器連通,空氣壓縮機的出氣口與干燥室連通。
進一步地,在本發明較佳的實施例中,上述干燥室內設置有用于攤放污泥的多個支架。
進一步地,在本發明較佳的實施例中,上述換熱裝置包括冷凝器,冷凝器包括殼程和管程,第一風機的出氣口與殼程連通,第二風機的出氣口與管程連通。
本發明實施例的污泥脫水方法及裝置的有益效果是:通過將第一風機將外部空氣溫度升溫至50~80℃通入干燥室內,對干燥室內放置的污泥進行干燥,并通過第二風機不斷將干燥室內的潮濕空氣抽出,將潮濕空氣與將通入干燥室內的外部空氣進行換熱,升高外部空氣的溫度,冷凝潮濕空氣中的水分,再將換熱后的外部空氣通過蒸發器升溫至50~80℃后通入干燥室,從而形成一個持續干燥的過程,其中對干燥污泥后形成的潮濕空氣中的潛熱進行了循環利用,使得整個干燥過程更加節能,成本更低。同時,干燥過程是在50~80℃的較低的空氣溫度下進行的,從而使得對污泥進行持續干燥過程的能耗大大降低,進一步節約了成本,該污泥脫水的方法利用低溫空氣的循環不斷吸收污泥中的水分,其工藝簡單、脫水率高,能夠達到低成本高效率地進行污泥脫水的目的,并且進行污泥脫水的裝置結構簡單,其減小了設備的占地面積。



