申請日2016.05.27
公開(公告)日2016.08.10
IPC分類號C02F1/32; C02F1/78
摘要
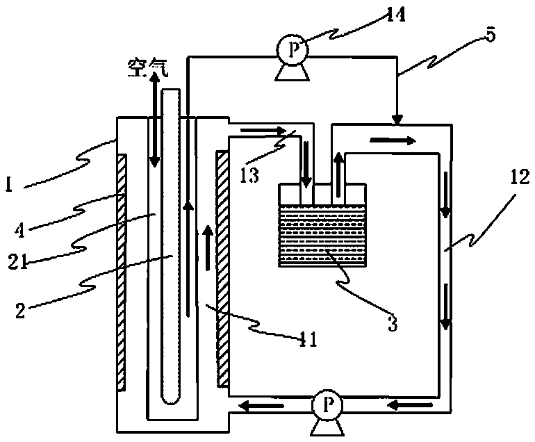
本發明涉及廢水處理機械技術領域,提供一種結構設計合理,能夠將紫外線殺菌消毒與促進酸化法有機結合并用,能夠對醫療廢水的有害有機物進行有效分解處理,而且具有避免二次廢棄物產生、處理時間短等優勢的廢水處理裝置,包括石英玻璃管、紫外線燈和廢水池,紫外線燈套設于石英玻璃管內,紫外線燈與石英玻璃管之間具有空腔,空腔內通有空氣,空氣含有的氧氣在紫外線燈照射下經過化學反應產生臭氧;石英玻璃管上設有流水通道,石英玻璃管上設有與流水通道想連通的進水管和出水管,進水管的進水端、出水管的出水端分別與廢水池連通,進水管上設有抽吸器;空腔與進水管之間連通有臭氧氣體管,所述臭氧氣體管上設有抽吸器。
摘要附圖
權利要求書
1.一種廢水處理裝置,其特征在于:包括石英玻璃管、紫外線燈和廢水池,所述紫外線燈套設于所述石英玻璃管內,所述紫外線燈與石英玻璃管之間具有空腔,所述空腔內通有空氣,空氣含有的氧氣在紫外線燈照射下經過化學反應會產生臭氧;所述石英玻璃管上設有流水通道,所述石英玻璃管上設有與流水通道想連通的進水管和出水管,進水管的進水端、出水管的出水端分別與廢水池連通,所述進水管上設有抽吸器;所述空腔與進水管之間連通有臭氧氣體管,所述臭氧氣體管上設有抽吸器。
2.根據權利要求1所述的廢水處理裝置,其特征在于:還包括二氧化鈦薄膜,所述二氧化鈦薄膜設于所述石英玻璃管的外壁上。
說明書
一種廢水處理裝置
技術領域
本發明涉及廢水處理機械技術領域,特別涉及一種廢水處理裝置。
背景技術
近年,隨著醫療化的高度發展,醫療廢水造成的水環境污染問題越來越受到重視。醫療廢水中常常含有各種的病原體、醫藥用品、各種有害有機物,若將這種醫療廢水不經處理直接排放的化,會對現有水環境造成嚴重的影響,如異味重、藥劑耐性菌的出現、強生理活性生物的不可預測的變化、飲用水中藥劑的混入等現象,對環境和人類身體健康具有重大的威脅,而目前常用的廢水處理方法存在生物分解性低,醫藥品類完全分解困難等情況,無法對醫療廢水進行有效處理,依然存在水環境污染嚴重的問題,因此,如何在排放前能夠對醫療廢水進行全面有效的分解處理,是目前行內急需解決的技術問題。
發明內容
因此,針對上述的問題,本發明提出一種結構設計合理,能夠將紫外線殺菌消毒與促進酸化法有機結合并用,能夠對醫療廢水的有害有機物進行有效分解處理,而且具有避免二次廢棄物產生、處理時間短等優勢的廢水處理裝置。
為實現上述技術問題,本發明采取的解決方案為:一種廢水處理裝置,包括石英玻璃管、紫外線燈和廢水池,所述紫外線燈套設于所述石英玻璃管內,所述紫外線燈與石英玻璃管之間具有空腔,所述空腔內通有空氣,空氣含有的氧氣在紫外線燈照射下經過化學反應會產生臭氧;所述石英玻璃管上設有流水通道,所述石英玻璃管上設有與流水通道想連通的進水管和出水管,進水管的進水端、出水管的出水端分別與廢水池連通,所述進水管上設有抽吸器;所述空腔與進水管之間連通有臭氧氣體管,所述臭氧氣體管上設有抽吸器。
進一步的是:還包括二氧化鈦薄膜,所述二氧化鈦薄膜設于所述石英玻璃管的外壁上。
通過采用前述技術方案,本發明的有益效果是,與現有技術相比具有如下設計:
1、如上所述設計的廢水處理裝置,紫外線燈自身能夠用紫外線殺滅醫療廢水中包括細菌繁殖體、芽胞、分支桿菌、冠狀病毒、真菌、立克次體和衣原體等病原體,起到殺菌消毒作用;而紫外線燈的照射也能夠使得空氣中含有的氧氣發生化學反應變化產生臭氧,將這些臭氧通入醫療廢水中,能夠進一步的對醫療廢水起到除臭殺菌作用,避免異味存在;同時溶有臭氧的醫療廢水中的部分臭氧在紫外線燈的照射下發生光降解反應產生氧氣和一個氧原子,單獨的氧原子與水會反應產出兩個·OH自由基,兩個·OH在水中彼此接近不穩定,兩個·OH容易結合會產生過氧化氫,過氧化氫會與部分臭氧反應產生穩定的·OH;并且臭氧在醫療廢水中并不穩定,臭氧發生自溶反應,最終產生·OH自由基、氧氣和OH負離子,整個化學反應過程中產生多個·OH自由基,實現促進酸化,·因此,所述廢水處理裝置產生的·OH自由基有強酸化分解作用,能夠分解一般酸化力不能分解的困難物質,提升廢水處理的有效作用,而且不會產生二次廢棄物,同時多樣化的殺毒滅菌的方式結合,可以對多樣化的微量污染物質分解除去,提升微量污染物質的分解能力,并且反應時間短。
2、沒有二氧化鈦薄膜的石英玻璃管可以用具有二氧化鈦薄膜的石英玻璃管進行替代,以實現光觸媒殺菌消毒作用,光觸媒是一種以納米級二氧化鈦為代表的具有光催化功能的光半導體材料的總稱,它涂布于基材表面,在紫外光線的作用下,產生強烈催化降解功能,能有效地降解空氣中有毒有害氣氣體,能有效殺滅多種細菌,并能將細菌或真菌釋放出的毒素分解及無害化處理,同時還具備除臭、抗污、凈化空氣等功能。


