申請日2016.05.05
公開(公告)日2016.11.23
IPC分類號B01D25/12
摘要
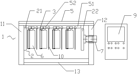
本實用新型涉及一種重金屬廢水處理壓濾機,其特征在于:包括機架、止推板、過濾框、過濾板、縱梁、壓緊板、油缸、烘干板和控制箱;所述過濾板的邊緣嵌入在過濾框內,過濾板呈凹槽狀;所述壓緊板呈凸起狀,與過濾板相配合并嵌入在過濾板的凹槽內,過濾板與壓緊板之間設置有濾布;過濾板與壓緊板之間采用的是凹凸型結構,使得濾餅全部位于過濾板中,放置濾餅在擠壓的過程中防止向外滲漏,提高了壓濾機的密封性,壓濾效果更好;采用的烘干板在壓濾過程中對壓濾的環境進行升溫,對壓濾餅進行烘干,使得濾餅的水含量低于2.5%,提高了壓濾機的壓濾效率。
權利要求書
1. 一種重金屬廢水處理壓濾機,其特征在于:包括機架、止推板、過濾框、過濾板、縱梁、壓緊板、油缸、烘干板和控制箱;所述過濾板的邊緣嵌入在過濾框內,過濾板呈凹槽狀;所述壓緊板呈凸起狀,與過濾板相配合并嵌入在過濾板的凹槽內,過濾板與壓緊板之間設置有濾布;
所述機架包括機架a和機架b,分別豎直設置在壓濾機的兩端,機架a和機架b的頂端通過縱梁相連,縱梁上設置有導軌,過濾框的頂端通過滑塊連接在導軌上,過濾框沿著導軌的鋪設方向移動;
所述止推板與機架平行,位于機架的內側壁,止推板共有一對,其中一個止推板a固定在一側的機架a上,止推板b與油缸相連,油缸垂直于機架b并穿過機架b推動止推板在水平方向上移動;
所述烘干板具有一對分別置于縱梁的兩側,且烘干板與縱梁平行,烘干板與控制箱相連。
2.根據權利要求1所述的一種重金屬廢水處理壓濾機,其特征在于:所述過濾板與壓緊板相互配合呈壓緊機構,兩相鄰的壓緊機構之間設置有隔板,隔板的頂端通過滑塊連接在縱梁的導軌上,并沿著導軌的延伸方向移動。
3.根據權利要求1所述的一種重金屬廢水處理壓濾機,其特征在于:所述機架a與機架b之間鋪設有一濾液槽,將分離出的液體導出濾液機。
說明書
一種重金屬廢水處理壓濾機
技術領域
本實用新型涉及過濾技術的設備領域,尤其涉及一種重金屬廢水處理壓濾機。
背景技術
壓濾機是一種低耗能、高效率間接性的加壓過濾設備,用于各種懸浮液中的固體與液相進行分離的一種裝置;它是依靠壓緊板與過濾板直接的配合,將置于其中的重金屬污水漿料包在濾布中,通過濾布來達到將固體與液相分離的目的,因其過濾過濾面積大和效率高的特點而被廣泛的使用,現有的壓濾機主要包括機架、橫梁、止推板、帶壓緊板的油壓裝置以及多個濾板、濾框和濾布。這種結構的壓濾機存在下列不足:密封性能差,漿液容易從濾板與濾框和濾布之間縫隙之間漏出,這些地方的泄漏漿液會進入下方的收集槽內,而降低過濾效果,且傳統的壓濾機沒有烘干裝置,導致濾餅中含有的水分較高,濾餅仍然呈膏狀,難以清理,不利于從過濾機上卸下和運輸。
實用新型內容
本實用新型要解決的技術問題是提供一種重金屬廢水處理壓濾機,能夠是濾餅中的含水量小于2.5%,提高金屬廢水處理污水壓濾機的壓濾效率,解決了傳統壓濾機濾餅中水分含量較高且濾餅呈膏狀的情況。
為解決上述技術問題,本實用新型的技術方案為:一種重金屬廢水處理壓濾機,其創新點在于:包括機架、止推板、過濾框、過濾板、縱梁、壓緊板、油缸、烘干板和控制箱;所述過濾板的邊緣嵌入在過濾框內,過濾板呈凹槽狀;所述壓緊板呈凸起狀,與過濾板相配合并嵌入在過濾板的凹槽內,過濾板與壓緊板之間設置有濾布;
所述機架包括機架a和機架b,分別豎直設置在壓濾機的兩端,機架a和機架b的頂端通過縱梁相連,縱梁上設置有導軌,過濾框的頂端通過滑塊連接在導軌上,過濾框沿著導軌的鋪設方向移動;
所述止推板與機架平行,位于機架的內側壁,止推板共有一對,其中一個止推板a固定在一側的機架a上,止推板b與油缸相連,油缸垂直于機架b并穿過機架b推動止推板在水平方向上移動;
所述烘干板具有一對分別置于縱梁的兩側,且烘干板與縱梁平行,烘干板與控制箱相連。
進一步的,所述過濾板與壓緊板相互配合呈壓緊機構,兩相鄰的壓緊機構之間設置有隔板,隔板的頂端通過滑塊連接在縱梁的導軌上,并沿著導軌的延伸方向移動。
進一步的,所述機架a與機架b之間鋪設有一濾液槽,將分離出的液體導出濾液機。
本實用新型的優點在于:過濾板與壓緊板之間采用的是凹凸型結構,使得濾餅全部位于過濾板中,放置濾餅在擠壓的過程中防止向外滲漏,提高了壓濾機的密封性,壓濾效果更好;
采用的烘干板在壓濾過程中對壓濾的環境進行升溫,對壓濾餅進行烘干,使得濾餅的水含量低于2.5%,提高了壓濾機的壓濾效率,改善了原來的壓濾機濾餅為膏狀難以清理的情況。



