申請日2016.05.05
公開(公告)日2016.10.12
IPC分類號C02F11/12; C02F11/00
摘要
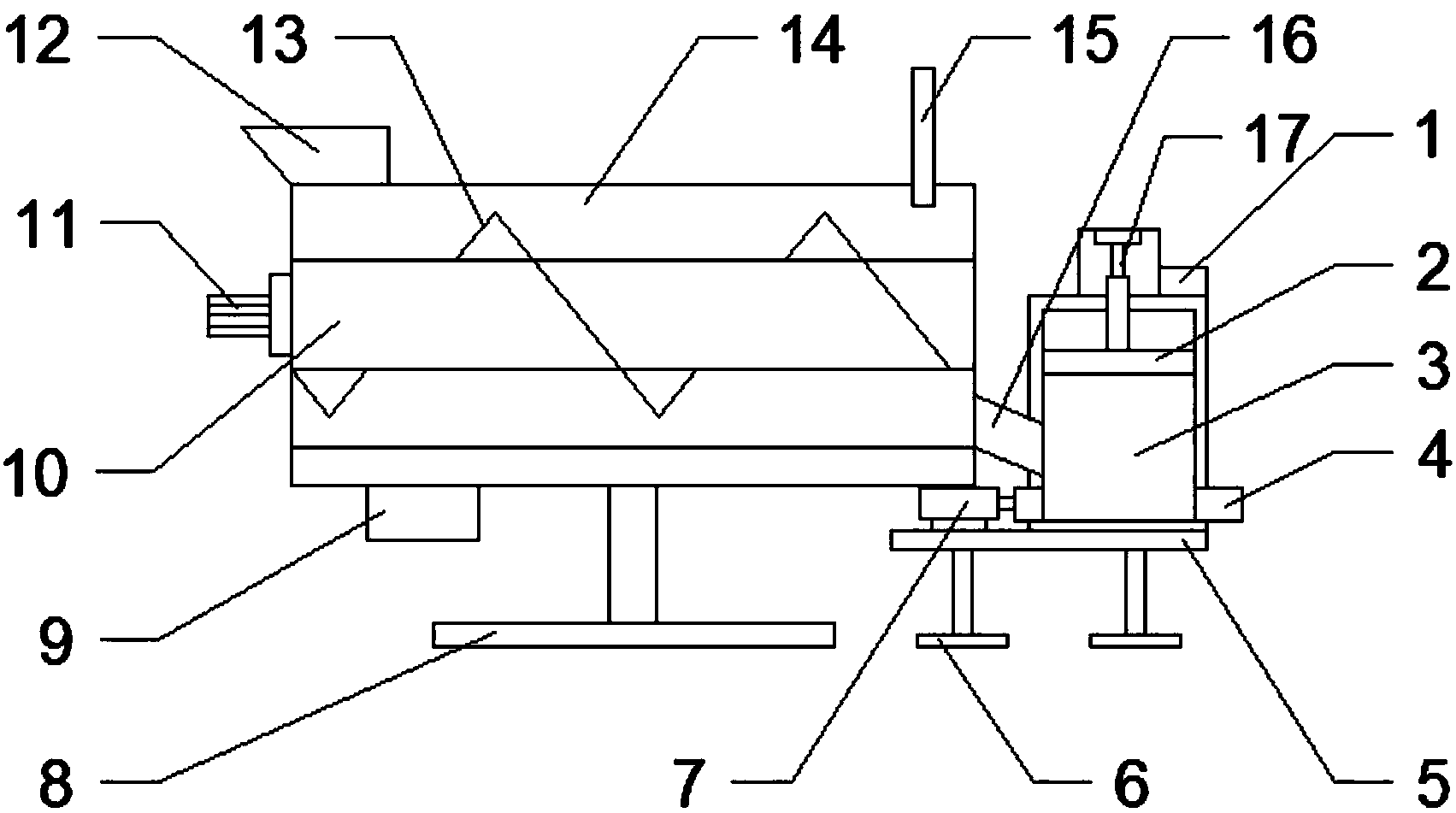
本實用新型公開了一種污泥脫水干化成型裝置,包括成型機、電機和干燥機;所述干燥機呈圓筒狀,內部設有加熱裝置和旋轉主軸,底部設有干燥機底座和加熱裝置;所述旋轉主軸由電機帶動,上面設有螺旋設置的送料葉片;在旋轉主軸的上方設有進料口和排氣管;所述排氣管位于干燥機的右側;在遠離進料口的干燥機底部設有一個與成型機連接的送料板;所述成型機上設有液壓裝置、壓板、出料口和控制器;所述成型機的底部設有一個液壓推桿;本實用新型一種污泥脫水干化成型裝置結構設計簡單,操作方便,可以對污泥進行干燥除濕,干燥后的污泥內水分較低,將處理后的污泥用成型機固定成型,易于擺放和后期的加工處理。
權利要求書
1.一種污泥脫水干化成型裝置,包括成型機、電機和干燥機;其特征在于,所述干燥機呈圓筒狀,內部設有加熱裝置和旋轉主軸,底部設有干燥機底座和加熱裝置;所述旋轉主軸由電機帶動,上面設有螺旋設置的送料葉片;在旋轉主軸的上方設有進料口和排氣管;所述進料口位于干燥機左側;所述排氣管位于干燥機的右側;所述干燥機內壁上安裝有保溫層;在遠離進料口的干燥機底部設有一個與成型機連接的送料板;所述成型機上設有液壓裝置、壓板、出料口和控制器;所述控制器位于液壓裝置右側;所述出料口位于成型機底部;所述成型機的底部設有一個液壓推桿;所述液壓推桿和成型機都固定在支撐臺上;所述支撐臺底部設有支撐底座。
2.根據權利要求1所述的一種污泥脫水干化成型裝置,其特征在于,所述送料葉片之間設有攪拌棒。
3.根據權利要求1所述的一種污泥脫水干化成型裝置,其特征在于,所述送料板分別于干燥機和成型機連接。
4.根據權利要求1所述的一種污泥脫水干化成型裝置,其特征在于,所述壓板位于成型機內部,頂部與液壓裝置連接。
說明書
一種污泥脫水干化成型裝置
技術領域
本實用新型涉及一種污泥處理裝置,具體是一種污泥脫水干化成型裝置。
背景技術
污泥是污水處理后的產物,是一種由有機殘片、細菌菌體、無機顆粒、膠體等組成的極其復雜的非均質體。污泥的主要特性是含水率高,有機物含量高,容易腐化發臭,并且顆粒較細,比重較小,呈膠狀液態。它是介于液體和固體之間的濃稠物,可以用泵運輸,但它很難通過沉降進行固液分離,F有的污泥處理機器只能對污泥進行簡單的干燥,處理完后也只能堆放在一起,占地面積大,后期處理困難。
實用新型內容
本實用新型的目的在于提供一種污泥脫水干化成型裝置,以解決上述背景技術中提出的問題。
為實現上述目的,本實用新型提供如下技術方案:
一種污泥脫水干化成型裝置,包括成型機、電機和干燥機;所述干燥機呈圓筒狀,內部設有加熱裝置和旋轉主軸,底部設有干燥機底座和加熱裝置;所述旋轉主軸由電機帶動,上面設有螺旋設置的送料葉片;在旋轉主軸的上方設有進料口和排氣管;所述進料口位于干燥機左側;所述排氣管位于干燥機的右側;所述干燥機內壁上安裝有保溫層;在遠離進料口的干燥機底部設有一個與成型機連接的送料板;所述成型機上設有液壓裝置、壓板、出料口和控制器;所述控制器位于液壓裝置右側;所述出料口位于成型機底部;所述成型機的底部設有一個液壓推桿;所述液壓推桿和成型機都固定在支撐臺上;所述支撐臺底部設有支撐底座。
作為本實用新型進一步的方案:送料葉片之間設有攪拌棒。
作為本實用新型進一步的方案:送料板分別于干燥機和成型機連接。
作為本實用新型再進一步的方案:壓板位于成型機內部,頂部與液壓裝置連接。
與現有技術相比,本實用新型的有益效果是:
本實用新型一種污泥脫水干化成型裝置結構設計簡單,操作方便,可以對污泥進行干燥除濕,干燥后的污泥內水分較低,將處理后的污泥用成型機固定成型,易于擺放和后期的加工處理。



