申請日2016.05.27
公開(公告)日2016.12.07
IPC分類號B01D36/02; E01H1/10
摘要
本實用新型涉及一種洗掃車污水分離凈化系統,包括安裝在洗掃車的車廂內的傾斜隔板,隔板的下側和車廂底板之間設置豎直的分離板,隔板和分離板將車廂內部空間分隔形成上部的垃圾區、下部前側的清水區和下部后側的污水區;洗掃車的吸嘴組件設置在車廂外部,且出口位于垃圾區內;車廂的底部設置有和清水區相連通的噴灑裝置;污水區內設置有水槽,隔板上設置有與水槽相對的導流孔;污水區的底部通過管路和水泵與過濾裝置相連通,過濾裝置位于車廂上側,過濾裝置上設置與垃圾區相連通的排渣口以及與清水區相連通的出口。本實用新型通過增加污水過濾裝置以及隔板和管路等部件,使污水能夠分離和回收,得到的清水能夠再次進行路面清掃,利于節水。
摘要附圖
權利要求書
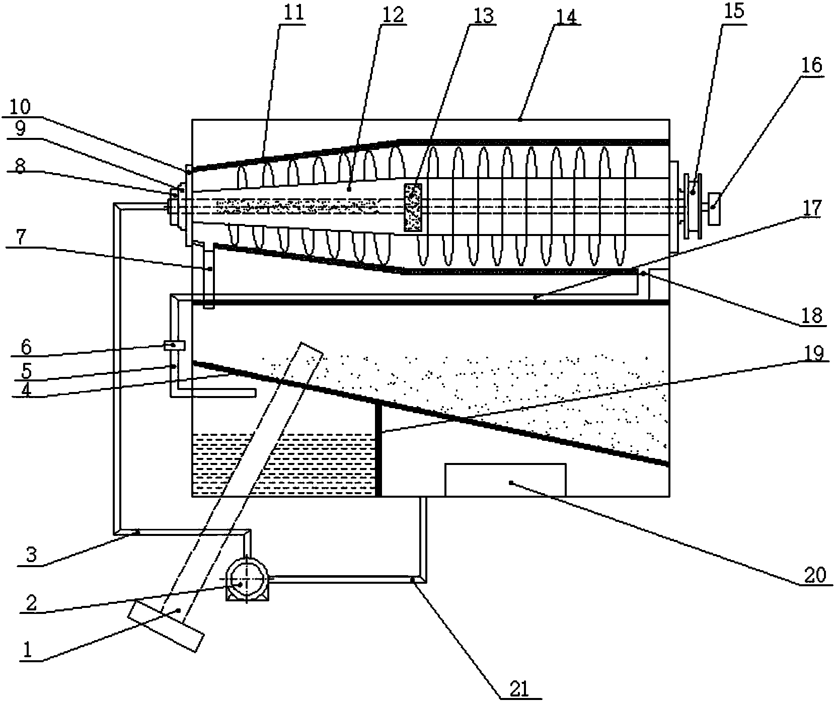
1.洗掃車污水分離凈化系統,其特征在于:包括安裝在洗掃車的車廂內的傾斜隔板,隔板的前端高于后端,且隔板的前端和兩側均與車廂側壁相接,后端與設置在車廂后側的豎直固定板(31)上端相接;固定板(31)的下端與車廂底板相連,上端與車廂的車門(32)相接;隔板的下側和車廂底板之間設置豎直的分離板(19),隔板和分離板(19)將車廂內部空間分隔形成上部的垃圾區(23)、下部前側的清水區(22)和下部后側的污水區(24);洗掃車的吸嘴組件(1)設置在車廂外部,且出口位于垃圾區(23)內;車廂的底部設置有和清水區(22)相連通的噴灑裝置;污水區(24)內設置有水槽(20),隔板上設置有與水槽(20)相對的導流孔;污水區(24)的底部通過管路和水泵(2)與過濾裝置(14)的進料口相連通,過濾裝置(14)位于車廂上側,過濾裝置(14)上設置與垃圾區(23)相連通的排渣口(7)以及與清水區(22)相連通的出口。
2.根據權利要求1所述的洗掃車污水分離凈化系統,其特征在于:污水區(24)內的車廂底板開孔且通過第一管路(21)與水泵(2)相連通;水泵(2)通過第二管路(3)與過濾裝置(14)的進料口相連通,過濾裝置(14)的出口通過第三管路(17)與Y型過濾器(6)相連通,Y型過濾器(6)通過第四管路(5)與清水區(22)相連通。
3.根據權利要求2所述的洗掃車污水分離凈化系統,其特征在于:Y型過濾器(6)包括相連通的入水口(29)、出水口(30)和過濾口(28),其中,過濾口(28)位于入水口(29)和出水口(30)的下側。
4.根據權利要求2所述的洗掃車污水分離凈化系統,其特征在于:第四管路(5)的出口始終位于清水區(22)內水面的上方。
5.根據權利要求1所述的洗掃車污水分離凈化系統,其特征在于:過濾裝置(14)包括旋轉方向相反的轉鼓(11)以及螺旋推料器(12),轉鼓(11)的前端連接第一動力裝置;螺旋推料器(12)位于轉鼓(11)內部;螺旋推料器(12)的中心軸后端連接第二動力裝置,螺旋推料器(12)的中心軸內部設置管道,管道兩端分別為進料口和分料口(13),其中分料口(13)位于中心軸中部;排渣口(7)設置在轉鼓(11)的前側底部,過濾裝置(14)的出口設置在轉鼓(11)的后側底部。
6.根據權利要求5所述的洗掃車污水分離凈化系統,其特征在于:第一動力裝置包括通過皮帶輪(8)與轉鼓(11)相連的主電機;第二動力裝置包括通過差速器(15)與螺旋推料器(12)的中心軸相連的輔電機(16)。
7.根據權利要求1或5所述的洗掃車污水分離凈化系統,其特征在于:過濾裝置(14)的出口處設置液層調節板(18)。
8.根據權利要求1所述的洗掃車污水分離凈化系統,其特征在于:水槽(20)上部設置溢流口(27)。
9.根據權利要求1所述的洗掃車污水分離凈化系統,其特征在于:隔板包括均傾斜設置的第一隔板(4)、第二隔板(25)和第三隔板(26),其中第一隔板(4)的前端與車廂前側壁相接,后端與固定板(31)相接,且前端高于后端;第一隔板(4)的兩個側邊分別與第二隔板(25)和第三隔板(26)的一側相連;第二隔板(25)和第三隔板(26)的另一側分別與車廂側壁相接,第二隔板(25)和第三隔板(26)與車廂側壁相接的一側均高于與第一隔板(4)相接的一側。
10.根據權利要求9所述的洗掃車污水分離凈化系統,其特征在于:第一隔板(4)的傾斜角度為35~45°。
說明書
洗掃車污水分離凈化系統
【技術領域】
本實用新型涉及污水處理領域,具體涉及一種洗掃車污水分離凈化系統。
【背景技術】
伴隨著城鎮工業化的發展,洗掃車在城市道路整潔干凈衛生方面扮演著越來重要的作用。目前,洗掃車裝備有儲存、轉運功能的垃圾箱,但其中含有大量洗掃過后的污水,直接傾斜進垃圾收容站,無疑會造成水資源的浪費。另一方面,隨著城市道路規模升級,需要洗掃車具有更長的作業時間來滿足城市清潔的要求。
【發明內容】
本實用新型的目的在于克服現有技術中存在的問題,提供一種種洗掃車污水分離凈化系統,能夠分離凈化污水,節約水資源。
為了達到上述目的,本實用新型采用如下技術方案:
包括安裝在洗掃車的車廂內的傾斜隔板,隔板的前端高于后端,且隔板的前端和兩側均與車廂側壁相接,后端與設置在車廂后側的豎直固定板上端相接;固定板的下端與車廂底板相連,上端與車廂的車門相接;隔板的下側和車廂底板之間設置豎直的分離板,隔板和分離板將車廂內部空間分隔形成上部的垃圾區、下部前側的清水區和下部后側的污水區;洗掃車的吸嘴組件設置在車廂外部,且出口位于垃圾區內;車廂的底部設置有和清水區相連通的噴灑裝置;污水區內設置有水槽,隔板上設置有與水槽相對的導流孔;污水區的底部通過管路和水泵與過濾裝置的進料口相連通,過濾裝置位于車廂上側,過濾裝置上設置與垃圾區相連通的排渣口以及與清水區相連通的出口。
進一步地,污水區內的車廂底板開孔且通過第一管路與水泵相連通;水泵通過第二管路與過濾裝置的進料口相連通,過濾裝置的出口通過第三管路與Y型過濾器相連通,Y型過濾器通過第四管路與清水區相連通。
進一步地,Y型過濾器包括相連通的入水口、出水口和過濾口,其中,過濾口位于入水口和出水口的下側。
進一步地,第四管路的出口始終位于清水區內水面的上方。
進一步地,過濾裝置包括旋轉方向相反的轉鼓以及螺旋推料器,轉鼓的前端連接第一動力裝置;螺旋推料器位于轉鼓內部;螺旋推料器的中心軸后端連接第二動力裝置,螺旋推料器的中心軸內部設置管道,管道兩端分別為進料口和分料口,其中分料口位于中心軸中部;排渣口設置在轉鼓的前側底部,過濾裝置的出口設置在轉鼓的后側底部。
進一步地,第一動力裝置包括通過皮帶輪與轉鼓相連的主電機;第二動力裝置包括通過差速器與螺旋推料器的中心軸相連的輔電機。
進一步地,過濾裝置的出口處設置液層調節板。
進一步地,水槽上部設置溢流口。
進一步地,隔板包括均傾斜設置的第一隔板、第二隔板和第三隔板,其中第一隔板的前端與車廂前側壁相接,后端與固定板相接,且前端高于后端;第一隔板的兩個側邊分別與第二隔板和第三隔板的一側相連;第二隔板和第三隔板的另一側分別與車廂側壁相接,第二隔板和第三隔板與車廂側壁相接的一側均高于與第一隔板相接的一側。
進一步地,第一隔板的傾斜角度為35~45°。
與現有技術相比,本實用新型具有以下有益的技術效果:
本實用新型利用車廂的內部空間,通過隔板和分離板分隔形成垃圾區、污水區和清水區,污水通過隔板上的導流孔,從垃圾區順流至污水區的水槽進行初步沉淀,從水槽中溢流至污水區內的水再經過水泵的連接輸送作用,將污水送入過濾裝置,泥水迅速分離,固態混合物流入垃圾區,液態的水經過管道回到清水區,快速高效地完成污水的分離凈化循環。而且,本實用新型中過濾裝置位于車廂頂部,使得經過過濾裝置分離的固態垃圾通過自重可流到垃圾區,液態水可以通過自重流入清水區;同時過濾裝置和車廂分離,使得裝置便于拆卸和維護,從而提高了裝置的使用壽命。本實用新型通過增加污水過濾裝置以及隔板和相關管路等部件,使污水能夠分離和回收,使污水過濾后得到的清水能夠再次進行路面清掃,利于提高洗掃車作業的有效時長和效率,利于節水。
進一步地,本實用新型通過設置Y型過濾器,能夠更精細地過濾,使進入清水區的水中含沙量更低。
進一步地,本實用新型通過將第四管路的出口始終設置在清水區內水面的上方,防止清水區的清水倒吸。
進一步地,本實用新型通過采用包括轉鼓和螺旋推料器的過濾裝置,形成離心式脫水設備,污水分離效果好。
進一步地,本實用新型通過將第一隔板的傾斜角度為35~45°,利于垃圾的卸料,甚至可不用液壓助力。


