申請日2016.05.04
公開(公告)日2016.09.07
IPC分類號C02F9/14; C02F103/28
摘要
本實用新型公開了一種造紙廢水可生化處理裝置,其包括等離子體發生器、分解池及生化反應器,等離子體發生器通過第一管道與分解池內的盤管連接,在該盤管上分布有若干個小孔,經過等離子體發生器的含氧自由基、含氮自由基等在盤管中小孔的作用下,與造紙廢水充分接觸,造紙廢水中的色素等氧化成易吸收氮化物和硫化物,處理后的液體通過第二管道進入生化反應器,生化反應器中通過菌種生化反應處理其中的有機物,完成廢水的深度處理。本實用新型經過二次處理,提高了造紙廢水的處理效率。
權利要求書
1.一種造紙廢水可生化處理裝置,其包括等離子體發生器、分解池及生化反應器,其特征在于:
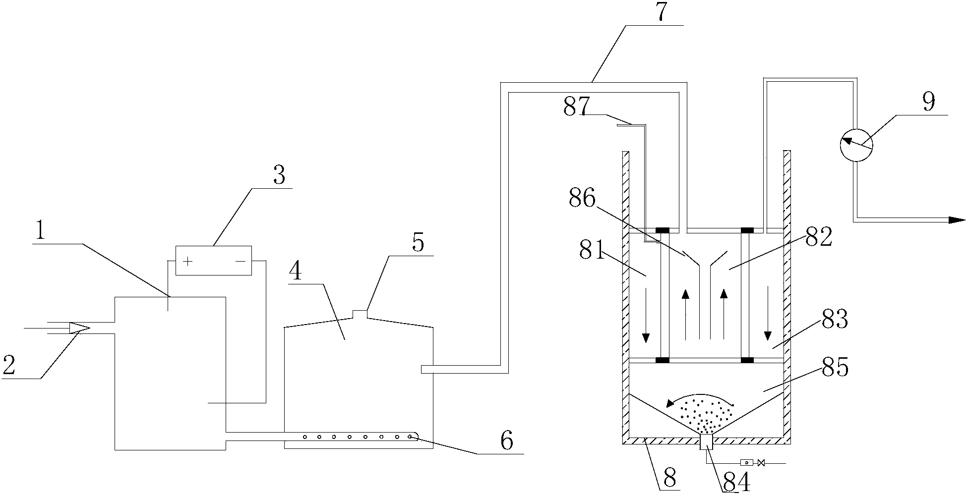
所述等離子體發生器包括腔體,所述腔體的兩側分別設置有進口一和出口一,在所述腔體的頂部連接有用于產生脈沖正負電流的電源;
所述分解池內放置造紙廢水,在所述分解池的底部設置有盤管,所述盤管上分布有若干個小孔,所述出口一通過第一管道與所述盤管連接,所述分解池壁設置有出口二和出口三,所述出口二用于氣體排出,所述出口三與所述生化反應器的入口通過第二管道連接;
所述生化反應器自下而上分為沉淀區、反應區和頂部區,相鄰的兩個區通過篩板分隔,反應區內垂向布設有管式膜組件一和管式膜組件二,管式膜組件一和管式膜組件二的頂部和底部分別固定在篩板上,管式膜組件一和管式膜組件二將所述反應區劃分為兩個降流區和一個升流區。
2.根據權利要求1所述的造紙廢水可生化處理裝置,其特征在于:所述升流區位于中間,升流區內設置有引流板組,引流板組為“Y”形。
說明書
造紙廢水可生化處理裝置
技術領域
本實用新型屬于造紙廢水處理技術領域,具體涉及一種造紙廢水可生化處理裝置。
背景技術
造紙廢水中主要含有半纖維素、木質素、無機酸鹽、細小纖維、無機填料、染料等污染物,其中的半纖維素和木質素主要形成廢水的COD和BOD5,細小纖維、無機填料等主要形成懸浮物,染料等主要形成色度,對我國水環境造成的嚴重污染,己成為工業污染防治的焦點、熱點和難點問題,要研究造紙工業廢水及其污染特性,對癥下藥,才能取得理想的防治效果。
隨著科技的不斷發展,廢水處理技術日新月異,傳統的廢水處理技術不斷被革新和發展,現在針對紙漿造紙廢水的處理方法很對,但是目前一般的造紙廠大多數仍然是還是采用傳統的物理處理和化學處理相結合的工藝,工藝路線陳舊,處理效率較低,且易造成二次污染,近年來出現的生物膜超濾技術、反滲透、電滲析、離子交換處理技術,由于其處理成本太高,在工業中實現困難,因此,至今尚沒有工業化的成熟處理技術可用。
實用新型內容
針對上述現有技術中造紙廢水處理不完全的問題,本實用新型提出了一種造紙廢水可生化處理裝置,在該處理裝置的分解池中利用等離子體中的活潑含氧自由基和含氮自由基對造紙廢水中的木質素、半纖維素等大分子物質氧化斷鏈,生成小分子有機物,初步處理后的廢水通過生化反應器進行深度處理,提高了造紙廢水的處理效率。
其技術解決方案包括:
一種造紙廢水可生化處理裝置,其包括等離子體發生器、分解池及生化反應器,所述等離子體發生器包括腔體,所述腔體的兩側分別設置有進口一和出口一,在所述腔體的頂部連接有用于產生脈沖正負電流的電源;
所述分解池內放置造紙廢水,在所述分解池的底部設置有盤管,所述盤管上分布有若干個小孔,所述出口一通過第一管道與所述盤管連接,所述分解池壁設置有出口二和出口三,所述出口二用于氣體排出,所述出口三與所述生化反應器的入口通過第二管道連接;
所述生化反應器自下而上分為沉淀區、反應區和頂部區,相鄰的兩個區通過篩板分隔,反應區內垂向布設有管式膜組件一和管式膜組件二,管式膜組件一和管式膜組件二的頂部和底部分別固定在篩板上,管式膜組件一和管式膜組件二將所述反應區劃分為兩個降流區和一個升流區。
作為本實用新型的一個優選方案,所述升流區位于中間,升流區內設置有引流板組,引流板組為“Y”形。
本實用新型帶來的有益技術效果是:
通過等離子體發生器與分解池內的盤管相互配合,當裝置運行時,等離子體發生器在電源的作用下,將從進口一進入的氣體中的含氧自由基、含氮自由基通過第一管道輸送至盤管,在盤管中,含氧自由基、含氮自由基等在與造紙廢水作用過程中能把其中的木質素和半纖維素等難處理物質分解成小分子有機物,色素等氧化成易吸收氮化物和硫化物,處理后的液體通過第二管道進入生化反應器,生化反應器中通過菌種生化反應處理其中的有機物,完成廢水的深度處理。
盤管管體上設置小孔,可以使含氧自由基等與造紙廢水充分接觸,提高分解效率。



