申請日2015.08.20
公開(公告)日2015.11.18
IPC分類號B01D36/04
摘要
本發明公開了一種高效污水處理塔,包括塔體和污水進管,還包括分水器和環形水箱,底座的殼體上設有清水排放口和污泥排放口,且在底座的殼體內設有一上寬下窄的儲泥斗;外殼內安裝有一個下端開口的內膽,該內膽的壁體外側與外殼的壁體之間至少設有1條過濾通道;分水器安裝于內膽的頂端,并與污水進管連接;環形水箱固定于外殼上部壁體的外側,并與過濾通道連接,環形水箱設有出水口,出水口通過清水排放管與清水排放口連接、且出水口的出水立方數比過濾通道內盛裝的水的立方數小至少100倍。本污水處理塔能夠實現自濾來過濾污水,無需設置濾網及濾芯,具有污水處理效率高,運行及維護成本低,操作方便且占用面積小的特點。
權利要求書
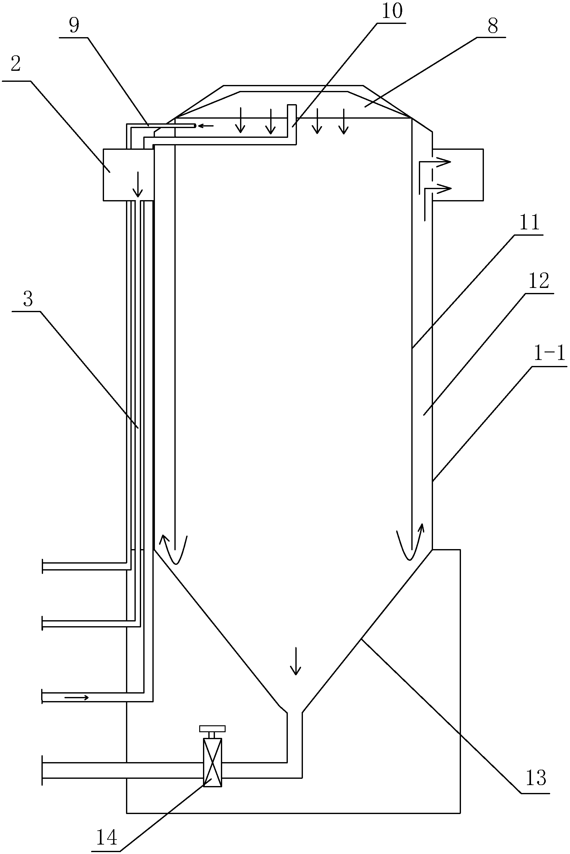
1.一種高效污水處理塔,包括塔體(1)和污水進管(10),其特征 在于:還包括分水器(8)和環形水箱(2),所述塔體(1)包括底座(1-2) 和設于底座(1-2)上的外殼(1-1),所述底座(1-2)的殼體上設有清水 排放口(7)和污泥排放口(6),且在底座(1-2)的殼體內設有一上寬下 窄的儲泥斗(13),儲泥斗(13)的上端與外殼(1-1)的底端連接、其下 端經一閥門(14)后與污泥排放口(6)連接;所述外殼(1-1)內安裝有 一個下端開口的內膽(11),該內膽(11)的壁體外側與外殼(1-1)的壁 體之間至少設有1條過濾通道(12);所述分水器(8)安裝于內膽(11) 的頂端,并與污水進管(10)連接;所述環形水箱(2)固定于外殼(1-1) 上部壁體的外側,并與過濾通道(12)連接,環形水箱(2)設有出水口, 所述出水口通過清水排放管(3)與清水排放口(7)連接、且其出水口的 出水立方數比過濾通道(12)內盛裝的水的立方數小至少100倍。
2.根據權利要求1所述的高效污水處理塔,其特征在于:所述分水 器(8)包括集水池(8-3)和至少2組分水盤(8-1),所述集水池(8-3) 的外周環設有第一擋水板(8-6)、且在第一擋水板(8-6)上開設有多個 流水槽(8-4);所述分水盤(8-1)以集水池(8-3)為中心,并依次環設 于第一擋水板(8-6)的外周、且每兩組相鄰的分水盤(8-1)與分水盤(8-1) 之間設有擋水板(8-2),并在擋水板(8-2)上開設有多個流水槽(8-4); 各分水盤(8-1)上的流水槽(8-4)相互錯開,在分水盤(8-1)的面板 上均勻開設有多個水孔(8-5)。
3.根據權利要求1或2所述的高效污水處理塔,其特征在于:所述 塔體(1)上連接有一油污管(9),所述油污管(9)的入口與內膽(11) 的上端連接、且于環形水箱(2)的上方,油污管(9)的另一端穿出外殼 (1-1)后與油污排放口(5)連接,油污排放口(5)設于底座(1-2)上。
4.根據權利要求3所述的高效污水處理塔,其特征在于:在內膽(11) 的上端、且于油污管(9)與環形水箱(2)之間設有一水位監測系統。
5.根據權利要求1所述的高效污水處理塔,其特征在于:在儲泥斗 (12)的底部壁體上設有一壓力傳感器,所述壓力傳感器與閥門(14)同 時與一個控制器電連接。
6.根據權利要求1所述的高效污水處理塔,其特征在于:所述內膽 (11)的高度等于外殼(1-1)的高度或是內膽(11)的高度比外殼(1-1) 的高度高40~50cm。
7.根據權利要求1~6任一項所述的高效污水處理塔,其特征在于: 所述儲泥斗(13)為錐形狀。
說明書
一種高效污水處理塔
技術領域
本發明涉及一種污水處理裝置,具體涉及一種高效污水處理塔。
背景技術
為節約水資源、減少對環境的污染,不管是在工業上還是生活中所產生 的污水,必須要經過專門的污水處理裝置處理后才能進行排放或使用。目前 普遍使用的污水處理裝置,幾乎都是先采用過濾網或濾芯對水中的沉淀物或 懸浮物進行粗濾后,再采用多級沉淀池進行沉淀,沉淀后再用高壓泥漿泵抽 送至壓濾機壓濾。傳統的污水處理裝置在使用過程存在如下缺陷:
1、沉淀池要求逐個輪作,沉淀時間長、工作量大、處理效率低,現有技 術中,為了加快污水的沉淀速度,往往要在沉淀池內加入大量的凈水劑,雖 然減少了沉淀處理時間,但由于增加凈水劑,使污水的pH值改變,直接影響 到廢水的回收利用;且沉淀池占地面積多,污水處理成本高;
2、配套使用的過濾網、濾芯及壓濾設備易磨損,且極易被沉淀物和懸浮 物堵塞,需要定時進行清洗疏通或更換,單機使用不能夠連續工住,直接影 響生產,且耗水耗電、運行維護成本高,不利于節能減排。
發明內容
針對上述的不足,本發明所要解決的技術問題是提供一種不需要濾網、 濾芯,可24小時不間斷工作、處理污水效率高,運行及維護成本低,操作方 便且占用面積小的高效污水處理塔。
為解決上述問題,本發明通過以下技術方案實現:
一種高效污水處理塔,包括塔體和污水進管,還包括分水器和環形水箱, 所述塔體包括底座和設于底座上的外殼,所述底座的殼體上設有清水排放口 和污泥排放口,且在底座的殼體內設有一上寬下窄的儲泥斗,儲泥斗的上端 與外殼的底端連接、其下端經一閥門后與污泥排放口連接;所述外殼內安裝 有一個下端開口的內膽,該內膽的壁體外側與外殼的壁體之間至少設有1條 過濾通道;所述分水器安裝于內膽的頂端,并與污水進管連接;所述環形水 箱固定于外殼上部壁體的外側,并與過濾通道連接,環形水箱設有出水口, 所述出水口通過清水排放管與清水排放口連接、且出水口的出水立方數比過 濾通道內盛裝的水的立方數小至少100倍。
上述方案中,所述分水器可以包括集水池和至少2組分水盤,所述集水 池的外周環設有第一擋水板、且在第一擋水板上開設有多個流水槽;所述分 水盤以集水池為中心,并依次環設于第一擋水板的外周、且每兩組相鄰的分 水盤與分水盤之間設有擋水板,并在擋水板上開設有多個流水槽;各分水盤 上的流水槽相互錯開,在分水盤的面板上均勻開設有多個水孔。
上述方案中,所述塔體上可以連接有一油污管,所述油污管的入口與內 膽的上端連接、且于環形水箱的上方,油污管的另一端穿出外殼后與油污排 放口連接,所述油污排放口設于底座上。
上述方案中,為方便控制將漂浮于內膽頂部的油污進行排放,在內膽的 上端、且于油污管與環形水箱之間設有一水位監測系統。
上述方案中,為實現儲泥斗自動排放其底部的污泥,在儲泥斗的底部壁 體上設有一壓力傳感器,所述壓力傳感器與閥門同時與一個控制器電連接。
上述方案中,所述內膽的高度等于外殼的高度或是內膽的高度比外殼的 高度高40~50cm。
上述方案中,為更有效收集、濃縮泥漿,所述儲泥斗為錐形狀。
與傳統的污水處理塔相比,本發明的有益效果為:
本發明通過主要由外殼、內膽、過濾通道、環形水箱和分水器組成的污 水處理塔,且在設置環形水箱的出水口時,使出水口的出水立方數比過濾通 道內盛裝的水的立方數小至少100倍這一條件,這樣使得塔體內的水流速度 很慢、幾乎達到靜止狀態,有利于污水的沉淀過濾。本發明的污水處理塔采 用靜態沉淀過濾及水往上排的技術原理,實現自濾來過濾污水,無需設置濾 網及濾芯,可以連續生產、具有污水處理效率高,運行及維護成本低,操作 方便且占用面積小的特點。







