申請日2015.08.19
公開(公告)日2015.12.02
IPC分類號C02F101/16; C02F9/08
摘要
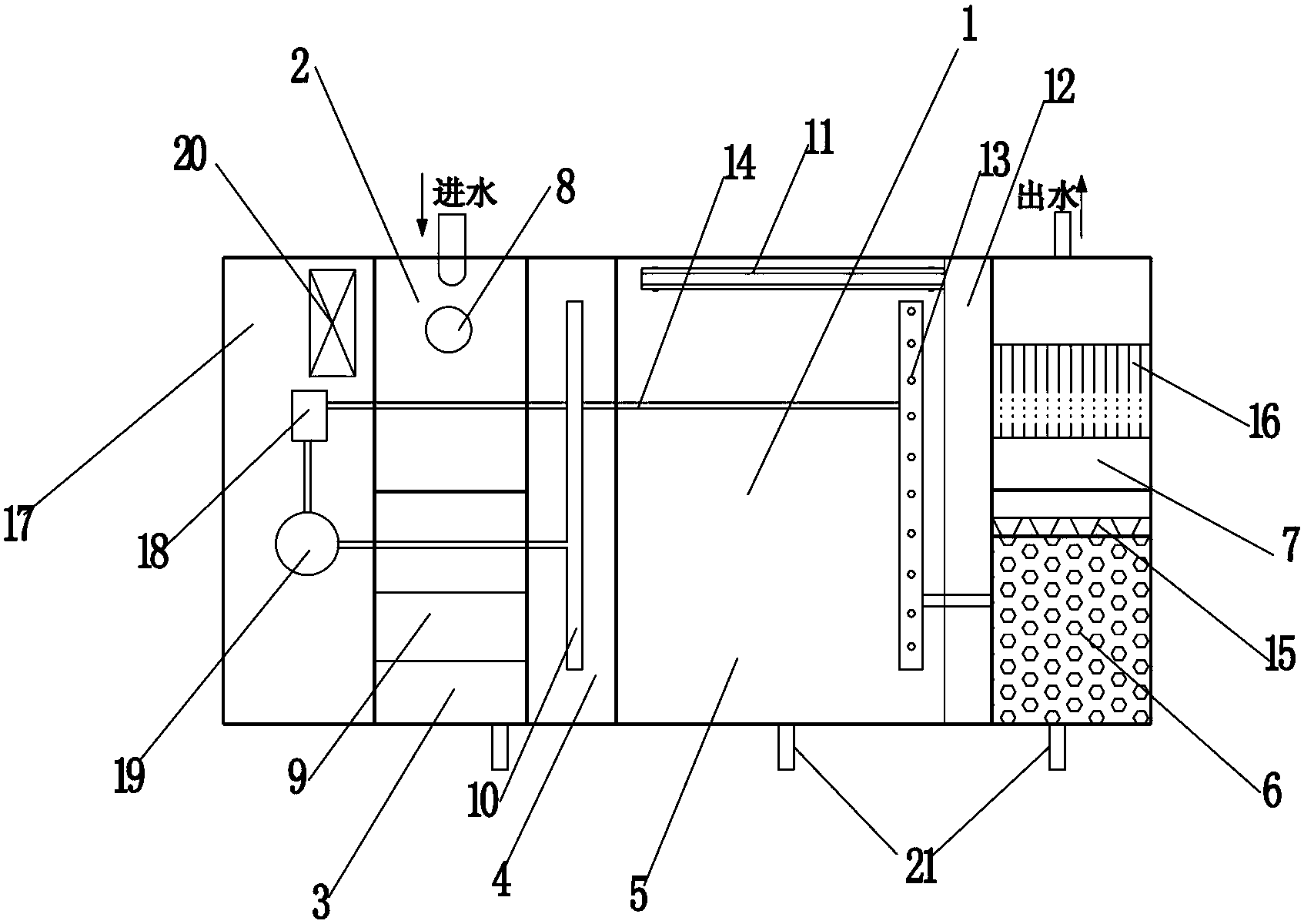
本實用新型公開了一種一體化景觀水處理裝置,包括池體,所述池體內設有呈U型連接的電凝聚室、混合室、氣浮室、分離室、過濾室和滅藻室,所述電凝聚室內設有鋁電極,混合室內斜置有擋板,氣浮室內設有溶氣水釋放管,在分離室的頂部設有刮渣機和排渣槽,底部設有清液收集管和溶氣水回流管,所述過濾室內設有活性炭海綿填料,頂端設有出水堰,滅藻室的頂端設有紫外燈。該裝置可對河水和景觀水的處理,通過電凝聚-氣浮-過濾-紫外線的組合,針對水質中藻類、濁度、葉綠素、氨氮等都有明顯的去除效果,使出水各項指標均能達到需求,具有高效、結構緊湊、占地面積小、節能且安裝維護便捷的優點,可廣泛用于河道水的治理和景觀水的補給及回用。
權利要求書
1.一種一體化景觀水處理裝置,包括池體(1),其特征在于:所述池體(1)內設有呈U型連接的電凝聚室(2)、混合室(3)、氣浮室(4)、分離室(5)、過濾室(6)和滅藻室(7),所述電凝聚室(2)內設有鋁電極(8),混合室(3)內斜置有擋板(9),氣浮室(4)內設有溶氣水釋放管(10),在分離室(5)的頂部設有刮渣機(11)和排渣槽(12),底部設有清液收集管(13)和溶氣水回流管(14),所述過濾室(6)內設有活性炭海綿填料,頂端設有出水堰(15),滅藻室(7)的頂端設有紫外燈(16);在池體(1)的一側設有控制室(17),所述控制室(17)內設有溶氣泵(18)和溶氣罐(19),溶氣罐(19)與氣浮室(4)內的溶氣水釋放管(10)連通,溶氣泵(18)與分離室(5)內的溶氣水回流管(14)連通。
2.根據權利要求1所述的一體化景觀水處理裝置,其特征在于:所述控制室(17)內還設有控制溶氣泵(18)、紫外燈(16)、鋁電極(8)和刮渣機(11)啟停的控制柜(20)。
3.根據權利要求1或2所述的一體化景觀水處理裝置,其特征在于:在池體(1)的底部設有排泥管(21)。
說明書
一體化景觀水處理裝置
技術領域
本實用新型涉及一種污水處理裝置,特別是一體化景觀水處理裝置。
背景技術
隨著社會不斷發展和人民生活條件不斷改善,景觀水慢慢地融入了人們的生活,住宅小區的景觀設計中往往會加入各種類型的水景元素以滿足人類親水的天性。但是,由于水源水質的影響或是管理措施的不到位,導致景觀河道、景觀水池的水質極易產生惡化,藻類瘋長、水體發綠甚至發臭等現象隨之而來。景觀水不但不能起到應有的美化環境的作用,反而人人避之而不及,在影響環境效果的同時也大大破壞了住區的品質。
為了保證小區景觀用水水質,就需要采取一定的水質處理措施,針對景觀水水質特點,相應的水處理設備首先需要處理的主要水質指標如下:濁度、藻類、懸浮顆粒、溶解氧和其他有機物。因此以這些指標作為依據,來設計景觀水處理裝置。
實用新型內容
本實用新型的目的是為了解決上述現有技術的不足而提供一種針對于景觀水處理且占地面積小的一體化景觀水處理裝置。
為了實現上述目的,本實用新型所設計的一體化景觀水處理裝置,包括池體,所述池體內設有呈U型連接的電凝聚室、混合室、氣浮室、分離室、過濾室和滅藻室,所述電凝聚室內設有鋁電極,混合室內斜置有擋板,氣浮室內設有溶氣水釋放管,在分離室的頂部設有刮渣機和排渣槽,底部設有清液收集管和溶氣水回流管,所述過濾室內設有活性炭海綿填料,頂端設有出水堰,滅藻室的頂端設有紫外燈;在池體的一側設有控制室,所述控制室內設有溶氣泵和溶氣罐,所述溶氣罐與氣浮室內的溶氣水釋放管連通,溶氣泵與分離室內的溶氣水回流管連通。
所述電凝聚室中以鋁電極為陽極,在直流電的作用下,陽極被溶蝕,產生Al離子,再經一系列水解、聚合及亞鋁的氧化過程,發展成為各種羥基絡合物、多核羥基絡合物以至氫氧化物,同時帶電的污染物顆粒在電場中泳動,其部分電荷被電極中和而促使其脫穩聚沉。
在混合室內斜置有擋板,水流通過上下紊流作用使廢水中的膠態雜質、懸浮雜質和Al離子的反應物充分混合后凝聚而從水中分離。
溶氣罐產生的溶氣水通過溶氣釋放管在氣浮室內釋放,使飽和溶氣水與水充分混合接觸。
在分離室內,水中的絮體上浮到液面,并經由刮渣機刮至排渣槽后外排處理,分離室內的下清液經由多孔的清液收集管送至過濾室內進行過濾室中處理。
所述過濾室內裝有活性炭海綿填料,利用活性炭海綿填料比表面積大,多孔透水性好的特點,既可以達到吸附過濾去除水中殘留的懸浮顆粒和膠體物質,又能有效的防止填料的堵塞。
所述滅藻室內利用紫外燈產生的紫外波進行殺菌滅藻,富營養化景觀水藻類殺滅率達到90%以上,濁度、化學需氧量、氨氮等水質指標也有不同程度的下降。
為了使設備可在無人看管的情況下連續運行,所述控制室內還設有控制溶氣泵、紫外燈、鋁電極和刮渣機啟停的控制柜。
為了將池底的污泥排出并接至污泥池進行污泥干化處理,在池體的底部設有排泥管。
待處理原水通過泵提升后從進水口進水,在電凝聚室中電極放電,產生Al離子,再經混合室和原水充分混合產生絮體,混合液進入氣浮室后,溶氣泵、溶氣罐產生的溶氣水通過溶氣釋放管在氣浮室內釋放,絮體與溶氣水發生接觸,在溶氣水的帶動下浮出水面形成浮渣,少量的絮體沉淀通過排泥管定期排放。分離室液面上的浮渣通過刮渣機以3-4m/min的速度定時清理至排渣槽,并排放至污泥池處理。液面下的清液由收集管收集后送至過濾室過濾,過濾后的上清液通過出水堰,自流進入滅藻室,在滅藻室停留時間超過10分鐘后,經紫外燈消毒滅藻處理后的清水通過裝置的出水口流出。經過處理后的水質最終達到《城市污水再利用景觀環境用水水質》(GB18918-2002)標準,即生化需氧量為6mg/L,懸浮物為10mg/L,氨氮含量為5mg/L,總磷含量為0.5mg/L,濁度可控制在3NTU(相當于3mg/L的白陶土懸浮體)。
本實用新型通過對一體化景觀水處理裝置內部結構的巧妙設計,和傳統的景觀水處理裝置相比較,有以下幾個特點:
1、在電凝聚-氣浮中,水中的葉綠素a、濁度和其他有機物隨著電荷負載的增加,去除率也在提高,通過電凝聚-氣浮,葉綠素a可去除80%左右,濁度可控制在3NTU以下,出水葉綠素a低于10μg/L,可有效的控制水體的富營養化。在一定電流強度下,電極產生具有相對比較高比表面積的絮體有利于水中懸浮物和膠體等物質的沉淀網捕和吸附。同時,電極還會產生某種氧化物質氧化水中的有機物。因此針對河水和景觀水質,電凝聚-氣浮有著較好的處理效果。
2、不同于其他常規絮凝方法,電凝聚具有無需加藥,產生浮渣和污泥少的特點,而且溶氣氣浮作為一種物理去除方法,無形中提高了原水的溶解氧,出水無需另設增氧曝氣裝置,氣浮可有效的去除漂浮在水中的藍藻等藻類,除藻效果比常規絮凝更為明顯。
3、過濾室設有活性炭海綿填料,利用活性炭海綿填料比表面積大,多孔透水性好的特點,既可以達到吸附過濾去除水中殘留的懸浮顆粒和膠體物質,又能有效的防止填料的堵塞。采用整體式過濾系統,過濾效果顯著,過濾器容量大。采用模塊式安裝,清洗更方便。選用活性炭海綿填料能有效改善水質,確保水質清澈。
4、滅菌室設有紫外燈照射,紫外線照射能夠很好地降低藻類的生長活性,紫外線劑量達到一定程度時對特定的藻類開始具有明顯的抑制作用,藻類密度越高處理效果越顯著,紫外線照射時間10min是抑制藻類生長的最佳時間。同時,紫外線照射還可以部分降低COD等有機物濃度,甚至可以有效的抑制細菌的滋生。
5、通過電凝聚-氣浮-過濾-紫外線的組合,針對水質中藻類、濁度、葉綠素、氨氮等都有明顯的去除效果。相比于常規景觀水處理中采用的過濾-紫外線、單一的溶氣氣浮、曝氣增氧-生物處理等方法,此可達到更顯著的景觀水和河水處理效果。
6、本裝置通過控制柜進行全自動化運行,無需專職的運行人員看管。只需定期更換損耗的電極和紫外線燈管,以及定期打開裝置底部的排泥管排污即可。
7、一體化設備內含有的電氣設備采用低能耗、低噪聲電機,可有效的降低能耗,減少日后的運行費用,減少對周圍環境的影響。
綜上所述,本實用新型得到的一體化景觀水處理裝置可對河水和景觀水的處理,通過電凝聚-氣浮-過濾-紫外線的組合,針對水質中藻類、濁度、葉綠素、氨氮等都有明顯的去除效果,使出水各項指標均能達到景觀用水的需求,具有高效、結構緊湊、占地面積小、節能且安裝維護便捷的優點,可廣泛適用于河道水的治理和景觀水的補給及回用。







