申請日2014.10.21
公開(公告)日2016.07.20
IPC分類號B01F13/02; B01F1/00; C02F1/00
摘要
本申請公開了一種PLC自動計算加藥劑量的污水處理設備用加藥裝置,包括原水進水管、原水出水管以及懸空設置的藥物反應池;藥物反應池底部設置有氣體管道,該氣體管道從藥物反應池池底穿過并連接有一個球體;球體上均勻布置有若干個通氣孔;藥物反應池的頂部設置有至少一個粉狀藥劑盒;每個粉狀藥劑盒的底部均設置有一根輸藥管,輸藥管的另一端連接有一個噴灑頭;原水進水管上設置有與PLC相連接的流量傳感器和流速傳感器。采用上述結構后,上述藥物反應池體積小,且懸空設置,不占用車載工具的實際接觸空間,節省了車載工具的空間。另外,加藥裝置能夠根據進水管中的原水流量值和原水流速值數據,自動計算加藥的劑量及加藥頻率,從而加藥劑量準確。
權利要求書
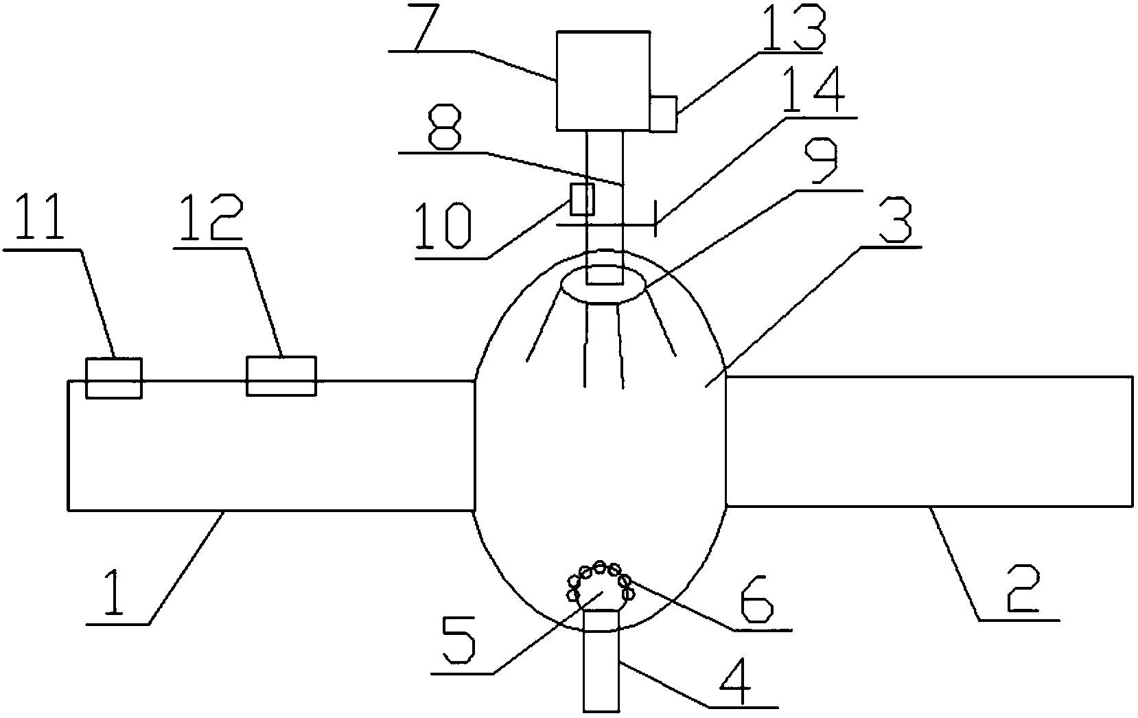
1.一種移動污水處理設備用加藥裝置,其特征在于:包括原水進水管(1)、原水出水管(2)以及懸空設置于原水進水管(1)和原水出水管(2)兩者之間的藥物反應池(3);藥物反應池(3)底部設置有氣體管道(4),該氣體管道(4)從藥物反應池(3)池底穿過并連接有一個球體(5);球體(5)與藥物反應池(3)同軸設置;球體(5)上均勻布置有若干個通氣孔(6);藥物反應池(3)的頂部設置有至少一個粉狀藥劑盒(7);每個粉狀藥劑盒(7)的底部均設置有一根輸藥管(8),輸藥管(8)的另一端從藥物反應池(3)的頂部穿過,并通過自動閥門(14)連接有一個噴灑頭(9);每個所述輸藥管(8)上均設置有計量泵(10);所述原水進水管(1)上設置有與PLC相連接的流量傳感器(11)和流速傳感器(12);
所述藥物反應池(3)的容積為原水進水管(1)中每分鐘內最大流量的2倍;所述藥物反應池(3)傾斜設置在原水進水管(1)和原水出水管(2)兩者之間;球體的頂部高度與原水進水管底部內壁的高度相等;
每個所述粉狀藥劑盒(7)上均設置有重量傳感器(13)。
說明書
PLC自動計算加藥劑量的污水處理設備用加藥裝置
技術領域
本申請涉及一種加藥裝置,特別是一種移動污水處理設備用加藥裝置。
背景技術
目前城市生活污水排放已是中國城市水的主要污染源,城市生活污水處理是當前和今后城市節水和城市水環境保護工作的重中之重,這就要求我們要把處理生活污水設施的建設作為城市基礎設施的重要內容來抓,而且是急不可待的事情。
污水處理是處理水污染的重要過程。采用物理、生物、及化學的方法對工業廢水和生活污水進行處理以分離水中的固體污染物并降低水中的有機污染物和富營養物(主要為氮、磷化合物),從而減輕污水對環境的污染。
污水處理前,一般需要對污水進行加藥預處理,如加入NaClO,以將污水中的細菌、微生物等去除,防止細菌對后續過濾膜的損傷;加入敏化劑以利于微波反應等。
目前,加藥裝置普遍包括配藥池、儲藥池、藥物混合池、計量泵及配套管路、閥門等,也是所有加藥裝置所必須配備的部分。其中,計量泵是最為關鍵的部分。在實際工程中,常產生因計量泵選型不準確而對整個加藥產生影響的情況發生。計量泵常采用機械隔膜泵,它以壓縮空氣為動力,是一種由膜片往復變形造成容積變化的容積泵,工作原理類似于柱塞泵。基本參數包括流量和揚程。在計量泵的銘牌上,往往都可以看到計量泵具有非常寬裕的選擇范圍,工廠設計給排水專業的人員也常常會給出諸如0~200L/h、0~400L/h的選型參數,但實際上計量泵也有其最佳工況,實際流量如果偏離了最佳工況,計量泵的流量其實也就不準確了。根據現場實際經驗,計量泵的最佳開度為50%,即當工作流量為計量泵最大流量的一半時,計量泵處于最佳工作狀態,工作流量太大或太小,其流量值均不準,將會導致加藥量均不準確。
根據環境保護法律法規的要求,工業污水產生單位需要配套設置污水處理設備。對于多數工業生產企業來說,通常根據具體的污水所含污物的狀況來設置固定的污水處理設備。固定式污水處理設備的優點是可以根據需要設置污水處理裝置,而不受空間大小的限制。
然而,在許多情況下,需要對一些突發的水污染情況進行應急處理,如松花江污染事件以及企業突發的污水管破裂等。這類情況,由于時間、地點的不確定性,需要一種可移動式的污水處理設備,以便在第一時間到達事件現場對污水進行及時的處理。為此,現有技術中已經提出了各種相應的污水處理設備。
2006年1月25日公開的申請號為200420099630.0的中國實用新型專利,其發明創造的名稱為“一種車載式污水處理設備”,該設備采用車載箱式結構,集吸附、絮凝、沉降于一體,設備前端對稱設兩儲藥池,儲藥池下部設配藥池;兩儲藥池之間設控制柜,控制柜下部安裝高壓風泵和磁力驅動泵;設備前部設混藥池,混藥池一側設原水進口,設備中部設沉淀池,沉淀池上部設集水槽,中部安裝斜管沉淀器,設備后端設砂濾池,砂濾池中部設石英砂層和碎石層組成的過濾層,出水口設在砂濾池上部后端;混藥池、沉淀池、砂濾池底部均設有排泥錐底.排泥總管連接各排泥錐底,構成排泥通道。
上述車載式污水處理設備,具有如下不足:
1.在對原水加藥時,在車載箱式結構上并列設置了體積很大的配藥池、儲藥池和混藥池。這些結構將占用車載的很大一部分體積,不符合車載尺寸的要求。
2.每次藥物加入計量固定,不能根據污水的實際流量進行加藥。
a)當原水流量大時,加入固定量的藥劑,將不能將原水中的雜質、微生物等全部清除干凈,將導致污水處理指標不達標,流入后道沉降過濾工序。
b)當原水流量小時,再加入固定量的藥劑,這時,藥劑量將加入過多,將會導致給原水帶來新的污染,后續還需增加去除藥劑的裝置或步驟。
2008年8月6日公開的申請號為200810084959.2的中國發明專利,其發明創造的名稱為“移動式污水處理設備”。
上述專利申請,包括一個運載工具、安置在所述運載工具上的微波污水處理系統、設置在所述微波反應器的下游,通過管路與所述微波反應器的污水出口相連接的沉降過濾裝置,以及設置在所述微波反應器的上游管路中的敏化劑及其它水處理劑添加裝置。
上述敏化劑及其它水處理劑添加裝置設置在所述沉降過濾裝置另一端的前輪組平臺或后輪組平臺上。所述敏化劑及其它水處理劑添加裝置包括一個混合反應箱,與所述混合反應器相連通的敏化劑儲藥箱,以及用于向添加了所述敏化劑的污水中加入其它添加劑的其它添加劑儲藥箱;在所述混合反應器中設置攪拌器。
上述混合反應器與所述敏化劑儲藥箱通過一個帶有計量泵的輸送管連通;所述其它添加劑儲藥箱通過一個帶有計量泵的輸送管向添加了所述敏化劑的污水中加入其它添加劑。在所述敏化劑儲藥箱中也設置有攪拌器。所述混合反應器與所述敏化劑儲藥箱中的氣體攪拌器中的所述攪拌器均為氣體攪拌器,并共用一個輸氣管道。
上述移動式污水處理設備,解決了現有微波污水處理系統加藥均勻,且微波利用率低的技術問題。但仍存在著如下的不足:
1.在對原水加藥時,在運載工具,如車體上仍設置有多個敏化劑及其它水處理劑添加裝置,以及混合反應箱。這些結構也將占用車載的很大一部分體積,不符合車載尺寸的要求。
2.每次藥物加入計量仍然固定,依然不能根據污水的實際流量進行加藥。仍然存在藥物加入劑量不足或加入過多的問題。
發明內容
本申請要解決的技術問題是針對上述現有技術的不足,而提供一種移動污水處理設備用加藥裝置,該加藥裝置能夠根據進水管中的原水流量值和原水流速值數據,自動計算加藥的劑量及加藥頻率,從而加藥劑量準確。
其次,本申請還提供一種移動污水處理設備用加藥裝置,該加藥裝置采用粉狀藥劑直接噴灑在原水中,并用氣體混勻,藥物反應池體積小,可以直接懸空設置,不占用車載工具的實際接觸空間,同時藥物混合十分均勻。
為解決上述技術問題,本申請采用的技術方案是:
一種移動污水處理設備用加藥裝置,包括原水進水管、原水出水管以及懸空設置于原水進水管和原水出水管兩者之間的藥物反應池;藥物反應池底部設置有氣體管道,該氣體管道從藥物反應池池底穿過并連接有一個球體;球體與藥物反應池同軸設置;球體上均勻布置有若干個通氣孔;藥物反應池的頂部設置有至少一個粉狀藥劑盒;每個粉狀藥劑盒的底部均設置有一根輸藥管,輸藥管的另一端從藥物反應池的頂部穿過,并通過自動閥門連接有一個噴灑頭;每個所述輸藥管上均設置有計量泵;所述原水進水管上設置有與PLC相連接的流量傳感器和流速傳感器。
所述藥物反應池的容積為原水進水管中每分鐘內最大流量的2倍。
所述藥物反應池傾斜設置在原水進水管和原水出水管兩者之間。
所述藥物反應池與原水進水管之間的夾角為30°。
每個所述粉狀藥劑盒上均設置有重量傳感器。
本申請采用上述結構后,具有如下有益效果:
1.上述藥物反應池體積小,且懸空設置,不占用車載工具的實際接觸空間,節省了車載工具的空間。
2.加藥裝置能夠根據進水管中的原水流量值和原水流速值數據,自動計算加藥的劑量及加藥頻率,從而加藥劑量準確。同時,本申請采用粉狀藥劑直接噴灑在原水中,并用氣體混勻,故混合均勻。







