申請日2013.08.23
公開(公告)日2014.03.05
IPC分類號C02F11/12
摘要
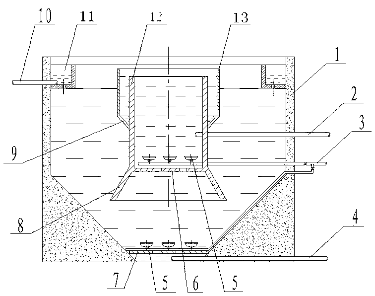
本實用新型公開了一種供氧式污泥濃縮池,屬于環保設備;旨在提供一種可防止排放污泥中含磷物質釋放的污泥濃縮池。它包括底部呈鍋底狀的池體、固定在該池體中呈圓環槽狀結構的集水堰、與該集水堰連通的出水管、固定在池底的濾板、分別位于該濾板上方和下方的進泥管和排泥管;池體(1)中有與進泥管(2)連通的中心筒(12),該中心筒內固定有第二濾板(6),第二濾板(6)和濾板(7)的上方均有與進氣管(3)連通的若干曝氣頭(5)。本實用新型可攪動污泥使其曝氣供氧充分、循環沉淀,從而有效地避免了因污泥沉積而產生厭氧環境;是一種處理廢水污泥的環保設備。
權利要求書
1.一種供氧式污泥濃縮池,包括底部呈鍋底狀的池體、固定在該池體中呈圓環槽狀結構的集水堰、與該集水堰連通的出水管、固定在池底的濾板、分別位于該濾板上方和下方的進泥管和排泥管;其特征在于:池體(1)中有與進泥管(2)連通的中心筒(12),該中心筒內固定有第二濾板(6),第二濾板(6)和濾板(7)的上方均有與進氣管(3)連通的若干曝氣頭(5)。
2.根據權利要求1所述的供氧式污泥濃縮池,其特征在于:中心筒(12)的外圍有擋泥罩(13)。
3.根據權利要求1或2所述的供氧式污泥濃縮池,其特征在于:擋泥罩(13)的下方有固定在中心筒(12)底部的喇叭狀布料罩(8)。
說明書
供氧式污泥濃縮池
技術領域
本實用新型涉及一種污泥濃縮池,尤其涉及一種可連續供氧的污泥濃縮池;屬于環保設備。
背景技術
目前,污泥濃縮池通常由底部呈鍋底狀的池體、固定在該池體中呈圓環狀的集水堰、與該集水堰連通的出水管、固定在池底的濾板、分別位于該濾板上下方的進泥管和排泥管構成;由于設置曝氣裝置,污泥容易在沉積于池底而形成厭氧環境,導致污泥中的除磷菌分解細胞內的聚磷酸鹽而釋放磷,造成經脫水后的泥餅含磷量過高,達不到排放標準。
發明內容
為了克服現有技術中存在的缺陷,本實用新型旨在提供一種可防止排放污泥中含磷物質釋放的供氧式污泥濃縮池。
為了實現上述目的,本實用新型采用以下技術方案:它包括底部呈鍋底狀的池體、固定在該池體中呈圓環槽狀結構的集水堰、與該集水堰連通的出水管、固定在池底的濾板、分別位于該濾板上方和下方的進泥管和排泥管;池體中有與進泥管連通的中心筒,該中心筒內固定有第二濾板,第二濾板和濾板的上方均有與進氣管連通的若干曝氣頭。
中心筒的外圍有擋泥罩;擋泥罩的下方有固定在中心筒底部的喇叭狀布料罩。
與現有技術比較,本實用新型由于采用了上述技術方案,在傳統結構的基礎上增加了中心筒,并在中心筒中以及池底增加了兩級曝氣裝置,因此能夠攪動污泥使其充分曝氣供氧、循環沉淀,從而有效地避免了因污泥沉積而產生厭氧環境。







