申請日2014.10.16
公開(公告)日2015.03.25
IPC分類號C05F7/00
摘要
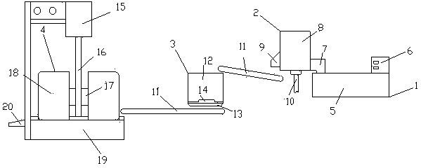
本實用新型是一種新型污泥有機肥生產設備,包括有發酵裝置、脫水機、干燥裝置和碾磨裝置,所述發酵裝置包括發酵池、污泥檢測器和抽泥機,所述發酵裝置通過抽泥機與脫水機相連接,所述脫水機包括脫水機腔、泥塊出口和排水管,所述脫水機和干燥裝置之前設置有傳送帶,所述干燥裝置包括有干燥腔和污泥塊出口,所述干燥裝置和碾磨裝置之間設置有傳送帶,所述碾磨裝置包括有電機、電機軸、旋轉軸和底盤,所述電機軸與旋轉軸相固接,所述旋轉軸兩邊皆設置有碾磨石輪,所述底盤的左側設置有出料口;該新型污泥有機肥生產設備具有使用生產效率高、低污染和工作穩定的優點。
權利要求書
1.一種新型污泥有機肥生產設備,其特征在于:包括有發酵裝置、脫水機、干燥裝置和碾磨裝置,所述發酵裝置包括發酵池、污泥檢測器和抽泥機,所述污泥檢測器設置在發酵池的右上方,所述抽泥機設置在發酵池的左上方,所述發酵裝置通過抽泥機與脫水機相連接,所述脫水機包括脫水機腔、泥塊出口和排水管,所述泥塊出口設置在脫水機腔的左下方,所述排水管設置在脫水機腔的底部,所述脫水機和干燥裝置之前設置有傳送帶,所述干燥裝置包括有干燥腔和污泥塊出口,所述污泥出口設置在干燥腔的底部,所述干燥裝置和碾磨裝置之間設置有傳送帶,所述碾磨裝置包括有電機、電機軸、旋轉軸和底盤,所述電機軸與旋轉軸相固接,所述旋轉軸兩邊皆設置有碾磨石輪,所述底盤的左側設置有出料口。
2.根據權利要求1所述的一種新型污泥有機肥生產設備,其特征在于:所述污泥檢測器上設置有酸堿指示表。
3.根據權利要求1所述的一種新型污泥有機肥生產設備,其特征在于:所述干燥裝置的底部設置有落料控制閘。
4.根據權利要求1所述的一種新型污泥有機肥生產設備,其特征在于:所述碾磨裝置設置有控制器。
5.根據權利要求1所述的一種新型污泥有機肥生產設備,其特征在于:所述碾磨裝置的底盤為內凹設置。
說明書
一種新型污泥有機肥生產設備
技術領域
本實用新型涉及一種新型污泥有機肥生產設備。
背景技術
目前很多漁農承包大量的魚塘進行養殖魚蝦,由此魚塘通過沉淀泥土、魚糞和殘余飼料等形成富有有機物的污泥,這些污泥如果不能及時處理,會造成魚塘內的藻類繁殖速度加快,影響魚塘的含氧量,從而影響魚類生長,甚至造成魚類死亡。
由于魚塘的污泥富含磷等有機物,如果能將之加工成有機肥料能夠為農作物提供富含磷等有機肥料,同時,由于目前的污泥處理機械不夠完善,因此,有必要設計一種能夠高效率將污泥加工成有機肥的生產設備。
發明內容
本實用新型所要解決的技術問題在于提供一種生產效率高、低污染和工作穩定的污泥有機肥生產設備。
為解決上述問題,本實用新型采用如下技術方案:
一種新型污泥有機肥生產設備,包括有發酵裝置、脫水機、干燥裝置和碾磨裝置,所述發酵裝置包括發酵池、污泥檢測器和抽泥機,所述污泥檢測器設置在發酵池的右上方,所述抽泥機設置在發酵池的左上方,所述發酵裝置通過抽泥機與脫水機相連接,所述脫水機包括脫水機腔、泥塊出口和排水管,所述泥塊出口設置在脫水機腔的左下方,所述排水管設置在脫水機腔的底部,所述脫水機和干燥裝置之前設置有傳送帶,通過傳送帶,能將脫水后的污泥輸送到干燥裝置內,所述干燥裝置包括有干燥腔和污泥塊出口,所述污泥出口設置在干燥腔的底部,所述干燥裝置和碾磨裝置之間設置有傳送帶,通過傳送帶,能將干燥后的污泥塊輸送到碾磨裝置上進行碾磨成粉,所述碾磨裝置包括有電機、電機軸、旋轉軸和底盤,所述電機軸與旋轉軸相固接,所述旋轉軸兩邊皆設置有碾磨石輪,所述底盤的左側設置有出料口。
作為優選,所述污泥檢測器上設置有酸堿指示表,通過酸堿指示表能夠辨別污泥的酸堿程度,呈酸性則添加堿性輔料中和,呈堿性則添加酸性輔料中和。
作為優選,所述干燥裝置的底部設置有落料控制閘,通過控制落料控制閘,能夠將干燥后的污泥塊落到傳送帶上。
作為優選,所述碾磨裝置設置有控制器,通過控制器能夠控制碾磨裝置的碾磨速度和制停碾磨裝置。
作為優選,所述碾磨裝置的底盤為內凹設置,能夠防止碾磨石輪脫離底盤。
本實用新型的有益效果是:由于設置有污泥檢測器,能夠檢測出污泥的酸堿性,從而添加對應的輔料進行中和,由于設置有脫水機,通過脫水機能夠將污泥中60%的水分進行脫離,由于設置有干燥裝置,通過干燥裝置能夠將污泥塊的水分進行清除,便于碾磨成粉末,由于設置有碾磨裝置,能將干燥后的污泥進行碾磨成粉末,有利于農作物吸收成長。







