公布日:2023.12.22
申請日:2023.10.19
分類號:C02F11/123(2019.01)I;C02F11/121(2019.01)I;C02F11/127(2019.01)I
摘要
本發明公開了一種具有高剪切力結構的污泥帶式深度脫水機,涉及脫水機技術領域,本發明是基于污泥深度脫水機的原理,針對其自然濾水這一過程,在污泥傳輸過程中同步增設三向料筒,三向料筒作為污泥的中轉結構,不干涉污泥的正常傳輸過程,且沿污泥的傳輸方向分別進行進料、高速旋轉攪動和出料三個過程,在高速旋轉攪動過程,利用高轉速條件帶動內置篩筒內部的污泥進行充分“旋轉”,在離心力和連接刀板的共同作用下,加速污泥中水分被濾除,其目的是:促進后續擠壓濾水處理,促進整體脫水機的處理過程。

權利要求書
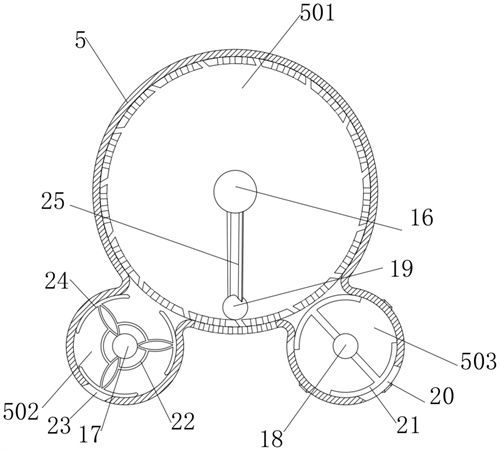
1.一種具有高剪切力結構的污泥帶式深度脫水機,包括工作架(1)、反應池(8)、濾水池(2)和傳輸濾帶(11),其特征在于,所述濾水池(2)安裝在工作架(1)的底端,所述傳輸濾帶(11)設置在濾水池(2)的上側位置上,所述工作架(1)上表面位置上安裝有三向料筒(5);所述三向料筒(5)由一號圓管、二號圓管和三號圓管組成,二號圓管位于一號圓管和三號圓管組成,所述一號圓管和三號圓管與傳輸濾帶(11)上表面之間相切,所述二號圓管下側圓周外壁高于傳輸濾帶(11)的上表面;所述三向料筒(5)中對應一號圓管、二號圓管和三號圓管的位置分別開設有進料倉(502)、高轉篩倉(501)和出料倉(503),且三向料筒(5)中對應進料倉(502)、高轉篩倉(501)和出料倉(503)的中心點位置分別轉動安裝有第二導桿(17)、第一導桿(16)和第三導桿(18),所述三向料筒(5)對應進料倉(502)、出料倉(503)的位置上分別開設有進料口(23)、出料口(20),所述第二導桿(17)上安裝有多個第二弧板(24),所述第三導桿(18)上安裝有兩個第一弧板(21),所述第一導桿(16)上安裝有內置篩筒(15);所述第一弧板(21)、第二弧板(24)和內置篩筒(15)的圓周外壁分別與出料倉(503)內壁、進料倉(502)內壁和高轉篩倉(501)內壁之間相匹配,所述第一導桿(16)對應內置篩筒(15)內部的圓周外壁上轉動安裝有多個滑套(26),所述滑套(26)上安裝有連接刀板(25),所述連接刀板(25)末端安裝有重力擺球(19),所述重力擺球(19)與內置篩筒(15)圓周內壁之間相切。
2.根據權利要求1所述的一種具有高剪切力結構的污泥帶式深度脫水機,其特征在于,所述反應池(8)安裝在工作架(1)一端位置上,所述工作架(1)中對應傳輸濾帶(11)的位置上轉動安裝有三個步進輥軸(9),三個所述步進輥軸(9)呈倒三角形設置,所述工作架(1)對應二號圓管正下方的位置上轉動安裝有中心輥軸(10),所述中心輥軸(10)與傳輸濾帶(11)內表面之間相切;所述工作架(1)另一端位置上轉動安裝有高壓輥(3),且工作架(1)上安裝有對應其中一個步進輥軸(9)的第一電機(4)。
3.根據權利要求1所述的一種具有高剪切力結構的污泥帶式深度脫水機,其特征在于,所述進料口(23)開設在一號圓管對應反應池(8)的圓周外壁上,所述出料口(20)開設在三號圓管對應高壓輥(3)的圓周外壁上。
4.根據權利要求1所述的一種具有高剪切力結構的污泥帶式深度脫水機,其特征在于,所述工作架(1)上對應三向料筒(5)的位置上分別安裝有第二電機(6)和第三電機(14),所述第二電機(6)和第三電機(14)的輸出端分別與第一導桿(16)、第三導桿(18)的一端之間相連接,所述第一導桿(16)另一端位置上安裝有主動齒輪(12),所述第二導桿(17)對應主動齒輪(12)的位置上安裝有從動齒輪(13)。
5.根據權利要求4所述的一種具有高剪切力結構的污泥帶式深度脫水機,其特征在于,所述主動齒輪(12)與從動齒輪(13)之間嚙合,且主動齒輪(12)的直徑大于從動齒輪(13)的直徑;所述第二導桿(17)的旋轉方向為順時針,所述第一導桿(16)和第三導桿(18)的旋轉方向為逆時針。
6.根據權利要求5所述的一種具有高剪切力結構的污泥帶式深度脫水機,其特征在于,所述第二導桿(17)上安裝有多個弧形簧片(22),所述弧形簧片(22)沿偏離第二導桿(17)圓心點的方向呈彎曲狀,且弧形簧片(22)位于每兩個相鄰位置的第二弧板(24)的中間位置上。
7.根據權利要求6所述的一種具有高剪切力結構的污泥帶式深度脫水機,其特征在于,多個所述第二弧板(24)沿第二導桿(17)圓心點呈環形陣列設置,兩個所述第一弧板(21)呈對向設置,所述第二弧板(24)、第一弧板(21)的弧長大于進料口(23)、出料口(20)的開口直徑。
8.根據權利要求1所述的一種具有高剪切力結構的污泥帶式深度脫水機,其特征在于,所述內置篩筒(15)圓周外壁上開設有多個刮料槽(27),多個所述刮料槽(27)沿內置篩筒(15)的圓心點呈環形陣列設置,所述三向料筒(5)對應二號圓管的下側外曲面、內置篩筒(15)的圓周外表面上均開設有出水口(28)。
9.根據權利要求1所述的一種具有高剪切力結構的污泥帶式深度脫水機,其特征在于,所述連接刀板(25)沿豎直平面呈傾斜狀,且每兩個相鄰位置的連接刀板(25)的傾斜方向呈相反狀,每個所述重力擺球(19)的重量不相等。
10.根據權利要求1所述的一種具有高剪切力結構的污泥帶式深度脫水機,其特征在于,所述工作架(1)上設置有兩個攤平結構,所述攤平結構由兩個呈對稱設置的弧形刮板(7)組成,且攤平結構分別設置在三向料筒(5)的兩端位置上。
發明內容
本發明的目的在于提供一種具有高剪切力結構的污泥帶式深度脫水機,用于解決當前帶式污泥脫水機在使用過程中,僅僅經過“簡單濾水”的污泥再經過高壓輥時,對高壓輥的使用規格有所提高,甚至會直接影響到具體輥壓擠水效果的情況。
本發明的目的可以通過以下技術方案實現:一種具有高剪切力結構的污泥帶式深度脫水機,包括工作架、反應池、濾水池和傳輸濾帶,所述濾水池安裝在工作架的底端,所述傳輸濾帶設置在濾水池的上側位置上,所述工作架上表面位置上安裝有三向料筒;
所述三向料筒由一號圓管、二號圓管和三號圓管組成,二號圓管位于一號圓管和三號圓管組成,所述一號圓管和三號圓管與傳輸濾帶上表面之間相切,所述二號圓管下側圓周外壁高于傳輸濾帶的上表面;
所述三向料筒中對應一號圓管、二號圓管和三號圓管的位置分別開設有進料倉、高轉篩倉和出料倉,且三向料筒中對應進料倉、高轉篩倉和出料倉的中心點位置分別轉動安裝有第二導桿、第一導桿和第三導桿,所述三向料筒對應進料倉、出料倉的位置上分別開設有進料口、出料口,所述第二導桿上安裝有多個第二弧板,所述第三導桿上安裝有兩個第一弧板,所述第一導桿上安裝有內置篩筒;
所述第一弧板、第二弧板和內置篩筒的圓周外壁分別與出料倉內壁、進料倉內壁和高轉篩倉內壁之間相匹配,所述第一導桿對應內置篩筒內部的圓周外壁上轉動安裝有多個滑套,所述滑套上安裝有連接刀板,所述連接刀板末端安裝有重力擺球,所述重力擺球與內置篩筒圓周內壁之間相切。
進一步設置為:所述反應池安裝在工作架一端位置上,所述工作架中對應傳輸濾帶的位置上轉動安裝有三個步進輥軸,三個所述步進輥軸呈倒三角形設置,所述工作架對應二號圓管正下方的位置上轉動安裝有中心輥軸,所述中心輥軸與傳輸濾帶內表面之間相切;
所述工作架另一端位置上轉動安裝有高壓輥,且工作架上安裝有對應其中一個步進輥軸的第一電機。
進一步設置為:所述進料口開設在一號圓管對應反應池的圓周外壁上,所述出料口開設在三號圓管對應高壓輥的圓周外壁上。
進一步設置為:所述工作架上對應三向料筒的位置上分別安裝有第二電機和第三電機,所述第二電機和第三電機的輸出端分別與第一導桿、第三導桿的一端之間相連接,所述第一導桿另一端位置上安裝有主動齒輪,所述第二導桿對應主動齒輪的位置上安裝有從動齒輪。
進一步設置為:所述主動齒輪與從動齒輪之間嚙合,且主動齒輪的直徑大于從動齒輪的直徑;
所述第二導桿的旋轉方向為順時針,所述第一導桿和第三導桿的旋轉方向為逆時針。
進一步設置為:所述第二導桿上安裝有多個弧形簧片,所述弧形簧片沿偏離第二導桿圓心點的方向呈彎曲狀,且弧形簧片位于每兩個相鄰位置的第二弧板的中間位置上。
進一步設置為:多個所述第二弧板沿第二導桿圓心點呈環形陣列設置,兩個所述第一弧板呈對向設置,所述第二弧板、第一弧板的弧長大于進料口、出料口的開口直徑。
進一步設置為:所述內置篩筒圓周外壁上開設有多個刮料槽,多個所述刮料槽沿內置篩筒的圓心點呈環形陣列設置,所述三向料筒對應二號圓管的下側外曲面、內置篩筒的圓周外表面上均開設有出水口。
進一步設置為:所述連接刀板沿豎直平面呈傾斜狀,且每兩個相鄰位置的連接刀板的傾斜方向呈相反狀,每個所述重力擺球的重量不相等。
進一步設置為:所述工作架上設置有兩個攤平結構,所述攤平結構由兩個呈對稱設置的弧形刮板組成,且攤平結構分別設置在三向料筒的兩端位置上。
本發明具備下述有益效果:
1、本發明是基于污泥深度脫水機的基本原理,主要針對其中的自然脫水這一過程,具體表現為在污泥傳輸過程增設三向料筒,三向料筒不干涉到污泥的正常傳輸過程,而在配合污泥傳輸過程對污泥進行進料、高速旋轉攪動和出料三個過程,具體是將定量污泥“轉移”到內置篩筒中,利用內置篩筒的高速旋轉過程,帶動其內部的污泥進行高速旋轉,利用離心力“甩出”污泥中存在的水分,并沿著出水口和濾帶將“甩出”的水分排出,在此基礎上,還同步利用到連接刀板對污泥的攪動過程,其目的是:加速污泥的攪動過程,用于“打破”污泥之間的附著性,加速脫水性能,完成“加速脫水”后的污泥再次沿著出料口“轉移”到濾帶上,并利用高壓輥進行擠壓出水,從而促進整體濾水效果。
2、在利用內置篩筒對污泥進行“加速脫水”這一過程中,主要依賴離心力對污泥的甩脫效果,而在甩脫過程中,根據內置篩筒中留存的污泥量配合不同重量的重力擺球,帶動其中的連接刀板進行不同程度的擺動過程,以此方式對不同重量的污泥進行配合攪動,而不是傳統方式中的定向攪動過程,其目的是:進一步促進污泥“被打破”后的脫水性能。
(發明人:戚正軍;俞鑲)






