公布日:2024.06.21
申請日:2024.03.29
分類號:C02F3/02(2023.01)I;C02F1/00(2023.01)I;B01D21/24(2006.01)I;B01D33/46(2006.01)I
摘要
本發明屬于污水處理技術領域,具體的說是一種改良型生物膜法MABR污水處理裝置,包括MABR生物膜、沉淀池、排出口、清潔組件以及動力組件,MABR生物膜設置在沉淀池內,排出口開設在沉淀池的底端,清潔組件包括移動板和過濾桶,移動板滑動安裝在沉淀池的內部,移動板的外壁與沉淀池的內壁貼合,過濾桶上開設有通口,過濾桶設置在通口上,通過移動板帶動過濾桶滑動,可將沉淀物推至沉淀池的一側,清潔組件的滑動通過動力組件控制,移動板遠離過濾桶的一端滑動安裝有第一擋板與第二擋板,通過控制第一擋板與第二擋板相對滑動,通過以上結構的設置可以有效的提高污水處理的效率。

權利要求書
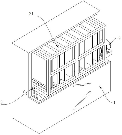
1.一種改良型生物膜法MABR污水處理裝置,其特征在于:包括MABR生物膜(21)、沉淀池(1)、排出口(10)、清潔組件以及動力組件,所述MABR生物膜(21)設置在沉淀池(1)內,所述排出口(10)開設在沉淀池(1)的底端;所述清潔組件包括移動板(7)和過濾桶(9),所述移動板(7)滑動安裝在沉淀池(1)的內部,所述移動板(7)的外壁與沉淀池(1)的內壁貼合,所述過濾桶(9)上開設有通口,所述過濾桶(9)設置在通口上,通過移動板(7)帶動過濾桶(9)滑動,可將沉淀物推至沉淀池(1)的一側,所述清潔組件的滑動通過動力組件控制;所述移動板(7)遠離過濾桶(9)的一端滑動安裝有第一擋板(8)與第二擋板(11),通過控制第一擋板(8)與第二擋板(11)相對滑動,可對移動板(7)上的通口封堵,此時移動板(7)可將沉淀池(1)內部分隔。
2.根據權利要求1所述的一種改良型生物膜法MABR污水處理裝置,其特征在于:所述動力組件包括驅動電機(2)以及螺紋桿(3),所述驅動電機(2)固定安裝在沉淀池(1)的側壁,所述螺紋桿(3)通過安裝座安裝在沉淀池(1)的頂端,所述移動板(7)通過螺紋與螺紋桿(3)連接。
3.根據權利要求2所述的一種改良型生物膜法MABR污水處理裝置,其特征在于:所述移動板(7)上開設有滑動槽(15),所述第一擋板(8)與第二擋板(11)的一端均固定安裝有滑塊(17)并延伸至滑動槽(15)的內部。
4.根據權利要求3所述的一種改良型生物膜法MABR污水處理裝置,其特征在于:所述第一擋板(8)上的滑塊(17)頂端固定安裝有第一拉伸彈簧(16),所述第二擋板(11)上的滑塊(17)底端固定連接有第二拉伸彈簧;當第一擋板(8)與第二擋板(11)貼合時,此時第一拉伸彈簧(16)與第二拉伸彈簧均處于拉伸狀態。
5.根據權利要求4所述的一種改良型生物膜法MABR污水處理裝置,其特征在于:所述第一擋板(8)與第二擋板(11)的兩側均滑動安裝有導向塊(14),所述導向塊(14)遠離沉淀池(1)的一端固定連接有第三拉伸彈簧(20);當導向塊(14)位于第一擋板(8)或者第二擋板(11)的內部時,此時第三拉伸彈簧(20)處于壓縮狀態;所述沉淀池(1)的內壁開設有與導向塊(14)配合的導向槽(5),導向槽(5)的數量與導向塊(14)一致,通過第一擋板(8)與第二擋板(11)同時帶動導向塊(14)在導向槽(5)的內部朝向排出口(10)方向滑動,便可使第一擋板(8)與第二擋板(11)相對滑動。
6.根據權利要求5所述的一種改良型生物膜法MABR污水處理裝置,其特征在于:所述沉淀池(1)的外壁固定連接有磁條(6),所述磁條(6)設置的位置與導向槽(5)對應,所述導向塊(14)可被磁力吸引。
7.根據權利要求6所述的一種改良型生物膜法MABR污水處理裝置,其特征在于:所述沉淀池(1)的內部固定安裝有導流塊(4)。
8.根據權利要求7所述的一種改良型生物膜法MABR污水處理裝置,其特征在于:所述移動板(7)的通口內設置有安裝環(13),所述過濾桶(9)的一端延伸至安裝環(13)的內部并轉動連接,所述安裝環(13)的內部固定安裝有水輪葉(12),所述水輪葉(12)上固定連接有連接桿(18),所述連接桿(18)的另一端與過濾桶(9)的內部固定連接;通過控制移動板(7)在沉淀池(1)內滑動,水流通過安裝環(13)可以驅動水輪葉(12)轉動,并在連接桿(18)的作用下帶動過濾桶(9)轉動。
9.根據權利要求8所述的一種改良型生物膜法MABR污水處理裝置,其特征在于:所述移動板(7)遠離第一擋板(8)的一端固定連接有刮條(19),所述刮條(19)的一端與過濾桶(9)的外壁貼合。
發明內容
為了彌補現有技術的不足,解決背景技術中所提出的至少一個技術問題。
本發明解決其技術問題所采用的技術方案是:本發明所述的一種改良型生物膜法MABR污水處理裝置,包括MABR生物膜、沉淀池、排出口、清潔組件以及動力組件,MABR生物膜設置在沉淀池內,排出口開設在沉淀池的底端。
清潔組件包括移動板和過濾桶,移動板滑動安裝在沉淀池的內部,移動板的外壁與沉淀池的內壁貼合,過濾桶上開設有通口,過濾桶設置在通口上,通過移動板帶動過濾桶滑動,可將沉淀物推至沉淀池的一側,清潔組件的滑動通過動力組件控制;過濾桶設置在移動板靠近排出口的位置,通過控制移動板帶動過濾桶朝向排出口移動時,此時位于移動板右側污水便可穿透過濾桶上的孔洞,流淌至移動板的左側,此時污水中的沉淀物便會被過濾桶上的孔洞過濾在移動板的右側,隨著移動板的朝向右側不斷移動,便可將沉淀物進行歸納收集,最后統一通過排出口排出。
移動板遠離過濾桶的一端滑動安裝有第一擋板與第二擋板,通過控制第一擋板與第二擋板相對滑動,可對移動板上的通口封堵,此時移動板可將沉淀池內部分隔。
當移動板將沉淀物推動至排出口時,再控制第一擋板與第二擋板相對滑動,將過濾桶上的通口封堵,此時打開排出口,便可將位于移動板右側的污水與沉淀物排出,并且通過第一擋板與第二擋板的配合,可將避免移動板左側的污水漏出,進一步的提高沉淀物排出的效果。
動力組件包括驅動電機以及螺紋桿,驅動電機固定安裝在沉淀池的側壁,螺紋桿通過安裝座安裝在沉淀池的頂端,移動板通過螺紋與螺紋桿連接。
通過控制驅動電機的轉動帶動螺紋桿轉動,便可控制移動板在沉淀池內的滑動。
移動板上開設有滑動槽,第一擋板與第二擋板的一端均固定安裝有滑塊并延伸至滑動槽的內部。
通過滑塊與滑動槽的配合可對第一擋板與第二擋板的滑動軌跡進行限定,避免第一擋板與第二擋板滑動時出現偏移。
第一擋板上的滑塊頂端固定安裝有第一拉伸彈簧,第二擋板上的滑塊底端固定連接有第二拉伸彈簧;當第一擋板與第二擋板貼合時,此時第一拉伸彈簧與第二拉伸彈簧均處于拉伸狀態。
通過設置的第一拉伸彈簧可使第一擋板始終位于移動板的最頂端,通過設置的第二拉伸彈簧可使第二擋板始終位于移動板的最低端,使第一擋板與第二擋板始終保持分離的趨勢。
第一擋板與第二擋板的兩側均滑動安裝有導向塊,導向塊遠離沉淀池的一端固定連接有第三拉伸彈簧;當導向塊位于第一擋板或者第二擋板的內部時,此時第三拉伸彈簧處于壓縮狀態;沉淀池的內壁開設有與導向塊配合的導向槽,導向槽的數量與導向塊一致,通過第一擋板與第二擋板同時帶動導向塊在導向槽的內部朝向排出口方向滑動,便可使第一擋板與第二擋板相對滑動。
第一擋板的兩側共設置有兩個導向塊,第二擋板的兩側共設置有兩個導向塊,與第一擋板適配的兩個導向槽傾斜設置,最低端為朝向排出口,與第二擋板上設置的導向塊配合的導向槽同樣為傾斜設置,最高端為朝向排出口的位置。
當第一擋板與第二擋板上設置的導向塊在對應的導向槽內朝向右側滑動時,此時第一擋板與第二擋板便可在移動板的外壁相對滑動,反之,向左滑動便會相互遠離。
第三拉伸彈簧始終控制導向塊位于第一擋板或者第二擋板的內部,當導向塊位于第一擋板或者第二擋板的內部時,此時通過第一拉伸彈簧便可將第一擋板置于頂部,第二拉伸彈簧便可將第二擋板置于底部。
沉淀池的外壁固定連接有磁條,磁條設置的位置與導向槽對應,導向塊可被磁力吸引。
磁條的長度比導向槽的長度短,當第一擋板與第二擋板移動至相對應的導向槽時,此時便可通過磁條對導向塊的吸引,使導向塊延伸至導向槽的內部,當移動板向左滑動時,此時第一擋板與第二擋板會帶動導向塊在導向槽內向左滑動,當滑動至盡頭時,這時較短的磁條便不可吸附導向塊,導向塊也會在第三拉伸彈簧的作用下重新收縮至第一擋板與第二擋板的內部,不會影響移動板向左的正常滑動。
沉淀池的內部固定安裝有導流塊。
通過設置的導流塊可便于將污水與沉淀物從排出口排出。
移動板的通口內設置有安裝環,過濾桶的一端延伸至安裝環的內部并轉動連接,安裝環的內部固定安裝有水輪葉,水輪葉上固定連接有連接桿,連接桿的另一端與過濾桶的內部固定連接;通過控制移動板在沉淀池內滑動,水流通過安裝環可以驅動水輪葉轉動,并在連接桿的作用下帶動過濾桶轉動。
當移動板右移動時,水流通過過濾桶沖擊在水輪葉上,使其發生轉動,同時帶動與連接桿連接的過濾桶轉動,移動板向左移動時同理,通過轉動的過濾桶可將附著在外壁的沉淀物甩落,減少過濾桶堵塞的風險。
移動板遠離第一擋板的一端固定連接有刮條,刮條的一端與過濾桶的外壁貼合。
當過濾桶轉動時,此時桶外壁會與刮條接觸,通過刮條的設置便可將附著在桶外壁的沉淀物刮落。
本發明的有益效果如下:1.本發明所述的一種改良型生物膜法MABR污水處理裝置,通過驅動電機控制移動板移動,第一擋板與第二擋板上設置的導向塊通過磁條的作用下進入導向槽的內部并滑動,隨著移動板的朝向右側不斷移動,第一擋板與第二擋板相對滑動,將過濾桶上的通口封堵,最后通過打開排出口排出,可以有效的提高污水與沉淀物排出的效果。
2.本發明所述的一種改良型生物膜法MABR污水處理裝置,通過移動板的移動時,使水流沖擊水輪葉上,使其發生轉動,同時帶動與連接桿連接的過濾桶轉動,通過刮條的設置便可將附著在桶外壁的沉淀物刮落,實現對過濾桶的清潔,進一步提高過濾桶的使用壽命的同時,提高了過濾效果。
(發明人:顧理軍;李保安)






