公布日:2024.06.21
申請日:2024.04.02
分類號:B01D36/04(2006.01)I;B01D33/21(2006.01)I;B01D33/50(2006.01)I
摘要
本發明公開了一種集成型N-甲基苯胺污水提升裝置,涉及污水提升設備技術領域,包括密封箱體,所述密封箱體的外壁一側固定安裝有密封套筒,所述密封套筒的內表壁活動插設有聯動桿,所述聯動桿的外表壁固定套設有鏤空架,且鏤空架位于密封箱體的內部,所述鏤空架的內壁兩側之間固定插設有一組加強橫板,每個所述加強橫板的內部均開設有內開凹槽,每個所述內開凹槽的內部均固定安裝有矩形框架,通過拓展設備內部水流通道,簡化管道流通關系,利用機械傳動原理,可引動提升管道處污水的流動狀態,增加過濾組件的數量,避免因做工時長的增加,導致設備內部失去過濾效果,處理提升管道處進水環境,避免其內發生堵塞,提高設備可持續作用的能力。

權利要求書
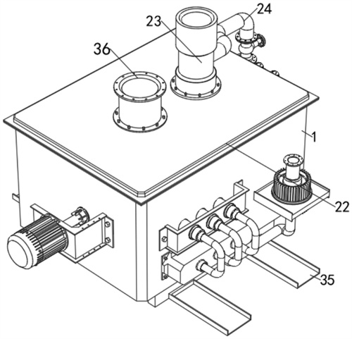
1.一種集成型N-甲基苯胺污水提升裝置,其特征在于:包括密封箱體(1),所述密封箱體(1)的外壁一側固定安裝有密封套筒(2),所述密封套筒(2)的內表壁活動插設有聯動桿(3),所述聯動桿(3)的外表壁固定套設有鏤空架(4),且鏤空架(4)位于密封箱體(1)的內部,所述鏤空架(4)的內壁兩側之間固定插設有一組加強橫板(5),每個所述加強橫板(5)的內部均開設有內開凹槽(6),每個所述內開凹槽(6)的內部均固定安裝有矩形框架(7),每個所述矩形框架(7)的內部均設有過濾板(8),所述鏤空架(4)的內部活動設有初階管道(9),所述初階管道(9)的外表壁開設有多個進水孔洞(10),且初階管道(9)懸空在鏤空架(4)的內部。
2.根據權利要求1所述的集成型N-甲基苯胺污水提升裝置,其特征在于:所述密封箱體(1)的外壁一側焊接有L型金屬架(11),所述L型金屬架(11)的外表壁固定安裝有伺服電機(12),所述伺服電機(12)的軸端連接有傳動桿(15),所述傳動桿(15)的外壁一端固定插設在聯動桿(3)的內部。
3.根據權利要求2所述的集成型N-甲基苯胺污水提升裝置,其特征在于:所述L型金屬架(11)的內部開設有圓孔(13),所述圓孔(13)的內表壁固定安裝有限位套筒(14),所述傳動桿(15)活動置于限位套筒(14)的內部。
4.根據權利要求1所述的集成型N-甲基苯胺污水提升裝置,其特征在于:所述密封箱體(1)的外壁一側固定安裝有第一抽水泵(16),所述第一抽水泵(16)的輸入端固定連通有次階管道(17),所述次階管道(17)位于密封箱體(1)的內部,且次階管道(17)的進水端和初階管道(9)的出水端相連通。
5.根據權利要求4所述的集成型N-甲基苯胺污水提升裝置,其特征在于:所述第一抽水泵(16)的輸出端固定連通有第一輸送管道(18),所述第一輸送管道(18)出水端通過第一法蘭固定連通有出水止回閥(19),所述出水止回閥(19)的出水端通過第二法蘭固定連通有第二輸送管道(20)。
6.根據權利要求5所述的集成型N-甲基苯胺污水提升裝置,其特征在于:所述第二輸送管道(20)的出水端通過第三法蘭固定連通有出水閘閥(21),所述密封箱體(1)的頂部設有封蓋(22),所述封蓋(22)的頂部固定安裝有垂直釋放接頭(23),所述出水閘閥(21)的出水端通過第四法蘭固定連通有第三輸送管道(24),所述第三輸送管道(24)的出水端貫穿垂直釋放接頭(23)的外表壁,并與垂直釋放接頭(23)的內部相連通。
7.根據權利要求1所述的集成型N-甲基苯胺污水提升裝置,其特征在于:所述密封箱體(1)的正表面焊接有嫁接板(25),所述嫁接板(25)的內部固定插設有第二抽水泵(26),所述密封箱體(1)的正表面焊接有外接金屬架(27),所述外接金屬架(27)的內部固定安裝有一組定位套筒(28),一組所述定位套筒(28)的內表壁均固定插設有高壓噴槍(29),一組所述高壓噴槍(29)的噴頭處均位于密封箱體(1)的內部。
8.根據權利要求7所述的集成型N-甲基苯胺污水提升裝置,其特征在于:所述密封箱體(1)的正表面固定安裝有交匯箱(30),所述交匯箱(30)的外表壁固定連通有一組分流管道(31),且一組分流管道(31)的數量和高壓噴槍(29)相等,并且每個分流管道(31)的出水端分別與對應一個高壓噴槍(29)的進水端相連通,所述第二抽水泵(26)的輸出端固定連通有銜接管道(32),所述銜接管道(32)的出水端貫穿交匯箱(30)的底部,并與交匯箱(30)的內部相連通。
9.根據權利要求1所述的集成型N-甲基苯胺污水提升裝置,其特征在于:所述封蓋(22)的頂部固定連通有污水導入接頭(36),所述密封箱體(1)的底部固定連通有排污接頭(33),所述排污接頭(33)的內部設有電磁閥門(34),所述密封箱體(1)的頂部焊接有兩個抬高支架(35)。
(發明人:張震宇;魏欽;吳宜忠)
發明內容
本發明的目的在于提供一種集成型N-甲基苯胺污水提升裝置,通過拓展設備內部水流通道,簡化管道流通關系,增加過濾組件的數量,充分處理提升管道處進水環境,降低管道堵塞概率,以解決上述背景技術提出的問題。
為實現上述目的,本發明提供如下技術方案:一種集成型N-甲基苯胺污水提升裝置,包括密封箱體,所述密封箱體的外壁一側固定安裝有密封套筒,所述密封套筒的內表壁活動插設有聯動桿,所述聯動桿的外表壁固定套設有鏤空架,且鏤空架位于密封箱體的內部,所述鏤空架的內壁兩側之間固定插設有一組加強橫板,每個所述加強橫板的內部均開設有內開凹槽,每個所述內開凹槽的內部均固定安裝有矩形框架,每個所述矩形框架的內部均設有過濾板,所述鏤空架的內部活動設有初階管道,所述初階管道的外表壁開設有多個進水孔洞,且初階管道懸空在鏤空架的內部。
優選的,所述密封箱體的外壁一側焊接有L型金屬架,所述L型金屬架的外表壁固定安裝有伺服電機,所述伺服電機的軸端連接有傳動桿,所述傳動桿的外壁一端固定插設在聯動桿的內部。
優選的,所述L型金屬架的內部開設有圓孔,所述圓孔的內表壁固定安裝有限位套筒,所述傳動桿活動置于限位套筒的內部。
優選的,所述密封箱體的外壁一側固定安裝有第一抽水泵,所述第一抽水泵的輸入端固定連通有次階管道,所述次階管道位于密封箱體的內部,且次階管道的進水端和初階管道的出水端相連通。
優選的,所述第一抽水泵的輸出端固定連通有第一輸送管道,所述第一輸送管道出水端通過第一法蘭固定連通有出水止回閥,所述出水止回閥的出水端通過第二法蘭固定連通有第二輸送管道。
優選的,所述第二輸送管道的出水端通過第三法蘭固定連通有出水閘閥,所述密封箱體的頂部設有封蓋,所述封蓋的頂部固定安裝有垂直釋放接頭,所述出水閘閥的出水端通過第四法蘭固定連通有第三輸送管道,所述第三輸送管道的出水端貫穿垂直釋放接頭的外表壁,并與垂直釋放接頭的內部相連通。
優選的,所述密封箱體的正表面焊接有嫁接板,所述嫁接板的內部固定插設有第二抽水泵,所述密封箱體的正表面焊接有外接金屬架,所述外接金屬架的內部固定安裝有一組定位套筒,一組所述定位套筒的內表壁均固定插設有高壓噴槍,一組所述高壓噴槍的噴頭處均位于密封箱體的內部。
優選的,所述密封箱體的正表面固定安裝有交匯箱,所述交匯箱的外表壁固定連通有一組分流管道,且一組分流管道的數量和高壓噴槍相等,并且每個分流管道的出水端分別與對應一個高壓噴槍的進水端相連通,所述第二抽水泵的輸出端固定連通有銜接管道,所述銜接管道的出水端貫穿交匯箱的底部,并與交匯箱的內部相連通。
優選的,所述封蓋的頂部固定連通有污水導入接頭,所述密封箱體的底部固定連通有排污接頭,所述排污接頭的內部設有電磁閥門,所述密封箱體的頂部焊接有兩個抬高支架。
與現有技術相比,本發明的有益效果是:1、本發明中當過濾板均速轉動后,此時密封箱體中污水會被持續攪動,使得滯留在污水中的固體雜質難以發生沉淀,而鏤空架附近的固體雜質則會持續吸附到每個過濾板中,后續開啟第一抽水泵,持續將次階管道和初階管道中的空氣抽離出,所產生的吸附力則在每個進水孔洞中形成,由于鏤空架周邊的污水可充分被勻速轉動的過濾板所過濾,通過拓展設備內部水流通道,簡化管道流通關系,利用機械傳動原理,可引動提升管道處污水的流動狀態,增加過濾組件的數量,避免因做工時長的增加,導致設備內部失去過濾效果,處理提升管道處進水環境,避免其內發生堵塞,提高設備可持續作用的能力。
2、本發明中當鏤空架附近的固體雜質持續吸附到每個過濾板中后,由于每個過濾板均處于勻速轉動,進而所產生的離心力會將吸附到過濾板中固體雜質進行鎖定,避免產生二次擴散,從而減少微小雜質隨意附著各組件內部的量,減輕后期設備維修和清理的難度。






