公布日:2023.12.08
申請日:2023.10.24
分類號:A01K63/00(2017.01)I;C02F9/00(2023.01)I;C02F11/13(2019.01)I;B03C3/017(2006.01)I;A01K63/04(2006.01)I;C02F103/20(2006.01)N;C02F1/00(2023.01)N;
C02F1/28(2023.01)N;C02F1/50(2023.01)N;C02F3/00(2023.01)N
摘要
本發明公開了一種水產養殖自動凈化裝置,屬于水產養殖技術領域,在養殖池本體、隔離板組件、烘干機構和污水凈化組件相結合的作用下,不僅能夠對污水和污泥實現分離的效果,而且還能夠分別對污泥和污水進行相應的凈化處理,且在抽水泵的作用下,使得凈化之后的污水能夠重新排放至養殖室內,使之該裝置在達到環保效果的同時,還能夠使得污水達到回收再利用的效果,大大的節約了水資源;通過在養殖室和烘干室之間設置有隔離板組件,使得在隔離板組件的作用下,在當污水完全被排除之后,可以通過隔離板組件實現污泥自動掉落至烘干室內的效果,提高了該裝置的自動化程度。

權利要求書
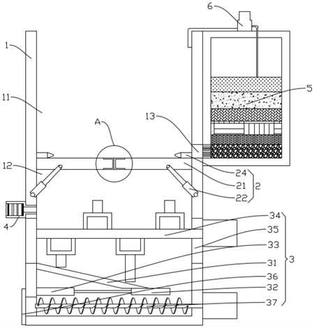
1.一種水產養殖自動凈化裝置,其特征在于,包括:養殖池本體(1),所述養殖池本體(1)自上而下依次開設有養殖室(11)和烘干室(12),且所述養殖室(11)與所述烘干室(12)之間通過隔離板組件(2)相連通;所述烘干室(12)內設置有烘干機構(3),用于對所述養殖室(11)中的污泥進行烘干處理;所述烘干室(12)的一側還設置有空氣凈化組件(4),用于所述烘干機構(3)在對污泥進行烘干處理當中所產生的氣體進行凈化處理;所述隔離板組件(2)的一側開設有排水孔(13),所述排水孔(13)處設置有污水凈化組件(5),用于對所述養殖室(11)內的污水進行凈化處理;所述污水凈化組件(5)上設置有抽水泵(6),所述抽水泵(6)的輸入端與所述污水凈化組件(5)連接,所述抽水泵(6)的輸出端延伸至所述養殖室(11)內。
2.根據權利要求1所述的一種水產養殖自動凈化裝置,其特征在于:所述隔離板組件(2)包括:隔離板本體(21),所述隔離板本體(21)轉動設于所述養殖室(11)內腔底部的兩側;第一伸縮氣缸(22),所述第一伸縮氣缸(22)傾斜設于所述烘干室(12)內腔頂部的兩側,且所述第一伸縮氣缸(22)的輸出端與所述隔離板本體(21)鉸接。
3.根據權利要求2所述的一種水產養殖自動凈化裝置,其特征在于:兩個所述隔離板本體(21)相接觸的一端分別固定設置有橡膠墊(23),所述隔離板本體(21)上部的一側還固定設置有噴淋嘴(24)。
4.根據權利要求1所述的一種水產養殖自動凈化裝置,其特征在于:所述烘干機構(3)包括:傾斜板(31),所述傾斜板(31)固定設于所述烘干室(12)內;滑板(32),所述滑板(32)滑動設于所述傾斜板(31)的下部;第二伸縮氣缸(33),所述第二伸縮氣缸(33)設于所述傾斜板(31)的下部,且所述第二伸縮氣缸(33)的輸出端與所述滑板(32)固定連接,用于驅動所述滑板(32)滑動于所述傾斜板(31)的下部;攪拌組件(34),所述攪拌組件(34)設于所述烘干室(12)內,且所述攪拌組件(34)位于所述傾斜板(31)的上方;加熱板(35),所述加熱板(35)設于所述烘干室(12)的內部;出料管(36),所述出料管(36)固定設于所述烘干室(12)外部的一側;出料組件(37),所述出料組件(37)設于所述滑板(32)的下方,并延伸至所述出料管(36)內。
5.根據權利要求4所述的一種水產養殖自動凈化裝置,其特征在于:所述攪拌組件(34)包括:第一驅動電機(341),所述第一驅動電機(341)設于所述烘干室(12)的外部,且所述第一驅動電機(341)的輸出端穿過所述養殖池本體(1),并延伸至所述烘干室(12)內;轉動軸(342),所述轉動軸(342)轉動設于所述烘干室(12)內,且所述轉動軸(342)的一端與所述第一驅動電機(341)的輸出端固定連接,所述轉動軸(342)上沿其長度方向固定設置有多個攪拌桿(343),所述攪拌桿(343)上固定設置有攪拌片(344)。6.根據權利要求5所述的一種水產養殖自動凈化裝置,其特征在于:所述攪拌片(344)包括:第一片體(3441),所述第一片體(3441)固定設于所述攪拌桿(343)上,且所述第一片體(3441)呈中空結構;第二片體(3442),所述第二片體(3442)滑動套接于所述第一片體(3441)上;彈簧(3443),所述彈簧(3443)的一端與所述第一片體(3441)的內側壁固定連接,另一端與所述第二片體(3442)固定連接。
7.根據權利要求4所述的一種水產養殖自動凈化裝置,其特征在于:所述出料組件(37)包括:第二驅動電機(371),所述第二驅動電機(371)設于所述養殖池本體(1)的外部,且所述第二驅動電機(371)的輸出端穿過所述養殖池本體(1),并延伸至所述烘干室(12)的內腔中;螺旋槳(372),所述螺旋槳(372)轉動設于所述烘干室(12)的內腔中,所述螺旋槳(372)位于所述滑板(32)和所述第二伸縮氣缸(33)的下方,且所述螺旋槳(372)的一端與所述第二驅動電機(371)的輸出端固定連接,另一端延伸至所述出料管(36)內。
8.根據權利要求1所述的一種水產養殖自動凈化裝置,其特征在于:所述空氣凈化組件(4)包括:凈化筒(41),所述凈化筒(41)的內腔中由內向外依次設置有第一過濾網(42)、第一電極片(43)、第二電極片(44)和第二過濾網(45)。
9.根據權利要求1所述的一種水產養殖自動凈化裝置,其特征在于:所述污水凈化組件(5)包括:凈化箱(51),所述凈化箱(51)底部的一側開設有與所述排水孔(13)相連通的進水孔(52),且所述進水孔(52)處設置有第三過濾網(53);所述凈化箱(51)的內腔中自下而上依次設置有第一過濾層(54)、第二過濾層(55)、第三過濾層(56)、第四過濾層(57)、第五過濾層(58)和第六過濾層(59);所述抽水泵(6)的輸入端延伸至所述凈化箱(51)的內腔中。
10.根據權利要求9所述的一種水產養殖自動凈化裝置,其特征在于:所述第一過濾層(54)為石英砂過濾層,所述第二過濾層(55)和第三過濾層(56)均為活性炭層,所述第四過濾層(57)為微生物填料層,所述第五過濾層(58)為多功能復合濾料過濾層,所述第六過濾層(59)為硅靈晶抗菌抑垢層。
發明內容
本發明的目的在于提供一種水產養殖自動凈化裝置,能夠對相應的污泥和污水達到凈化處理的同時,還能夠對這些污泥和污水進行回收利用,達到了節約資源,以及避免了出現對環境造成污染的情況。
為解決上述技術問題,本發明采用的一個技術方案:
一種水產養殖自動凈化裝置包括,
養殖池本體,所述養殖池本體自上而下依次開設有養殖室和烘干室,且所述養殖室與所述烘干室之間通過隔離板組件相連通;
所述烘干室內設置有烘干機構,用于對所述養殖室中的污泥進行烘干處理;
所述烘干室的一側還設置有空氣凈化組件,用于所述烘干機構在對污泥進行烘干處理當中所產生的氣體進行凈化處理;
所述隔離板組件的一側開設有排水孔,所述排水孔處設置有污水凈化組件,用于對所述養殖室內的污水進行凈化處理;
所述污水凈化組件上設置有抽水泵,所述抽水泵的輸入端與所述污水凈化組件連接,所述抽水泵的輸出端延伸至所述養殖室內。
根據一些實施例,所述隔離板組件包括:
隔離板本體,所述隔離板本體轉動設于所述養殖室內腔底部的兩側;
第一伸縮氣缸,所述第一伸縮氣缸傾斜設于所述烘干室內腔頂部的兩側,且所述第一伸縮氣缸的輸出端與所述隔離板本體鉸接。
根據一些實施例,兩個所述隔離板本體相接觸的一端分別固定設置有橡膠墊,所述隔離板本體上部的一側還固定設置有噴淋嘴。
根據一些實施例,所述烘干機構包括:
傾斜板,所述傾斜板固定設于所述烘干室內;
滑板,所述滑板滑動設于所述傾斜板的下部;
第二伸縮氣缸,所述第二伸縮氣缸設于所述傾斜板的下部,且所述第二伸縮氣缸的輸出端與所述滑板固定連接,用于驅動所述滑板滑動于所述傾斜板的下部;
攪拌組件,所述攪拌組件設于所述烘干室內,且所述攪拌組件位于所述傾斜板的上方;
加熱板,所述加熱板設于所述烘干室的內部;
出料管,所述出料管固定設于所述烘干室外部的一側;
出料組件,所述出料組件設于所述滑板的下方,并延伸至所述出料管內。
根據一些實施例,所述攪拌組件包括:
第一驅動電機,所述第一驅動電機設于所述烘干室的外部,且所述第一驅動電機的輸出端穿過所述養殖池本體,并延伸至所述烘干室內;
轉動軸,所述轉動軸轉動設于所述烘干室內,且所述轉動軸的一端與所述第一驅動電機的輸出端固定連接,所述轉動軸上沿其長度方向固定設置有多個攪拌桿,所述攪拌桿上固定設置有攪拌片。
根據一些實施例,所述攪拌片包括:
第一片體,所述第一片體固定設于所述攪拌桿上,且所述第一片體呈中空結構;
第二片體,所述第二片體滑動套接于所述第一片體上;
彈簧,所述彈簧的一端與所述第一片體的內側壁固定連接,另一端與所述第二片體固定連接。
根據一些實施例,所述出料組件包括:
第二驅動電機,所述第二驅動電機設于所述養殖池本體的外部,且所述第二驅動電機的輸出端穿過所述養殖池本體,并延伸至所述烘干室的內腔中;
螺旋槳,所述螺旋槳轉動設于所述烘干室的內腔中,所述螺旋槳位于所述滑板和所述第二伸縮氣缸的下方,且所述螺旋槳的一端與所述第二驅動電機的輸出端固定連接,另一端延伸至所述出料管內。
根據一些實施例,所述空氣凈化組件包括:
凈化筒,所述凈化筒的內腔中由內向外依次設置有第一過濾網、第一電極片、第二電極片和第二過濾網。
根據一些實施例,所述污水凈化組件包括:
凈化箱,所述凈化箱底部的一側開設有與所述排水孔相連通的進水孔,且所述進水孔處設置有第三過濾網;
所述凈化箱的內腔中自下而上依次設置有第一過濾層、第二過濾層、第三過濾層、第四過濾層、第五過濾層和第六過濾層;
所述抽水泵的輸入端延伸至所述凈化箱的內腔中。
根據一些實施例,所述第一過濾層為石英砂過濾層,所述第二過濾層和第三過濾層均為活性炭層,所述第四過濾層為微生物填料層,所述第五過濾層為多功能復合濾料過濾層,所述第六過濾層為硅靈晶抗菌抑垢層。
有益效果:
1、通過在養殖池本體、隔離板組件、烘干機構和污水凈化組件相結合的作用下,不僅能夠對污水和污泥實現分離的效果,而且還能夠分別對污泥和污水進行相應的凈化處理,且在抽水泵的作用下,使得凈化之后的污水能夠重新排放至養殖室內,使之該裝置在達到環保效果的同時,還能夠使得污水達到回收再利用的效果,大大的節約了水資源。
2、通過在養殖室和烘干室之間設置有隔離板組件,使得在隔離板組件的作用下,在當污水完全被排除之后,可以通過隔離板組件實現污泥自動掉落至烘干室內的效果,提高了該裝置的自動化程度。
3、通過在養殖室、排水孔、污水凈化組件和抽水泵相結合的作用下,以形成一個污水回收系統,實現了對污水的回收利用,節約了水資源。
(發明人:程相)






