公布日:2023.12.08
申請日:2023.10.26
分類號:C02F11/125(2019.01)I
摘要
本發明屬于污泥處理技術領域,具體涉及一種污泥回噴裝置,包括支架結構(1)和與所述支架結構(1)固定連接的污泥輸送筒(2),所述污泥輸送筒(2)連接有污泥進管(3)和污泥輸送管(4),還包括輸送機構(5),所述輸送機構(5)包括驅動裝置(51)和與驅動裝置(51)連接的驅動結構(52),所述驅動結構(52)用于將污泥向所述污泥輸送管(4)中輸送,還包括污泥回噴機構(6),用于將所述污泥輸送管(4)中的污泥輸送至所述污泥進管(3),還包括高壓進水機構(7),用于向所述污泥輸送筒(2)中高壓進水。本發明的污泥回噴裝置,可以對含水量低于80%的污泥正常輸送,可以針對含水量更低的污泥也可以進行輸送,輸送穩定性好。

權利要求書
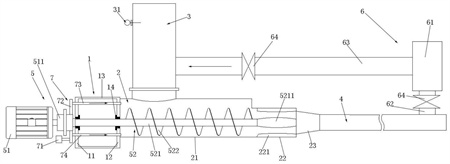
1.一種污泥回噴裝置,其特征在于,包括支架結構(1)和與所述支架結構(1)固定連接的污泥輸送筒(2),所述污泥輸送筒(2)連接有污泥進管(3)和污泥輸送管(4),還包括輸送機構(5),所述輸送機構(5)包括驅動裝置(51)和與所述驅動裝置(51)連接的驅動結構(52),所述驅動結構(52)用于將污泥向所述污泥輸送管(4)中輸送,還包括污泥回噴機構(6),用于將所述污泥輸送管(4)中的污泥輸送至所述污泥進管(3),還包括高壓進水機構(7),用于向所述污泥輸送筒(2)中高壓進水;所述驅動裝置(51)為變頻電機,所述驅動結構(52)包括與所述驅動裝置(51)相連接的驅動軸(521)以及與所述驅動軸(521)固定連接的螺旋輸送葉片(522);污泥輸送筒(2)包括順序連接的攪拌輸送段(21)、加壓輸送段(22)和出口段(23);所述污泥進管(3)與所述攪拌輸送段(21)相連通,并且靠近所述支架結構(1)設置;所述螺旋輸送葉片(522)位于所述攪拌輸送段(21);所述污泥進管(3)上設有含水量檢測儀(31);所述污泥回噴機構(6)包括回噴泵(61)分別與所述回噴泵(61)相連接的回噴進管(62)和回噴出管(63);所述回噴進管(62)與所述污泥輸送管(4)相連通,所述回噴出管(63)與所述污泥進管(3)相連通;所述回噴進管(62)和所述回噴出管(63)上均設有單向閥(64)。
2.根據權利要求1所述的污泥回噴裝置,其特征在于,所述加壓輸送段(22)內徑小于所述攪拌輸送段(21)的內徑,并且所述加壓輸送段(22)內壁上設有弧形凸緣(221),沿遠離所述攪拌輸送段(21)的方向,所述加壓輸送段(22)的內徑先逐漸減小后逐漸增大。
3.根據權利要求2所述的污泥回噴裝置,其特征在于,所述驅動軸(521)末端固定連接有增壓輸送輥(5211);沿遠離所述驅動軸(521)的方向,所述輸送輥(5211)的外徑先逐漸增大后逐漸減小。
4.根據權利要求3所述的污泥回噴裝置,其特征在于,所述支架結構(1)包括第一支板(11)和第二支板(12),第一支板(11)和第二支板(12)之間通過連接桿(13)固定連接;所述第一支板(11)和所述第二支板(12)中部設有軸承(14)與所述驅動軸(521)轉動配合。
5.根據權利要求4所述的污泥回噴裝置,其特征在于,所述高壓進水機構(7)包括:高壓水泵(71),提供高壓水源;供水主管(72),與所述高壓水泵(71)相連接;第一供水管路(73),一端與所述供水主管(72)相連通,另一端穿過所述支架結構(1)伸入所述污泥輸送筒(2)中;第二供水管路(74),一端與所述供水主管(72)相連通,另一端穿過所述支架結構(1)伸入所述污泥輸送筒(2)中。
6.根據權利要求5所述的污泥回噴裝置,其特征在于,還包括控制裝置,用于接收所述含水量檢測儀(31)的信號,控制所述污泥回噴機構(6)和/或高壓進水機構(7)工作。
發明內容
本發明的目的在于解決上述問題,提供一種污泥回噴裝置,解決現有污泥輸送泵只能輸送含水率80%及以上的污泥。
為實現上述目的,本發明提供一種污泥回噴裝置,一種污泥回噴裝置,其特征在于,包括支架結構和與所述支架結構固定連接的污泥輸送筒,所述污泥輸送筒連接有污泥進管和污泥輸送管,還包括輸送機構,所述輸送機構包括驅動裝置和與所述驅動裝置連接的驅動結構,所述驅動結構用于將污泥向所述污泥輸送管中輸送,還包括污泥回噴機構,用于將所述污泥輸送管中的污泥輸送至所述污泥進管,還包括高壓進水機構,用于向所述污泥輸送筒中高壓進水。
進一步地,所述驅動裝置為變頻電機,所述驅動結構包括與所述驅動裝置相連接的驅動軸以及與所述驅動軸固定連接的螺旋輸送葉片。
進一步地,污泥輸送筒包括順序連接的攪拌輸送段、加壓輸送段和出口段;
所述污泥進管與所述攪拌輸送段相連通,并且靠近所述支架結構設置;
所述螺旋輸送葉片位于所述攪拌輸送段。
進一步地,所述加壓輸送段內徑小于所述所述攪拌輸送段的內徑,并且所述加壓輸送段內壁上設有弧形凸緣,沿遠離所述攪拌輸送段的方向,所述加壓輸送段的內徑先逐漸減小后逐漸增大。
進一步地,所述驅動軸末端固定連接有增壓輸送輥;
沿遠離所述驅動軸的方向,所述輸送輥的外徑先逐漸增大后逐漸減小。
進一步地,所述支架結構包括第一支板和第二支板,第一支板和第二支板之間通過連接桿固定連接;
所述第一支板和所述第二支板中部設有軸承與所述驅動軸轉動配合。
進一步地,所述高壓進水機構包括:
高壓水泵,提供高壓水源;
供水主管,與所述高壓水泵相連接;
第一供水管路,一端與所述供水主管相連通,另一端穿過所述支架結構伸入所述污泥輸送筒中;
第二供水管路,一端與所述供水主管相連通,另一端穿過所述支架結構伸入所述污泥輸送筒中。
進一步地,所述污泥進管上設有含水量檢測儀。
進一步地,所述污泥回噴機構包括回噴泵分別與所述回噴泵相連接的回噴進管和回噴出管;
所述回噴進管與所述污泥輸送管相連通,所述回噴出管與所述污泥進管相連通;
所述回噴進管和所述回噴出管上均設有單向閥。
進一步地,還包括控制裝置,用于接收所述含水量檢測儀的信號,控制所述污泥回噴機構和/或高壓進水機構工作。
本發明的有益效果如下:
本發明的污泥回噴裝置,通過將污泥輸送筒設置為包括上述的攪拌輸送段、加壓輸送段和出口段,并且結合螺旋輸送葉片、弧形凸緣和加壓輸送輥的設置,相比于現有技術中污泥輸送泵而言,本發明的污泥回噴裝置對于污泥的輸送效果好,針對含水量較低(低于80%)的污泥仍舊可以正常輸送。
本發明的污泥回噴裝置,通過回噴機構和高壓進水機構的設置,可以針對更低含水量的污泥進行正常輸送,并且可以實時調整輸送污泥的含水量,確保輸送穩定性。
(發明人:李曉云;向和平;韓偉;易飛;段偉;劉宗岳;崔明月;王強)






