公布日:2023.11.24
申請日:2023.10.10
分類號:C02F3/28(2023.01)I;C02F101/30(2006.01)N
摘要
本發明公開了一種制藥廠有機廢水處理用厭氧罐及其使用方法,涉及有機廢水處理技術領域,包括罐體,罐體內部設置有第一三相分離器,罐體內部設置有第二三相分離器,罐體外部固定連接有第一分離器,第一分離器外部固定連接有第二分離器,第二分離器外部固定連接有排氣管,罐體外部設置有內循環管,罐體外部設置有布水機構,本發明中,到達可以擠壓阻擋板并進到虹吸管道的水位后,開始虹吸將第一分離器內部液體吸入,通過內循環管回到罐體內部,液體在進到虹吸桶過程中會控制主動葉片轉動,主動葉片帶動螺紋葉轉動,螺紋葉轉動加快液體進入罐體內部,螺紋葉上的清理件隨螺紋葉轉動清理內循環管內壁,保證內循環管的干凈。

權利要求書
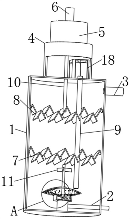
1.一種制藥廠有機廢水處理用厭氧罐,包括罐體(1),其特征在于,所述罐體(1)內部設置有第一三相分離器(7),所述罐體(1)內部設置有第二三相分離器(8),所述罐體(1)外部固定連接有第一分離器(4),所述第一分離器(4)外部固定連接有第二分離器(5),所述第二分離器(5)外部固定連接有排氣管(6),所述罐體(1)內部設置有內循環管(9),所述罐體(1)內部設置有布水機構,所述布水機構包括設置在罐體(1)內部的布水桶(17),所述布水桶(17)外部設置有布水盤體(16);所述第一分離器(4)內部固定連接有虹吸桶(18),所述虹吸桶(18)外部固定連接有虹吸管道(20),所述虹吸桶(18)內部轉動連接有主動葉片(19),所述主動葉片(19)外部固定連接有螺紋葉(33),所述螺紋葉(33)外部設置有用于清理內循環管(9)的清理件(21),所述虹吸管道(20)外部滑動連接有阻擋板(28),所述虹吸管道(20)內部設置有給阻擋板(28)提供阻力的控制機構,所述控制機構包括設置在虹吸管道(20)外部的固定軸(24),所述固定軸(24)外部滑動連接有連接軸(26),所述連接軸(26)與阻擋板(28)之間固定連接。
2.根據權利要求1所述的一種制藥廠有機廢水處理用厭氧罐,其特征在于,所述罐體(1)外部設置有進水管(2),所述罐體(1)外部設置有出水管(3),所述進水管(2)與布水桶(17)之間固定連接,所述排氣管(6)外部設置有控制閥,所述罐體(1)內部設置有上升管(10)。
3.根據權利要求1所述的一種制藥廠有機廢水處理用厭氧罐,其特征在于,所述布水機構包括設置在布水桶(17)內部的轉動葉(13),所述布水桶(17)與轉動葉(13)之間轉動連接,所述轉動葉(13)外部固定連接有轉動軸(12),所述轉動軸(12)外部固定連接有攪拌葉(11)。
4.根據權利要求1所述的一種制藥廠有機廢水處理用厭氧罐,其特征在于,所述布水盤體(16)與轉動軸(12)之間轉動連接,所述轉動軸(12)外部固定連接有連接桿(14),所述連接桿(14)外部轉動連接有清理軸(15)。
5.根據權利要求1所述的一種制藥廠有機廢水處理用厭氧罐,其特征在于,所述第二分離器(5)與第一分離器(4)之間設置有用于提高氣液分離效果的過濾板(30)。
6.根據權利要求1所述的一種制藥廠有機廢水處理用厭氧罐,其特征在于,所述虹吸管道(20)外部開設有第一滑槽(29),所述阻擋板(28)與第一滑槽(29)之間滑動連接,所述虹吸管道(20)對應第一分離器(4)的位置地勢低用于將液體和污泥通過虹吸管道(20)吸入。
7.根據權利要求1所述的一種制藥廠有機廢水處理用厭氧罐,其特征在于,所述固定軸(24)外部開設有第二滑槽(31),所述連接軸(26)與第二滑槽(31)之間滑動連接,所述連接軸(26)外部開設有定位孔(27),所述虹吸管道(20)外部開設有第三滑槽(32),所述第三滑槽(32)外部滑動連接有定位軸(23),所述定位軸(23)外部固定連接有第一彈簧(22),所述第一彈簧(22)遠離定位軸(23)的一側與虹吸管道(20)之間滑動連接,所述連接軸(26)外部固定連接有第二彈簧(25),所述第二彈簧(25)遠離連接軸(26)的一側與虹吸管道(20)之間固定連接,所述固定軸(24)外部開設有第二滑槽(31),所述連接軸(26)與第二滑槽(31)之間滑動連接。
8.根據權利要求1-7任意一項所述的一種制藥廠有機廢水處理用厭氧罐的使用方法,其特征在于,包括以下步驟:步驟一:污水通過布水機構進入罐體(1)后,污水與厭氧微生物和淤泥通過布水機構充分混合和攪拌,以促進廢水中有機物質與微生物的接觸和反應,營養物和有機物質被厭氧微生物利用和分解;步驟二:在罐體(1)中,淤泥會逐漸沉降到底部形成淤泥層提供更大的接觸面積和生物附著表面,一部分淤泥會從底部回流到反應器的上部,提供更多的微生物附著表面和繼續降解有機物質;步驟三:經由第一三相分離器(7)與第二三相分離器(8),厭氧消化過程中產生的氣體通過上升管(10)進到第一分離器(4)中進行排放或者收集利用;步驟四:消化氣中攜帶的液體和污泥進到第一分離器(4)后,通過過濾板(30)進行簡單過濾,氣體通過過濾板(30)從排氣管(6)排出或者收集,剩余液體和污泥儲存在第一分離器(4)內部,到達可以擠壓阻擋板(28)并進到虹吸管道(20)的水位后,開始虹吸將第一分離器(4)內部液體吸入,通過內循環管(9)回到罐體(1)內部;步驟五:液體在進到虹吸桶(18)過程中會控制主動葉片(19)轉動,主動葉片(19)帶動螺紋葉(33)轉動,螺紋葉(33)轉動加快液體進入罐體(1)內部,液體加快的流速會從內循環管(9)出去對布水盤體(16)進行清理,同時螺紋葉(33)上的清理件(21)隨螺紋葉(33)轉動清理內循環管(9)內壁。
發明內容
本發明的目的是為了解決現有技術中存在三相分離器會將產生的消化氣連同污泥一起提升至氣液分離反應器,在這里甲烷等消化氣隨管道進入氣柜,液體和污泥則通過內循環管回流至第一反應室中繼續參加反應,此過程中污泥會在內循環管里沉淀粘附,時間久了會堵塞內循環管的缺點,而提出的一種制藥廠有機廢水處理用厭氧罐及其使用方法。
為了實現上述目的,本發明采用了如下技術方案:
一種制藥廠有機廢水處理用厭氧罐及其使用方法,包括罐體,所述罐體內部設置有第一三相分離器,所述罐體內部設置有第二三相分離器,所述罐體外部固定連接有第一分離器,所述第一分離器外部固定連接有第二分離器,所述第二分離器外部固定連接有排氣管,所述罐體內部設置有內循環管,所述罐體內部設置有布水機構,所述布水機構包括設置在罐體內部的布水桶,所述布水桶外部設置有布水盤體;
所述第一分離器內部固定連接有虹吸桶,所述虹吸桶外部固定連接有虹吸管道,所述虹吸桶內部轉動連接有主動葉片,所述主動葉片外部固定連接有螺紋葉,所述螺紋葉外部設置有用于清理內循環管的清理件,所述虹吸管道外部滑動連接有阻擋板,所述虹吸管道內部設置有給阻擋板提供阻力的控制機構,所述控制機構包括設置在虹吸管道外部的固定軸,所述固定軸外部滑動連接有連接軸,所述連接軸與阻擋板之間固定連接。
上述技術方案進一步包括:
優選的,所述罐體外部設置有進水管,所述罐體外部設置有出水管,所述進水管與布水桶之間固定連接,所述排氣管外部設置有控制閥,所述罐體內部設置有上升管。
優選的,所述布水機構包括設置在布水桶內部的轉動葉,所述布水桶與轉動葉之間轉動連接,所述轉動葉外部固定連接有轉動軸,所述轉動軸外部固定連接有攪拌葉。
優選的,所述布水盤體與轉動軸之間轉動連接,所述轉動軸外部固定連接有連接桿,所述連接桿外部轉動連接有清理軸。
優選的,所述第二分離器與第一分離器之間設置有用于提高氣液分離效果的過濾板。
優選的,所述虹吸管道外部開設有第一滑槽,所述阻擋板與第一滑槽之間滑動連接,所述虹吸管道對應第一分離器的位置地勢低用于將液體和污泥通過虹吸管道吸入。
優選的,所述固定軸外部開設有第二滑槽,所述連接軸與第二滑槽之間滑動連接,所述連接軸外部開設有定位孔,所述虹吸管道外部開設有第三滑槽,所述第三滑槽外部滑動連接有定位軸,所述定位軸外部固定連接有第一彈簧,所述第一彈簧遠離定位軸的一側與虹吸管道之間滑動連接,所述連接軸外部固定連接有第二彈簧,所述第二彈簧遠離連接軸的一側與虹吸管道之間固定連接,所述固定軸外部開設有第二滑槽,所述連接軸與第二滑槽之間滑動連接。
一種制藥廠有機廢水處理用厭氧罐的使用方法,包括以下步驟:
步驟一:污水通過布水機構進入罐體后,污水與厭氧微生物和淤泥通過布水機構充分混合和攪拌,以促進廢水中有機物質與微生物的接觸和反應,營養物和有機物質被厭氧微生物利用和分解;
步驟二:在罐體中,淤泥會逐漸沉降到底部形成淤泥層提供更大的接觸面積和生物附著表面,一部分淤泥會從底部回流到反應器的上部,提供更多的微生物附著表面和繼續降解有機物質;
步驟三:經由第一三相分離器與第二三相分離器,厭氧消化過程中產生的氣體通過上升管進到第一分離器中進行排放或者收集利用;
步驟四:消化氣中攜帶的液體和污泥進到第一分離器后,通過過濾板進行簡答過濾,氣體通過過濾板從排氣管排出或者收集,剩余液體和污泥儲存在第一分離器內部,到達可以擠壓阻擋板并進到虹吸管道的水位后,開始虹吸將第一分離器內部液體吸入,通過內循環管回到罐體內部;
步驟五:液體在進到虹吸桶過程中會控制主動葉片轉動,主動葉片帶動螺紋葉轉動,螺紋葉轉動加快液體進入罐體內部,液體加快的流速會從內循環管出去對布水盤體進行清理,同時螺紋葉上的清理件隨螺紋葉轉動清理內循環管內壁。
相比現有技術,本發明的有益效果為:
1、本發明中,到達可以擠壓阻擋板并進到虹吸管道的水位后,開始虹吸將第一分離器內部液體吸入,通過內循環管回到罐體內部,液體在進到虹吸桶過程中會控制主動葉片轉動,主動葉片帶動螺紋葉轉動,螺紋葉轉動加快液體進入罐體內部,螺紋葉上的清理件隨螺紋葉轉動清理內循環管內壁,保證內循環管的干凈。
2、本發明中,螺紋葉轉動加快液體進入罐體內部,液體加快的流速會從內循環管出去對布水盤體進行清理。
3、本發明中,虹吸桶通過虹吸管道進行虹吸,將第一分離器那邊的液體吸入虹吸桶中并通過內循環管排至罐體內部,由于虹吸管道對應第一分離器的位置地勢低,則液體中的污泥靜止后更容易來到虹吸管道對應位置,保證第一分離器內部的干凈整潔。
4、本發明中,在污水的作用下控制轉動葉轉動,通過轉動軸轉動帶動攪拌葉轉動,進而使得罐體內部污水與厭氧微生物和淤泥充分混合和攪拌,以促進廢水中有機物質與微生物的接觸和反應,營養物和有機物質被厭氧微生物利用和分解,同時帶動連接桿轉動,連接桿轉動對布水盤體表面進行清理。
(發明人:吳忠寶)






