公布日:2023.11.28
申請日:2023.10.27
分類號:C02F3/30(2023.01)I;B08B9/087(2006.01)I
摘要
本發明涉及生活污水處理及工業廢水處理技術領域,具體為一種智能化刮泥的立體生態循環硝化處理系統,包括進水管、缺氧池、循環兼氧箱、外導流桶、中部導流桶和內導流桶,循環兼氧箱的上端套接有頂部支撐環,循環兼氧箱的下端套接有底部支撐圓臺,底部支撐圓臺上設置主驅動裝置,用于帶動循環兼氧箱進行圓周運動;頂部支撐環上設置有刮料組件,循環兼氧箱的底部還設置有輔助攪拌清理組件。本發明能夠同時對循環兼氧箱的外側壁以及底部支撐圓臺的底壁進行刮擦清理,避免污泥黏附在其上形成污垢,減輕對漂浮裝置的負重并且還能提高污水的硝化反應效果。

權利要求書
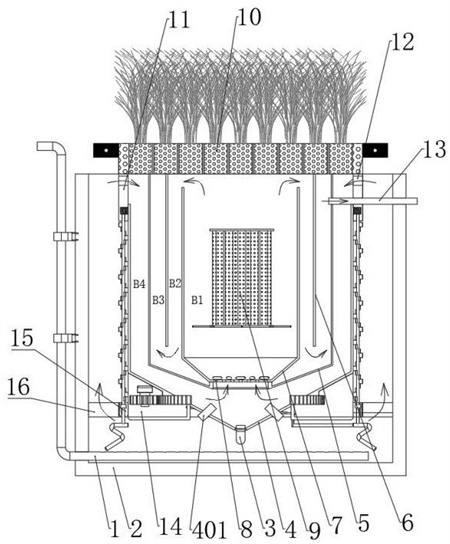
1.一種智能化刮泥的立體生態循環硝化處理系統,包括多個自回流循環硝化處理單元,該自回流循環硝化處理單元由外而內依次包括進水管(1)、缺氧池(2)、循環兼氧箱(4)、外導流桶(5)、中部導流桶(6)和內導流桶(7),循環兼氧箱(4)內依次形成缺氧區B4、沉淀區B3、兼氧區B2以及好氧區B1,其特征在于:所述缺氧池(2)的上端設置有漂浮裝置(10),用于輔助定位自回流循環硝化處理單元組件;所述循環兼氧箱(4)的上端外部轉動套接有頂部支撐環(11),循環兼氧箱(4)的下端限位轉動套接有底部支撐圓臺(14),所述底部支撐圓臺(14)的外部固定套接有聯結環(15),所述聯結環(15)水平兩端均通過橫向支撐桿(16)固定設置于缺氧池(2)的內側壁上,底部支撐圓臺(14)上設置主驅動裝置,用于帶動循環兼氧箱(4)進行圓周運動;所述循環兼氧箱(4)的底部還突出設置有卡接環(301),底部支撐圓臺(14)上開設有環形活動槽(1402),卡接環(301)插接在環形活動槽(1402)內并連接于主驅動裝置;所述底部支撐圓臺(14)內部開設有容納主驅動裝置的放置槽,主驅動裝置包括主動齒輪(18)、旋轉軸(19)以及旋轉電機(20),旋轉電機(20)的輸出軸固定連接于旋轉軸(19),主動齒輪(18)固定套接在旋轉軸(19)上,卡接環(301)上固定套接有主動齒圈(17),主動齒圈(17)與主動齒輪(18)嚙合連接;頂部支撐環(11)上設置有刮料組件,所述刮料組件通過聯結組件連接于主驅動裝置,并以主驅動裝置為動力源對循環兼氧箱(4)的外側壁進行刮擦清理;所述循環兼氧箱(4)的上端連接于聯結組件,頂部支撐環(11)上開設有容納聯結組件的容納腔;所述聯結組件包括從動齒圈(21)以及多個從動齒輪(22),從動齒圈(21)固定套接在循環兼氧箱(4)的外壁上端,且從動齒圈(21)限位轉動安裝在容納腔內并與多個從動齒輪(22)嚙合連接;所述從動齒輪(22)設置不少于四個,每個從動齒輪(22)均連接有一組刮料組件,所述刮料組件包括旋轉桿(23)以及多個刮片(24),所述旋轉桿(23)一端固定連接從動齒輪(22),旋轉桿(23)另一端貫穿聯結環(15)并固定連接有輔助攪拌桿(26),聯結環(15)內還限位轉動安裝有限位環(25),限位環(25)固定套接在旋轉桿(23)上,多個刮片(24)在旋轉桿(23)上呈螺旋狀連續分布;循環兼氧箱(4)的底部還設置有輔助攪拌清理組件,用于對底部支撐圓臺(14)的底壁進行刮擦清理,所述攪拌清理組件包括多組呈環形陣列分布的固定刮條(27),每組固定刮條(27)內部均限位滑動插接有一組活動刮條(28),多組活動刮條(28)在推動組件的推動下進行圓周運動的同時還進行上下運動,所述固定刮條(27)和活動刮條(28)均設置為L形結構,固定刮條(27)豎直端頂部固定連接循環兼氧箱(4),固定刮條(27)的水平部上端面與底部支撐圓臺(14)的底壁接觸連接;所述活動刮條(28)的豎直部限位滑動插接在固定刮條(27)內并連接于推動組件,推動組件包括滑珠(29),底部支撐圓臺(14)的內側壁上開設有驅動槽(1401),驅動槽(1401)是由兩組螺旋槽組成的閉合槽,滑珠(29)一端固定連接活動刮條(28),滑珠(29)另一端貫穿固定刮條(27)并卡接在驅動槽(1401)內;所述外導流桶(5)以及中部導流桶(6)的頂部固定連接于漂浮裝置(10)的下端面,內導流桶(7)的底部固定設置在外導流桶(5)底壁上;所述內導流桶(7)的上端與兼氧區B2連通,內導流桶(7)的下端與缺氧區B4連通;所述中部導流桶(6)的下端與沉淀區B3連通,外導流桶(5)的右側壁上開設有圓孔,圓孔內固定插接有集水管(13),集水管(13)與沉淀區B3連通,集水管(13)另一端貫穿缺氧池(2)并延伸于外側。
2.根據權利要求1所述的一種智能化刮泥的立體生態循環硝化處理系統,其特征在于:所述進水管(1)一端外接于水源,所述進水管(1)另一端伸入缺氧池(2)內部下端,且進水管(1)的豎直部通過2-3組卡箍可拆式固定設置在缺氧池(2)的外壁上。
3.根據權利要求1所述的一種智能化刮泥的立體生態循環硝化處理系統,其特征在于:所述漂浮裝置(10)的中部還設置有植物種植池,植物種植池內部填充有除臭填料,除臭填料上種植有挺水植物,挺水植物的根莖延伸于循環兼氧箱(4)內部。
4.根據權利要求1所述的一種智能化刮泥的立體生態循環硝化處理系統,其特征在于:所述內導流桶(7)的內部設置有曝氣元件,曝氣元件的下端設置有曝氣管(8),曝氣管(8)固定設置在內導流桶(7)的底部,并為曝氣元件提供氧氣。
5.根據權利要求1所述的一種智能化刮泥的立體生態循環硝化處理系統,其特征在于:所述內導流桶(7)內設置有填料固定架(9),所述填料固定架(9)內部設置有生物填料。
6.根據權利要求1所述的一種智能化刮泥的立體生態循環硝化處理系統,其特征在于:所述循環兼氧箱(4)的底部設置成圓錐體結構,且其底部中端限位轉動安裝有污泥導流管(3)。
7.根據權利要求6所述的一種智能化刮泥的立體生態循環硝化處理系統,其特征在于:所述循環兼氧箱(4)上還設置兩組有關于污泥導流管(3)對稱的污泥自回流管(401),頂部支撐環(11)的側壁上開設有通孔(12)。
發明內容
本發明的目的在于提供一種智能化刮泥的立體生態循環硝化處理系統,以解決上述背景技術中提出的問題。
為實現上述目的,本發明提供如下技術方案:一種智能化刮泥的立體生態循環硝化處理系統,包括多個自回流循環硝化處理單元,該自回流循環硝化處理單元由外而內依次包括進水管、缺氧池、循環兼氧箱、外導流桶、中部導流桶和內導流桶,并依次形成缺氧區B4、沉淀區B3、兼氧區B2以及好氧區B1,所述缺氧池的上端設置有漂浮裝置,用于輔助定位自回流循環硝化處理單元組件;所述循環兼氧箱的上端外部轉動套接有頂部支撐環,循環兼氧箱的下端限位轉動套接有底部支撐圓臺,所述底部支撐圓臺的外部固定套接有聯結環,所述聯結環水平兩端均通過橫向支撐桿固定設置于缺氧池的內側壁上,底部支撐圓臺上設置主驅動裝置,用于帶動循環兼氧箱進行圓周運動;
頂部支撐環上設置有刮料組件,所述刮料組件通過聯結組件連接于主驅動裝置,并以主驅動裝置為動力源對循環兼氧箱的外側壁進行刮擦清理;
循環兼氧箱的底部還設置有輔助攪拌清理組件,用于對底部支撐圓臺的底壁進行刮擦清理,所述攪拌清理組件包括多組呈環形陣列分布的固定刮條,每組固定刮條內部均限位滑動插接有一組活動刮條,多組活動刮條在推動組件的推動下進行圓周運動的同時還進行上下運動。
優選的,所述進水管一端外接于水源,所述進水管另一端伸入缺氧池內部下端,且進水管的豎直部通過2或3組卡箍可拆式固定設置在缺氧池的外壁上。
優選的,所述漂浮裝置的中部還設置有植物種植池,植物種植池內部填充有除臭填料,除臭填料上種植有挺水植物,挺水植物的根莖延伸于循環兼氧箱內部。
優選的,所述外導流桶以及中部導流桶的頂部固定連接于漂浮裝置的下端面,內導流桶的底部固定設置在外導流桶底壁上。
優選的,所述內導流桶的上端與兼氧區B2連通,內導流桶的下端與缺氧區B4連通。
優選的,所述內導流桶的內部設置有曝氣元件,曝氣元件的下端設置有曝氣管,曝氣管固定設置在內導流桶的底部,并為曝氣元件提供氧氣。
優選的,所述中部導流桶的下端與沉淀區B3連通,外導流桶的右側壁上開設有圓孔,圓孔內固定插接有集水管,集水管與沉淀區B3連通,集水管另一端貫穿缺氧池并延伸于外側。
優選的,所述內導流桶內設置有填料固定架,所述填料固定架內部設置有生物填料。
優選的,所述循環兼氧箱的底部設置成圓錐體結構,且其底部中端限位轉動安裝有污泥導流管。
優選的,所述循環兼氧箱上還設置兩組有關于污泥導流管對稱的污泥自回流管,頂部支撐環的側壁上開設有通孔。
優選的,所述循環兼氧箱的底部還突出設置有卡接環,底部支撐圓臺上開設有環形活動槽,卡接環插接在環形活動槽內并連接于主驅動裝置。
優選的,所述底部支撐圓臺內部開設有容納主驅動裝置的放置槽,主驅動裝置包括主動齒輪、旋轉軸以及旋轉電機,旋轉電機的輸出軸固定連接于旋轉軸,主動齒輪固定套接在旋轉軸上,卡接環上固定套接有主動齒圈,主動齒圈與主動齒輪嚙合連接。
優選的,所述循環兼氧箱的上端連接于聯結組件,頂部支撐環上開設有容納聯結組件的容納腔。
優選的,所述聯結組件包括從動齒圈以及多個從動齒輪,從動齒圈固定套接在循環兼氧箱的外壁上端,且從動齒圈限位轉動安裝在容納腔內并與多個從動齒輪嚙合連接。
優選的,所述從動齒輪設置不少于四個,每個從動齒輪均連接有一組刮料組件,所述刮料組件包括旋轉桿以及多個刮片。
優選的,所述旋轉桿一端固定連接從動齒輪,旋轉桿另一端貫穿聯結環并固定連接有輔助攪拌桿,聯結環內還限位轉動安裝有限位環,限位環固定套接在旋轉桿上,多個刮片在旋轉桿上呈螺旋狀連續分布。
優選的,所述固定刮條和活動刮條均設置為L形結構,固定刮條豎直端頂部固定連接循環兼氧箱,固定刮條的水平部上端面與底部支撐圓臺的底壁接觸連接。
優選的,所述活動刮條的豎直部限位滑動插接在固定刮條內并連接于推動組件,推動組件包括滑珠,底部支撐圓臺的內側壁上開設有驅動槽,驅動槽是由兩組螺旋槽組成的閉合槽,滑珠一端固定連接活動刮條,滑珠另一端貫穿固定刮條并卡接在驅動槽內。
與現有技術相比,本發明的有益效果是:
1.本發明通過一組主驅動裝置,同時帶動循環兼氧箱、刮料組件以及攪拌清理組件進行運動,不僅能夠同時對循環兼氧箱的外側壁以及底部支撐圓臺的底壁進行刮擦清理,避免污泥黏附在其上形成污垢,從而一定程度上減輕對漂浮裝置的負重,保障漂浮裝置的懸浮能力,提高裝置整體的穩定性能;而且通過旋轉桿底部的輔助攪拌桿與活動刮條配合使用,可以對缺氧池內的污水進行多層次攪拌和混合,大大提高污水的硝化反應效果;
2.本發明通過從動齒圈以及多個從動齒輪的設計,能夠將循環兼氧箱的圓周運動轉換為多個旋轉桿以及輔助攪拌桿的高速自轉運動,機械聯動性強,使得輔助攪拌桿上的刮片在對循環兼氧箱外壁進行刮擦清潔的同時,其底部的輔助攪拌桿還能對缺氧池內的污水進行高速攪拌,縮短反應時間;
3.本發明通過將多個刮片呈螺旋狀連續分布在旋轉桿上,能夠以最少量的刮片實現全面刮擦的效果,對循環兼氧箱的外側壁進行高效清理,并且還能優化刮片的數量,減輕旋轉桿整體的負重;
4.通過設置滑珠與驅動槽配合使用,能夠將循環兼氧箱的圓周運動轉換為活動刮條進行圓周運動的同時還進行直線上下運動,進行雙重運動的活動刮條可對底部支撐圓臺下方的污水進行多層次攪拌和混合,從而進一步加速污水的硝化反應。
(發明人:歐宏森;辛永光;李宇民;康兆雨;郭靜;鄧輝強;譚平;巨潤科;宋外峰;梁錦偉)






