公布日:2023.11.24
申請日:2023.08.24
分類號:C02F9/00(2023.01)I;C02F1/24(2023.01)N;C02F1/40(2023.01)N;C02F1/461(2023.01)N;C02F1/52(2023.01)N;C02F1/56(2023.01)N;C02F1/00(2023.01)N;C02F1
/44(2023.01)N;C02F103/10(2006.01)N
摘要
本發明公開了一種油氣田壓裂返排液處理系統及處理方法,包括:油氣田壓裂返排液進入氣浮池內,經池頂刮渣機將分離出的浮油刮入油池,出水進入電極氧化池,電極氧化池的出水依次進入混凝池、斜板沉淀池、過濾單元,最終回注地下;上述各池產生的污泥經排泥泵、離心機后,固相外運處理。本發明采用“氣浮+電極催化氧化+混凝沉淀+過濾”組合工藝,適用于油田常見的胍膠壓裂返排液、滑溜水體系等壓裂返排液處理,設備成橇設計,全程未使用強氧化劑,主要通過電解方式分解聚合物、降粘,無二次污染,同時,提高污水處理效率,降低運行費用,克服了現有技術設備移動不靈活、運行成本高、添加強氧化劑危險性大、出水不能穩定達到注水標準的問題。

權利要求書
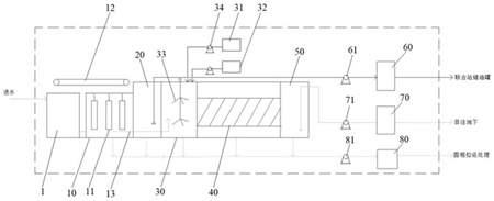
1.一種油氣田壓裂返排液處理系統,其特征在于,包括:沿油氣田壓裂返排液處理流向依次設置的氣浮池、電極氧化池、混凝池、斜板沉淀池、水池和過濾單元;所述氣浮池的上層浮油、懸浮物以及電極氧化池的上層浮油通過刮渣機進入油池,所述油池的出油口與污油儲罐相連;所述電極氧化池、油池、混凝池、斜板沉淀池和水池的底部出泥口與離心機相連。
2.如權利要求1所述的油氣田壓裂返排液處理系統,其特征在于,所述電極氧化池內設有電極板和集水管,所述氧化池中陽極為鈦涂釕銥電極鈦板,陰極為鈦板,所述集水管的出水端與所述混凝池相連。
3.如權利要求1所述的油氣田壓裂返排液處理系統,其特征在于,所述混凝池內設有攪拌器,所述混凝池的加藥口分別經加藥泵連接PAM加藥箱和PAC加藥箱。
4.如權利要求1所述的油氣田壓裂返排液處理系統,其特征在于,當注水要求為一級水質時,所述過濾單元為管式膜。
5.如權利要求1所述的油氣田壓裂返排液處理系統,其特征在于,當注水要求為二級水質時,所述過濾單元為依次設置的核桃殼過濾器和雙濾料過濾器。
6.如權利要求1所述的油氣田壓裂返排液處理系統,其特征在于,所述過濾單元的進水端連接有收水泵,所述污油儲罐的進油端連接有收油泵,所述離心機的進泥端連接有排泥泵。
7.如權利要求1所述的油氣田壓裂返排液處理系統,其特征在于,所述過濾單元的出水回注地下,所述污油儲罐的出油進入聯合站儲油罐,所述離心機的出泥外運處理。
8.如權利要求1~7中任一項所述的油氣田壓裂返排液處理系統,其特征在于,所述油氣田壓裂返排液處理系統為一體化橇裝設備。
9.一種油氣田壓裂返排液處理方法,采用如權利要求1~8中任一項所述的油氣田壓裂返排液處理系統,其特征在于,包括:油氣田壓裂返排液進入氣浮池除浮油及部分懸浮物,出水進入電極氧化池內,通過電極板發生氧化還原反應生成強氧化物質羥基自由基,氧化分解廢水中的高分子物質,降低粘性,使得污油與水分離;氣浮池的上層浮油、懸浮物以及電極氧化池的浮油經刮渣機進入油池,并經收油泵、污油儲罐后,進入聯合站儲油罐進行處理;電極氧化池的出水進入混凝池,向混凝池內加入混凝劑和絮凝劑,使得水中懸浮物絮凝沉淀;混凝池的出水進入斜板沉淀池進行固液分離,斜板沉淀池的上部出水經水池、收水泵、過濾單元后,回注地下;電極氧化池、油池、混凝池、斜板沉淀池和水池的底部污泥經排泥泵、離心機后,固相外運處理。
10.如權利要求9所述的油氣田壓裂返排液處理方法,其特征在于,所述過濾單元的處理,包括:根據注水標準不同,一級注水指標斜板沉淀池出水進入管式膜過濾,二級及以下注水指標斜板沉淀池出水進入核桃殼過濾器與雙濾料過濾器的二級過濾。
發明內容
本發明的目的在于提供一種高COD、高含油量、高粘度的油氣田壓裂返排液處理系統及處理方法,其能避免強氧化劑的添加,提高處理效率和出水水質,最大限度回收原油。
為實現上述目標,本發明提供了以下技術方案:
本發明公開了一種油氣田壓裂返排液處理系統,包括:沿油氣田壓裂返排液處理流向依次設置的氣浮池、電極氧化池、混凝池、斜板沉淀池、水池和過濾單元;
所述氣浮池的上層浮油、懸浮物以及電極氧化池的上層浮油通過刮渣機進入油池,所述油池的出油口與污油儲罐相連;
所述電極氧化池、油池、混凝池、斜板沉淀池和水池的底部出泥口與離心機相連。
作為本發明的進一步改進,氣浮池出水口與電極氧化池相連。
作為本發明的進一步改進,所述電極氧化池內設有電極板和集水管,其中,陽極為鈦涂釕銥電極鈦板,陰極為鈦板,所述集水管的出水端與所述混凝池相連。
作為本發明的進一步改進,所述混凝池內設有攪拌器,所述混凝池的加藥口分別經加藥泵連接PAM加藥箱和PAC加藥箱。
作為本發明的進一步改進,當注水要求為一級水質時,所述過濾單元為管式膜。
作為本發明的進一步改進,當注水要求為二級水質時,所述過濾單元為依次設置的核桃殼過濾器和雙濾料過濾器。
作為本發明的進一步改進,所述過濾單元的進水端連接有收水泵,所述污油儲罐的進油端連接有收油泵,所述離心機的進泥端連接有排泥泵。
作為本發明的進一步改進,所述過濾單元的出水回注地下,所述污油儲罐的出油進入聯合站儲油罐,所述離心機的出泥外運處理。
作為本發明的進一步改進,所述油氣田壓裂返排液處理系統為一體化橇裝設備。
本發明還公開了一種油氣田壓裂返排液處理方法,采用上述的油氣田壓裂返排液處理系統,包括:
油氣田壓裂返排液進入氣浮池除浮油及部分懸浮物,出水進入電極氧化池內,通過電極板發生氧化還原反應生成強氧化物質羥基自由基,氧化分解廢水中的高分子物質,降低粘性,使得污油與水分離;
氣浮池的上層浮油、懸浮物以及電極氧化池的浮油經刮渣機進入油池,并經收油泵、污油儲罐后,進入聯合站儲油罐進行處理;
電極氧化池的出水進入混凝池,向混凝池內加入混凝劑和絮凝劑,使得水中懸浮物絮凝沉淀;混凝池的出水進入斜板沉淀池進行固液分離,斜板沉淀池的上部出水經水池、收水泵、過濾單元后,回注地下;
電極氧化池、油池、混凝池、斜板沉淀池和水池的底部污泥經排泥泵、離心機后,固相外運處理。
作為本發明的進一步改進,所述過濾單元的處理,包括:
根據注水標準不同,一級注水指標斜板沉淀池出水進入管式膜過濾,二級及以下注水指標斜板沉淀池出水進入核桃殼過濾器與雙濾料過濾器的二級過濾。
與現有技術相比,本發明的有益效果為:
本發明的油氣田壓裂返排液處理系統及處理方法是采用“氣浮+電極催化氧化+混凝沉淀+過濾”多級技術的有機結合,工藝簡單、自動化程度高,運行中無需投加強氧化劑,降低操作危害風險。同時本工藝中經電極催化氧化后,膠體含量降低,油水固三相分離效果好,只需投加少量常規混凝劑即可,同時配套離心脫水機,產泥量比傳統工藝降低60%以上,降低危廢處理費用。設備實現橇裝化,可實現多個作業點間的拉運,靈活作業,并且根據注水指標的不同,可調整過濾器種類,保證出水水質穩定,滿足各種注水指標。
(發明人:王春剛;盧雪楓;楊健;齊國林;張朝陽;劉欣;孫穎;于紅俠;田麗端)






