公布日:2023.11.17
申請日:2023.09.28
分類號:C02F9/00(2023.01)I;B01D35/143(2006.01)I;B01D29/68(2006.01)I;B01F25/421(2022.01)I;C02F1/38(2023.01)N;C02F1/00(2023.01)N;C02F1/52(2023.01)N;
C02F1/56(2023.01)N
摘要
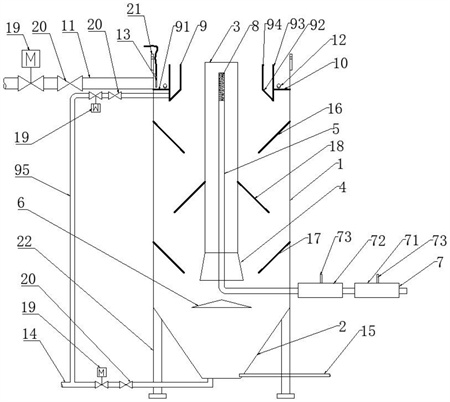
本發明涉及一種隧道廢水旋流沉淀過濾組合裝置,包括殼體和錐形泥斗;殼體中設有豎流中心筒,豎流中心筒底部設有喇叭口,在喇叭口下方設有污水反射板;豎流中心筒內腔設有污水進水管,污水進水管的一端為密封端,其上部一段設為布水段;污水進水管的另一端伸出殼體外側與藥劑混合器連通;殼體上端內側和外側分別設有出水過濾結構和出水管;出水過濾結構與殼體之間形成有出水堰槽,出水管與出水堰槽連通;出水堰槽槽內懸吊有SS懸浮物監測探頭,槽底環設有濾網沖洗結構;錐形泥斗的底部和下端一側分別連通有排泥管和泥斗沖洗管。該裝置占地小,可多次轉運利用,經濟性高;且能實現零能耗絮凝沉淀+過濾過程,全程自動控制,使用方便。

權利要求書
1.一種隧道廢水旋流沉淀過濾組合裝置,其特征在于:包括殼體(1),以及與其底部連通的錐形泥斗(2);所述殼體(1)內腔中豎向設有豎流中心筒(3),在豎流中心筒(3)的底部連通有喇叭口(4),在喇叭口(4)下方還設有污水反射板(6);所述豎流中心筒(3)內腔設有污水進水管(5),所述污水進水管(5)延伸至豎流中心筒(3)上部的一端為密封端,且其上部一段設為布水段(8),所述布水段(8)側壁上均布有若干布水孔;所述污水進水管(5)延伸出喇叭口(4)的一端伸出殼體(1)外側與藥劑混合器(7)連通;所述殼體(1)上端內側和外側分別設有出水過濾結構(9)和出水管(11);所述出水過濾結構(9)與殼體(1)之間形成有出水堰槽(10),所述出水管(11)與出水堰槽(10)連通;所述出水堰槽(10)槽內懸吊有SS懸浮物監測探頭(13),槽底環設有濾網沖洗結構(12);所述SS懸浮物監測探頭(13)與外部的SS懸浮物探測儀電連接,所述濾網沖洗結構(12)與外部的高壓風機連通;所述錐形泥斗(2)的底部和下端一側分別連通有排泥管(14)和泥斗沖洗管(15);所述泥斗沖洗管(15)還與外部的高壓風機連通。
2.根據權利要求1所述的一種隧道廢水旋流沉淀過濾組合裝置,其特征在于:所述反射板(5)的形狀為傘型,其最大直徑大于喇叭口(4)的最大直徑。
3.根據權利要求1所述的一種隧道廢水旋流沉淀過濾組合裝置,其特征在于:所述出水過濾結構(9)包括環形出水平板(91)、反沖液出水斜板(92)、出水堰槽外圈立板(93)、出水堰槽內圈立板(94)和反沖洗液出水管(95);所述出水堰槽外圈立板(93)和出水堰槽內圈立板(94)分別焊接在反沖液出水斜板(92)兩側;所述出水堰槽外圈立板(93)通過環形出水平板(91)與殼體(1)連接,形成出水堰槽(10);所述反沖洗液出水管(95)與出水堰槽外圈立板(93)下端連通,并伸出殼體(1)外側與排泥管(14)連通。
4.根據權利要求3所述的一種隧道廢水旋流沉淀過濾組合裝置,其特征在于:所述出水堰槽外圈立板(93)為濾網;所述出水堰槽內圈立板(94)的上端為鋸齒狀;所述反沖液出水斜板(92)以水平面為基準,向上傾斜的角度為45°。
5.根據權利要求3所述的一種隧道廢水旋流沉淀過濾組合裝置,其特征在于:所述濾網沖洗結構(12)包括間隔設置在環形出水平板(91)上的多個沖洗管支架,以及架設在沖洗管支架上的濾網反沖洗氣管;所述濾網反沖洗氣管的一端與外部的高壓風機連通,另一端為密封狀,在其朝向出水堰槽外圈立板(93)的一側均布有若干出氣孔。
6.根據權利要求1所述的一種隧道廢水旋流沉淀過濾組合裝置,其特征在于:所述殼體(1)的內壁上間隔環設有第一折流板(16)和第二折流板(17);第一折流板(16)和第二折流板(17)與殼體(1)內壁的夾角均為45°;所述豎流中心筒(3)的外壁上環設有第三折流板(18),所述第三折流板(18)與豎流中心筒(3)外壁的夾角為45°,且其位于第一折流板(16)和第二折流板(17)之間。
7.根據權利要求1所述的一種隧道廢水旋流沉淀過濾組合裝置,其特征在于:所述藥劑混合器(7)包括PAC藥劑混合器(71)和PAM藥劑混合器(72);所述PAC藥劑混合器(71)的輸入端通過管道與隧道施工廢水源連通,輸出端通過管道與PAM藥劑混合器(72)的輸入端連通,所述PAM藥劑混合器(72)的輸出端與污水進水管(5)連通;所述PAC藥劑混合器(71)和PAM藥劑混合器(72)頂部均設有加藥管(73)。
8.根據權利要求3所述的一種隧道廢水旋流沉淀過濾組合裝置,其特征在于:所述出水管(11)、排泥管(14)和反沖洗液出水管(95)上均設有電動閥(19)和手動閥(20);所述排泥管(14)上的電動閥(19)和手動閥(20)位于反沖洗液出水管(95)與錐形泥斗(2)之間。
9.根據權利要求1所述的一種隧道廢水旋流沉淀過濾組合裝置,其特征在于:所述殼體(1)上端外側等間距設有多個吊環(21)。
10.根據權利要求1所述的一種隧道廢水旋流沉淀過濾組合裝置,其特征在于:所述錐形泥斗(2)上端外側等間距設有多個支腿(22)。
發明內容
針對現有技術的不足,本發明提供了一種隧道廢水旋流沉淀過濾組合裝置,占地小,可多次轉運利用,經濟性高;且能實現零能耗絮凝沉淀+過濾過程,全程自動控制,使用方便。
為了達到上述目的,本發明的技術方案是:
一種隧道廢水旋流沉淀過濾組合裝置,包括殼體,以及與其底部連通的錐形泥斗;
所述殼體內腔中豎向設有豎流中心筒,在豎流中心筒的底部連通有喇叭口,在喇叭口下方還設有污水反射板;
所述豎流中心筒內腔設有污水進水管,所述污水進水管延伸至豎流中心筒上部的一端為密封端,且其上部一段設為布水段,所述布水段側壁上均布有若干布水孔;所述污水進水管延伸出喇叭口的一端伸出殼體外側與藥劑混合器連通;
所述殼體上端內側和外側分別設有出水過濾結構和出水管;所述出水過濾結構與殼體之間形成有出水堰槽,所述出水管與出水堰槽連通;
所述出水堰槽槽內懸吊有SS懸浮物監測探頭,槽底環設有濾網沖洗結構;所述SS懸浮物監測探頭與外部的SS懸浮物探測儀電連接,所述濾網沖洗結構與外部的高壓風機連通;
所述錐形泥斗的底部和下端一側分別連通有排泥管和泥斗沖洗管;所述泥斗沖洗管還與外部的高壓風機連通。
上述的一種隧道廢水旋流沉淀過濾組合裝置,所述反射板的形狀為傘型,其最大直徑大于喇叭口的最大直徑。
上述的一種隧道廢水旋流沉淀過濾組合裝置,所述出水過濾結構包括環形出水平板、反沖液出水斜板、出水堰槽外圈立板、出水堰槽內圈立板和反沖洗液出水管;
所述出水堰槽外圈立板和出水堰槽內圈立板分別焊接在反沖液出水斜板兩側;所述出水堰槽外圈立板通過環形出水平板與殼體連接,形成出水堰槽;所述反沖洗液出水管與出水堰槽外圈立板下端連通,并伸出殼體外側與排泥管連通。
上述的一種隧道廢水旋流沉淀過濾組合裝置,所述出水堰槽外圈立板為濾網;所述出水堰槽內圈立板的上端為鋸齒狀;所述反沖液出水斜板以水平面為基準,向上傾斜的角度為°。
上述的一種隧道廢水旋流沉淀過濾組合裝置,所述濾網沖洗結構包括間隔設置在環形出水平板上的多個沖洗管支架,以及架設在沖洗管支架上的濾網反沖洗氣管;所述濾網反沖洗氣管的一端與外部的高壓風機連通,另一端為密封狀,在其朝向出水堰槽外圈立板的一側均布有若干出氣孔。
上述的一種隧道廢水旋流沉淀過濾組合裝置,所述殼體的內壁上間隔環設有第一折流板和第二折流板;第一折流板和第二折流板與殼體內壁的夾角均為°;所述豎流中心筒的外壁上環設有第三折流板,所述第三折流板與豎流中心筒外壁的夾角為°,且其位于第一折流板和第二折流板之間。
上述的一種隧道廢水旋流沉淀過濾組合裝置,所述藥劑混合器包括PAC藥劑混合器和PAM藥劑混合器;所述PAC藥劑混合器的輸入端通過管道與隧道施工廢水源連通,輸出端通過管道與PAM藥劑混合器的輸入端連通,所述PAM藥劑混合器的輸出端與污水進水管連通;所述PAC藥劑混合器和PAM藥劑混合器頂部均設有加藥管。
上述的一種隧道廢水旋流沉淀過濾組合裝置,所述出水管、排泥管和反沖洗液出水管上均設有電動閥和手動閥;所述排泥管上的電動閥和手動閥位于反沖洗液出水管與錐形泥斗之間。
上述的一種隧道廢水旋流沉淀過濾組合裝置,所述殼體上端外側等間距設有多個吊環。
上述的一種隧道廢水旋流沉淀過濾組合裝置,所述錐形泥斗上端外側等間距設有多個支腿。
本發明的技術效果和優點:
1、本發明提供的一種隧道廢水旋流沉淀過濾組合裝置,通過在殼體內設置豎流中心筒、喇叭口、污水進水管、污水反射板、折流板,當隧道施工廢水由藥劑混合器混合后,通過污水進水管均勻布出在豎流中心筒上部,并經喇叭口、污水反射板和折流板,從而可多次改變水流狀態,增加反應時間、改善廢水和藥劑的混合狀態,無需機械攪拌,就能實現充分絮凝、沉淀,極大地節省了能耗。
2、本發明提供的一種隧道廢水旋流沉淀過濾組合裝置,通過設置的出水過濾結構,經絮凝沉淀的污水在排出裝置前,可根據污水SS排放要求,對污水自動進行過濾,從而使排放的污水符合排放要求,過濾過程無需動力,可有效節省人力和能耗。
3、本發明提供的一種隧道廢水旋流沉淀過濾組合裝置,通過在出水堰槽內設置SS懸浮物監測探頭和濾網沖洗結構,當SS監測儀檢測到出水過濾結構的濾網上的SS物超標時,可啟動高壓風機給濾網沖洗結構的反沖洗氣管輸送氣壓,將濾網上的SS物沖洗干凈,從而可避免SS物將濾網堵塞,極大地提高了污水排放效果。
(發明人:程榮;程田鈺;李小雁)






