公布日:2023.11.07
申請日:2023.09.08
分類號:C02F11/13(2019.01)I;C02F11/02(2006.01)I
摘要
本發明涉及污泥干化處理技術領域,其目的是提供一種污泥太陽能干化裝置、污泥干化系統及污泥干化方法。這種污泥太陽能干化裝置可以及時排出干化過程中產生的水蒸氣、利于干化工作進行、加快干化速度。上述污泥太陽能干化裝置包括:翻拋機構和排氣機構;翻拋機構設置于干化區域,翻拋機構用于在干化區域內翻拋濕污泥;排氣機構設置于所述干化區域,排氣機構用于排走濕污泥蒸發出的水蒸氣。本發明解決了現有技術中的污泥太陽能干化裝置干化過程中,水蒸氣不能及時排出,會增大干化區域的濕度,減緩干化速度,不利于干化工作進行的問題。

權利要求書
1.一種污泥太陽能干化裝置,其特征在于,包括:翻拋機構(11),設置于干化區域,所述翻拋機構(11)用于在所述干化區域內翻拋濕污泥;排氣機構(12),設置于所述干化區域,所述排氣機構(12)用于排走所述濕污泥蒸發出的水蒸氣。
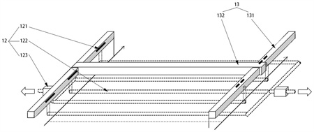
2.根據權利要求1所述的污泥太陽能干化裝置,其特征在于,所述排氣機構(12)包括若干抽氣結構,若干所述抽氣結構沿污泥干化處理方向設置并位于所述干化區域的至少一側。
3.根據權利要求2所述的污泥太陽能干化裝置,其特征在于,還包括:軌道機構(13),所述軌道機構(13)設置于所述干化區域,所述翻拋機構(11)設置于所述軌道機構(13)上并可沿所述軌道機構(13)移動。
4.根據權利要求3所述的污泥太陽能干化裝置,其特征在于,所述抽氣結構設置于所述軌道機構(13)上。
5.根據權利要求4所述的污泥太陽能干化裝置,其特征在于,所述抽氣結構包括:抽氣口(121)和抽氣件,若干所述抽氣口(121)沿污泥干化處理方向間隔設置于所述軌道機構(13)上,所述抽氣口(121)內設置有所述抽氣件。
6.根據權利要求3所述的污泥太陽能干化裝置,其特征在于,所述排氣機構(12)還包括排氣組件,所述排氣組件與所述抽氣結構相連通。
7.根據權利要求6所述的污泥太陽能干化裝置,其特征在于,所述排氣組件包括多個排氣管道(122),每個所述排氣管道(122)的進氣端與一個所述抽氣結構連通,所述排氣管道(122)的出氣端位于所述干化區域之外。
8.根據權利要求7所述的污泥太陽能干化裝置,其特征在于,所述排氣管道(122)布設于所述干化區域的下方并沿垂直于所述污泥干化處理方向延伸。
9.根據權利要求7所述的污泥太陽能干化裝置,其特征在于,所述排氣管道(122)的所述出氣端設置有臭氣處理裝置(123)。
10.根據權利要求3-9任一項所述的污泥太陽能干化裝置,其特征在于,所述軌道機構(13)包括:兩個第一軌道(131)和第二軌道(132),兩個所述第一軌道(131)間隔設置,且所述第一軌道(131)沿所述污泥干化處理方向設置,所述抽氣結構設置于所述第一軌道(131)上,所述第二軌道(132)的兩端分別與兩個所述第一軌道(131)滑動連接,所述翻拋機構(11)滑動設置于所述第二軌道(132)上。
11.一種污泥干化系統,包括權利要求1-10任一項所述的污泥太陽能干化裝置,其特征在于,還包括進泥裝置、出泥裝置以及控制系統,所述干化區域沿污泥干化處理方向依次分為進泥區、干化區和出泥區,且所述進泥裝置設置于所述進泥區遠離所述出泥區的一端,所述出泥裝置設置于所述出泥區遠離所述進泥區的一端,所述污泥太陽能干化裝置從所述進泥區延伸至所述出泥區,所述控制系統用于控制所述污泥干化系統的運行。
12.根據權利要求11所述的污泥干化系統,其特征在于,還包括位置檢測組件,所述位置檢測組件與所述控制系統電連接,所述位置檢測組件用于檢測翻拋機構(11)的位置,所述位置檢測組件包括:第一位置檢測件、第二位置檢測件、第三位置檢測件和第四位置檢測件,所述第一位置檢測件設置于所述進泥裝置處,所述第二位置檢測件設置于所述進泥區與所述干化區的交界處,所述第三位置檢測件設置于所述干化區與所述出泥區的交界處,所述第四位置檢測件設置于所述出泥裝置處。
13.根據權利要求11所述的污泥干化系統,其特征在于,所述進泥裝置包括:進泥件(21)、進泥軌道(22)、刮泥件(23)和限位件(24),所述進泥件(21)設置于所述進泥軌道(22)的一端,所述刮泥件(23)滑動設置于所述進泥軌道(22)上,所述限位件(24)設置于所述進泥軌道(22)的另一端。
14.根據權利要求13所述的污泥干化系統,其特征在于,所述進泥裝置還包括布料檢測元件,所述布料檢測元件設置于所述限位件(24)上,所述布料檢測元件與所述控制系統電連接,所述布料檢測元件用于檢測濕污泥是否鋪滿所述進泥軌道(22)。
15.根據權利要求11所述的污泥干化系統,其特征在于,所述出泥裝置包括:出泥槽(31)和螺旋滾軸(32),所述螺旋滾軸(32)可轉動地設置于所述出泥槽(31)內,所述出泥槽(31)的一端為出泥口。
16.根據權利要求15所述的污泥干化系統,其特征在于,所述出泥槽(31)的底部設置有重力檢測元件,所述重力檢測元件與所述控制系統電連接,所述重力檢測元件用于檢測所述出泥槽(31)中干化后污泥的重量。
17.一種污泥干化方法,應用于權利要求13-16任一項所述的污泥干化系統,其特征在于,包括以下步驟:鋪設進泥件(21)排放的濕污泥;翻拋并沿污泥干化處理方向運輸所述濕污泥;待所述濕污泥干化后,排出干化污泥。
18.根據權利要求17所述的污泥干化方法,其特征在于,所述翻拋并沿污泥干化處理方向運輸所述濕污泥步驟還包括檢測翻拋機構(11)的位置并控制所述翻拋機構(11)的運行軌跡。
發明內容
因此,本發明要解決的技術問題在于克服現有技術中的污泥太陽能干化裝置干化過程中,水蒸氣不能及時排出,會增大干化區域的濕度,減緩干化速度,不利于干化工作進行的缺陷,從而提供一種可以及時排出干化過程中產生的水蒸氣、利于干化工作進行、加快干化速度的污泥太陽能干化裝置、污泥干化系統及污泥干化方法。
為此,本發明提供了一種污泥太陽能干化裝置,包括:
翻拋機構,設置于干化區域,所述翻拋機構用于在所述干化區域內翻拋濕污泥;
排氣機構,設置于所述干化區域,所述排氣機構用于排走所述濕污泥蒸發出的水蒸氣。
可選的,所述排氣機構包括若干抽氣結構,若干所述抽氣結構沿污泥干化處理方向設置并位于所述干化區域的至少一側。
可選的,污泥干化太陽能裝置還包括:軌道機構,所述軌道機構設置于所述干化區域,所述翻拋機構設置于所述軌道機構上并可沿所述軌道機構移動。
可選的,所述抽氣結構設置于所述軌道機構上。
可選的,所述抽氣結構包括:抽氣口和抽氣件,若干所述抽氣口沿污泥干化處理方向間隔設置于所述軌道機構上,所述抽氣口內設置有所述抽氣件。
可選的,所述排氣機構還包括排氣組件,所述排氣組件與所述抽氣結構相連通。
可選的,所述排氣組件包括多個排氣管道,每個所述排氣管道的進氣端與一個所述抽氣結構連通,所述排氣管道的出氣端位于所述干化區域之外。
可選的,所述排氣管道布設于所述干化區域的下方并沿垂直于所述污泥干化處理方向延伸。
可選的,所述排氣管道的所述出氣端設置有臭氣處理裝置。
可選的,所述軌道機構包括:兩個第一軌道和第二軌道,兩個所述第一軌道間隔設置,且所述第一軌道沿所述污泥干化處理方向設置,所述抽氣結構設置于所述第一軌道上,所述第二軌道的兩端分別與兩個所述第一軌道滑動連接,所述翻拋機構滑動設置于所述第二軌道上。
一種污泥干化系統,包括上述的污泥太陽能干化裝置,還包括進泥裝置、出泥裝置以及控制系統,所述干化區域沿污泥干化處理方向依次分為進泥區、干化區和出泥區,且所述進泥裝置設置于所述進泥區遠離所述出泥區的一端,所述出泥裝置設置于所述出泥區遠離所述進泥區的一端,所述污泥太陽能干化裝置從所述進泥區延伸至所述出泥區,所述控制系統用于控制所述污泥干化系統的運行。
可選的,所述污泥干化系統還包括位置檢測組件,所述位置檢測組件與所述控制系統電連接,所述位置檢測組件用于檢測翻拋機構(11)的位置,所述位置檢測組件包括:第一位置檢測件、第二位置檢測件、第三位置檢測件和第四位置檢測件,所述第一位置檢測件設置于所述進泥裝置處,所述第二位置檢測件設置于所述進泥區與所述干化區的交界處,所述第三位置檢測件設置于所述干化區與所述出泥區的交界處,所述第四位置檢測件設置于所述出泥裝置處。
可選的,所述進泥裝置包括:進泥件、進泥軌道、刮泥件和限位件,所述進泥件設置于所述進泥軌道的一端,所述刮泥件滑動設置于所述進泥軌道上,所述限位件設置于所述進泥軌道的另一端。
可選的,所述進泥裝置還包括布料檢測元件,所述布料檢測元件設置于所述限位件上,所述布料檢測元件與所述控制系統電連接,所述布料檢測元件用于檢測濕污泥是否鋪滿所述進泥軌道。
可選的,所述出泥裝置包括:出泥槽和螺旋滾軸,所述螺旋滾軸可轉動地設置于所述出泥槽內,所述出泥槽的一端為出泥口。
可選的,所述出泥槽的底部設置有重力檢測元件,所述重力檢測元件與所述控制系統電連接,所述重力檢測元件用于檢測所述出泥槽中干化后污泥的重量。
一種污泥干化方法,應用于上述的污泥干化系統,包括以下步驟:
鋪設進泥件排放的濕污泥;
翻拋并沿污泥干化處理方向運輸所述濕污泥;
待所述濕污泥干化后,排出干化污泥。
可選的,所述翻拋并沿污泥干化處理方向運輸所述濕污泥步驟還包括檢測翻拋機構的位置并控制所述翻拋機構的運行軌跡。
本發明具有以下優點:
1.本發明提供的污泥太陽能干化裝置,包括設置在干化區域的翻拋機構和排氣機構,翻拋機構用于在干化區域內翻拋濕污泥,使濕污泥能夠充分的干化。排氣機構用于排走濕污泥在干化時蒸發出的水蒸氣,加快干化棚內的空氣流動,從而利于濕污泥的干化,加快干化處理的速度、提高干化處理的效率。
2.本發明提供的污泥太陽能干化裝置,抽氣結構包括抽氣口和抽氣件,抽氣口沿污泥干化處理方向間隔設置在軌道機構上,抽氣口內設置有抽氣件。這種抽氣機構結構簡單、占用空間小且抽氣效果好。
3.本發明提供的污泥太陽能干化裝置,排氣組件包括多個排氣管道,每個排氣管道的進氣端與一個抽氣結構連通,排氣管道的出氣端位于干化區域之外。優選的,排氣管道布設在干化區域下方并沿垂直于污泥干化處理方向延伸,這樣當水蒸氣在排氣管道內流通時,可利用水蒸氣的余熱對干化區域底部的濕污泥進行加熱,利于濕污泥的干化。
4.本發明提供的污泥太陽能干化裝置,排氣管道的出氣端設置有臭氣處理裝置,可對排氣管道中的水蒸氣進行除臭處理,避免污泥干化過程影響太陽能干化棚所在區域的衛生環境和空氣質量。
5.本發明提供的污泥干化系統,還包括進泥裝置、出泥裝置以及控制系統,干化區域沿污泥干化處理方向依次分為進泥區、干化區和出泥區,且進泥裝置設置于進泥區遠離出泥區的一端,所述出泥裝置設置于出泥區遠離進泥區的一端,污泥太陽能干化裝置從進泥區延伸至出泥區,控制系統用于控制所述污泥干化系統的運行。通過控制系統控制整個污泥干化系統的運行,實現了污泥干化系統的全自動化控制,縮減人工、提高工作效率。
6.本發明提供的污泥干化系統,還包括位置檢測組件,位置檢測組件包括第一位置檢測件、第二位置檢測件、第三位置檢測件和第四位置檢測件,第一位置檢測件設置在進泥裝置處,第二位置檢測件設置在進泥區與干化區的交界處,第三位置監測件設置在干化區與出泥區的交界處,第四位置檢測件設置在出泥裝置處,通過第一位置檢測件、第二位置檢測件、第三位置檢測件和第四位置檢測件實時檢測翻拋機構的位置,從而精確的控制翻拋機構的動作,提高翻拋效率,進而提高污泥干化的效率。
7.本發明提供的污泥干化系統,進泥裝置還包括布料檢測元件,布料檢測元件設置在限位件上,通過布料監測元件可以檢測到濕污泥是否鋪滿進泥軌道,進而可以準確的控制進泥件和刮泥件的動作。通過布料檢測元件實現濕污泥布料自動化控制,提高控制精度和工作效率。
8.本發明提供的污泥干化系統,出泥裝置包括出泥槽和螺旋滾軸,螺旋滾軸設置在出泥槽中,在出泥槽的底部設置有重力檢測元件,通過重力檢測元件檢測出泥槽中污泥的重量,當污泥重量達到設置值以后,就可以開始出料。通過設置重力檢測元件實現了污泥出料自動化控制,提高控制精度和工作效率。
9.本發明提供的污泥干化方法,包括以下步驟:①鋪設進泥件排放的濕污泥;②翻拋并沿污泥干化處理方向運輸所述濕污泥;③待所述濕污泥干化后,排出干化污泥。實現了污泥干化權流程的自動化、提高了工作效率。
(發明人:劉楓;王先愷;陳祥;李錕;喬雪園;董濱;吳海斌;陳亞松;曹光榮)






