公布日:2024.03.26
申請日:2024.01.30
分類號:C02F1/52(2023.01)I;C02F1/00(2023.01)I;C02F103/28(2006.01)N
摘要
本發明涉及造紙生產過程污水處理技術領域,尤其涉及一種紙張生產污水處理裝置;包括箱體、第一管體、第二管體、過濾件、第一處理機構、第二處理機構及供劑箱,第一處理機構設于第一管體內,第二處理機構設于第二管體內,過濾件位于箱體的出水口,供劑箱掛設在第一管體的內壁體;攪拌件設于第一管體內,攪拌件設于第二管體內,溫控件設于第一管體的壁體,溫控件設于第二處理機構的攪拌件;攪拌件包括轉軸、內筒、外輪、連接桿、內葉片及外葉片,所述轉軸轉動連接于第一管體的內壁體,所述內筒固設于轉軸,所述外輪固設于轉軸,所述連接桿設于外輪,所述內葉片設于內筒,所述外葉片設于連接桿,提高絮凝劑的利用率,通過生產效率。

權利要求書
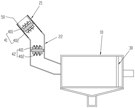
1.一種紙張生產污水處理裝置,其特征在于:包括箱體(10)、第一管體(21)、第二管體(22)、過濾件(30)、第一處理機構(41)、第二處理機構(42)及供劑箱(50),所述第一處理機構(41)設于第一管體(21)內,所述第二處理機構(42)設于第二管體(22)內,所述第一管體(21)、第二管體(22)、箱體(10)依次連通,所述第一管體(21)傾斜式設置,所述第二管體(22)豎直式設置,所述過濾件(30)位于箱體(10)的出水口,所述供劑箱(50)掛設在第一管體(21)的內壁體;所述第一處理機構(41)和第二處理機構(42)均包括攪拌件(401)及溫控件(402),所述攪拌件(401)設于第一管體(21)內,所述攪拌件(401)設于第二管體(22)內,所述溫控件(402)設于第一管體(21)的壁體,所述溫控件(402)設于第二處理機構(42)的攪拌件(401);所述攪拌件(401)包括轉軸(4a)、內筒(4b)、外輪(4c)、連接桿(4d)、內葉片(4e)及外葉片(4f),所述轉軸(4a)轉動連接于第一管體(21)的內壁體,所述內筒(4b)固設于轉軸(4a),所述外輪(4c)固設于轉軸(4a),所述連接桿(4d)設于外輪(4c),所述內葉片(4e)設于內筒(4b),所述外葉片(4f)設于連接桿(4d)。
2.根據權利要求1所述的紙張生產污水處理裝置,其特征在于:所述第一管體(21)包括外筒體(2a)、內筒體(2b)及腔體(2c),所述腔體(2c)由外筒體(2a)與內筒體(2b)圍設而成,所述內筒體(2b)設有螺旋槽(2e),所述溫控件(402)設于螺旋槽(2e)內。
3.根據權利要求1所述的紙張生產污水處理裝置,其特征在于:所述內葉片(4e)呈扇形,所述內葉片(4e)設有第一內凹面,所述外葉片(4f)設有第二內凹面,所述第一內凹面與所述第二內凹面相對設置。
4.根據權利要求1所述的紙張生產污水處理裝置,其特征在于:所述攪拌件(401)還包括振動件(4m),所述振動件(4m)凸設于內葉片(4e)的表面。
5.根據權利要求4述的紙張生產污水處理裝置,其特征在于:所述振動件(4m)包括連接件(4n)、空心球體(4s)及若干實心球(4t),若干實心球(4t)容置于空心球體(4s)內,所述連接件(4n)的兩端分別與空心球體(4s)與內葉片(4e)連接。
6.根據權利要求5述的紙張生產污水處理裝置,其特征在于:所述連接件(4n)為彈性件。
7.根據權利要求1所述的紙張生產污水處理裝置,其特征在于:所述過濾件(30)包括框體(31)及若干個過濾網(32),相鄰兩層所述過濾網(32)間距設置,每層過濾網(32)均固設于框體(31)。
8.根據權利要求7所述的紙張生產污水處理裝置,其特征在于:所述紙張生產污水處理裝置還包括若干個氣浮件(33),所述氣浮件(33)轉動連接于框體(31)。
發明內容
為了克服現有技術中存在的造紙污水處理過程中絮凝通道容易堵塞的問題,本發明的目的在于提供一種紙張生產污水處理裝置,提高絮凝劑的利用率,同時提高了污水處理效率。
為實現上述目的,本發明的技術方案為:
一種紙張生產污水處理裝置,包括箱體、第一管體、第二管體、過濾件、第一處理機構、第二處理機構及供劑箱,所述第一處理機構設于第一管體內,所述第二處理機構設于第二管體內,所述第一管體、第二管體、箱體依次連通,所述第一管體傾斜式設置,所述第二管體豎直式設置,所述過濾件位于箱體的出水口,所述供劑箱掛設在第一管體的內壁體;
所述第一處理機構和第二處理機構均包括攪拌件及溫控件,所述攪拌件設于第一管體內,所述攪拌件設于第二管體內,所述溫控件設于第一管體的壁體,所述溫控件設于第二處理機構的攪拌件;
所述攪拌件包括轉軸、內筒、外輪、連接桿、內葉片及外葉片,所述轉軸轉動連接于第一管體的內壁體,所述內筒固設于轉軸,所述外輪固設于轉軸,所述連接桿設于外輪,所述內葉片設于內筒,所述外葉片設于連接桿。
進一步的,所述第一管體包括外筒體、內筒體及腔體,所述腔體由外筒體與內筒體圍設而成,所述內筒體設有螺旋槽,所述溫控件設于螺旋槽內。
進一步的,所述內葉片呈扇形,所述內葉片設有第一內凹面,所述外葉片設有第二內凹面,所述第一內凹面與所述第二內凹面相對設置。
進一步的,所述攪拌件還包括振動件,所述振動件凸設于內葉片的表面。
進一步的,所述振動件包括連接件、空心球體及若干實心球,若干實心球容置于空心球體內,所述連接件的兩端分別與空心球體與內葉片連接。
進一步的,所述連接件為彈性件。
進一步的,所述過濾件包括框體及若干個過濾網,相鄰兩層所述過濾網間距設置,每層過濾網均固設于框體。
進一步的,所述紙張生產污水處理裝置還包括若干個氣浮件,所述氣浮件轉動連接于框體。
本發明的有益效果:通過在第一管體內設置第一處理機構,在第二管體內設置第二處理機構,第一處理機構和第二處理機構均包括攪拌件及溫控件,攪拌件設于第一管體內,攪拌件設于第二管體內,溫控件設于第一管體的壁體,所述溫控件設于第二處理機構的攪拌件,提高絮凝劑的利用率,通過生產效率。
(發明人:李文俊;伍鶴時;肖建華)






