公布日:2024.03.26
申請日:2023.12.25
分類號:B29C44/32(2006.01)I;B29C44/34(2006.01)I
摘要
本發明涉及海綿加工領域,尤其涉及一種污水回收處理用海綿介質制備裝置及其方法。技術問題為:現有的裝置沒有對上層和下層離型紙進行擠壓貼合,使發泡液從兩者之間的間隙溢流出去,導致裝置表面出現發泡液膨脹的現象,同時,輸送機構端部容易出現堆積發泡液。技術方案是:一種污水回收處理用海綿介質制備裝置,包括有第一支撐架和第二支撐架等;第一支撐架前方設置有第二支撐架。本發明實現了通過向收縮輥轉動方向凹弧彎曲的拉伸塊在受到擠壓時,避免拉伸塊形變方向不一致,導致下層離型膜受力方向不同出現撕裂現象,保證裝置正常運行;通過摩擦顆粒增大拉伸塊與下層離型膜的摩擦,避免下層離型膜與拉伸塊脫離,提高海綿的生產質量。

權利要求書
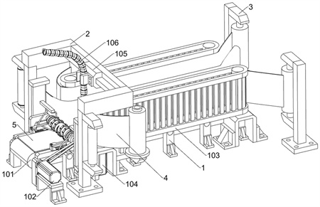
1.一種污水回收處理用海綿介質制備裝置,包括有第一支撐架(1)、第二支撐架(2)、第三支撐架(3)、上層離型膜(4)、脫模墊(5)和下層離型膜(6);第一支撐架(1)前方設置有第二支撐架(2);第一支撐架(1)右方安裝有若干個第三支撐架(3);第一支撐架(1)上設置有若干個前后對稱的便于海綿發泡后脫模的上層離型膜(4);第一支撐架(1)上安裝有脫模墊(5);第一支撐架(1)上設置有若干個前后對稱的用于兜住發泡液的下層離型膜(6);每個上層離型膜(4)右端和相鄰的下層離型膜(6)右端均與相鄰的第三支撐架(3)連接,且下層離型膜(6)位于脫模墊(5)上側;其特征在于,還包括有送料組件、收縮輥(7)、拉伸塊(8)和折疊系統;第一支撐架(1)上安裝有送料組件;第一支撐架(1)上連接有用于將下層離型膜(6)向中間收攏的收縮輥(7);收縮輥(7)表面設置有兩組螺旋結構,且兩組螺旋結構呈前后對稱設置;收縮輥(7)表面安裝有若干個用于拉伸下層離型膜(6)的拉伸塊(8),且所有的拉伸塊(8)均位于收縮輥(7)表面的螺旋結構上;第一支撐架(1)上設置有防止發泡液向第一支撐架(1)前后兩側泄漏的折疊系統;折疊系統包括有轉動輪(201)、第一連接桿(202)、固定板(203)、滑板(204)、第二連接桿(205)、楔形塊(206)和第一連接板(207);收縮輥(7)前側和后側均固接有一個轉動輪(201);收縮輥(7)內部固接有一個第一連接桿(202),且第一連接桿(202)前側和后側均與相鄰的轉動輪(201)固接;第一支撐架(1)左側固接有若干個前后對稱的固定板(203);每個固定板(203)上側均滑動連接有一個滑板(204);每個滑板(204)上側均轉動連接有一個第二連接桿(205),且第二連接桿(205)遠離滑板(204)的一端均與相鄰的轉動輪(201)轉動連接;每個滑板(204)右側均固接有一個楔形塊(206);每個固定板(203)上側均通過扭簧轉動連接有一個折疊脫模墊(5)和下層離型膜(6)的第一連接板(207);每個楔形塊(206)均與相鄰的第一連接板(207)接觸。
2.根據權利要求1所述的一種污水回收處理用海綿介質制備裝置,其特征在于,拉伸塊(8)設置為向收縮輥(7)轉動方向的凹弧狀。
3.根據權利要求2所述的一種污水回收處理用海綿介質制備裝置,其特征在于,拉伸塊(8)端部設置有增大與下層離型膜(6)摩擦的摩擦顆粒。
4.根據權利要求3所述的一種污水回收處理用海綿介質制備裝置,其特征在于,送料組件包括有注料器(106)、第一卷膜輥(108)和第二卷膜輥(110);第二支撐架(2)上連接有將發泡液輸送至脫模墊(5)表面的注料器(106);第二支撐架(2)前側和后側均轉動連接有一個第一卷膜輥(108),且每個下層離型膜(6)左端均繞設于相鄰的第一卷膜輥(108)上;第一支撐架(1)前側和后側均固接有一個第二卷膜輥(110),且每個第二卷膜輥(110)均繞設于相鄰的上層離型膜(4)上。
5.根據權利要求1所述的一種污水回收處理用海綿介質制備裝置,其特征在于,還包括有清理系統,清理系統包括有第一氣管(301)、第二連接板(302)、第二氣管(303)和密封板(304);每個固定板(203)相離側均固接有一個防止發泡液粘結收縮輥(7)的第一氣管(301);收縮輥(7)外表面環形開設有若干個第一氣孔(7001);每個第一氣管(301)遠離固定板(203)的一端均穿入收縮輥(7)內部;每個第一氣管(301)上均開設有若干個引導發泡液向脫模墊(5)右側流動的第二氣孔(30101);第二支撐架(2)上固接有若干個前后對稱的第二連接板(302),且每個第二連接板(302)均位于相鄰的轉動輪(201)上方;每個第二連接板(302)分別與相鄰的第一氣管(301)中部進行固接;每個固定板(203)右側均固接有一個防止發泡液溢出的第二氣管(303),且每個第二氣管(303)遠離固定板(203)的一端均開設有一個引導發泡液向脫模墊(5)中間流動的第三氣孔(30301);每個楔形塊(206)右側均固接有一個進行排氣和抽氣的密封板(304);每個固定板(203)右側內部均開設有一個矩形槽(20301),且每個第一氣管(301)均與相鄰的矩形槽(20301)左部連通;每個第二氣管(303)均與相鄰的矩形槽(20301)右部連通。
6.根據權利要求5所述的一種污水回收處理用海綿介質制備裝置,其特征在于,當密封板(304)移動至矩形槽(20301)最左端時,第一氣孔(7001)才與第二氣孔(30101)連通。
7.根據權利要求5所述的一種污水回收處理用海綿介質制備裝置,其特征在于,第三氣孔(30301)朝下層離型膜(6)輸送方向傾斜設置。
8.根據權利要求5所述的一種污水回收處理用海綿介質制備裝置,其特征在于,還包括有單向膜(305);每個固定板(203)上側右部均開設有若干個圓孔,且每個第一連接板(207)上均開設有對應的圓孔;位于固定板(203)上的每個圓孔內均固接有一個單向膜(305);單向膜(305)只朝固定板(203)內側開啟。
9.一種污水回收處理用海綿介質制備裝置的運行方法,其特征是:該運行方法使用權利要求8所述的污水回收處理用海綿介質制備裝置,包括以下工作步驟:S1:上料,控制上層離型膜(4)和下層離型膜(6)從左往右進行傳輸,將發泡液噴涂至下層離型膜(6)上;S2:防外溢,控制收縮輥(7)轉動,對下層離型膜(6)進行拉伸,使下層離型膜(6)向中間聚攏,避免發泡液外溢;S3:發泡,在發泡液跟隨上層離型膜(4)和下層離型膜(6)向右傳輸的同時,進行高溫發泡,等待海綿發泡成型;S4:卸膜,當發泡液膨脹成型為海綿后,通過第三支撐架(3)上的纏繞輥收卷上層離型膜(4)和下層離型膜(6),從而對海綿進行脫模工作。
發明內容
為了克服現有的裝置沒有對上層和下層離型紙進行擠壓貼合,使發泡液從兩者之間的間隙溢流出去,使裝置表面出現發泡液膨脹的現象,同時,輸送機構端部容易出現堆積發泡液的缺點,本發明提供一種污水回收處理用海綿介質制備裝置及其方法。
技術方案是:一種污水回收處理用海綿介質制備裝置,包括有第一支撐架、第二支撐架、第三支撐架、上層離型膜、脫模墊和下層離型膜;第一支撐架前方設置有第二支撐架;第一支撐架右方安裝有若干個第三支撐架;第一支撐架上設置有若干個前后對稱的便于海綿發泡后脫模的上層離型膜;第一支撐架上安裝有脫模墊;第一支撐架上設置有若干個前后對稱的用于兜住發泡液的下層離型膜;每個上層離型膜右端和相鄰的下層離型膜右端均與相鄰的第三支撐架連接,且下層離型膜位于脫模墊上側;還包括有送料組件、收縮輥、拉伸塊和折疊系統;第一支撐架上安裝有送料組件;第一支撐架上連接有用于將下層離型膜向中間收攏的收縮輥;收縮輥表面設置有兩組螺旋結構,且兩組螺旋結構呈前后對稱設置;收縮輥表面安裝有若干個用于拉伸下層離型膜的拉伸塊,且所有的拉伸塊均位于收縮輥表面的螺旋結構上;第一支撐架上設置有防止發泡液向第一支撐架前后兩側泄漏的折疊系統。
進一步,拉伸塊設置為向收縮輥轉動方向的凹弧狀。
進一步,拉伸塊端部設置有增大與下層離型膜摩擦的摩擦顆粒。
進一步,送料組件包括有注料器、第一卷膜輥和第二卷膜輥;第二支撐架上連接有將發泡液輸送至脫模墊表面的注料器;第二支撐架前側和后側均轉動連接有一個第一卷膜輥,且每個下層離型膜左端均繞設于相鄰的第一卷膜輥上;第一支撐架前側和后側均固接有一個第二卷膜輥,且每個第二卷膜輥均繞設于相鄰的上層離型膜上。
進一步,折疊系統包括有轉動輪、第一連接桿、固定板、滑板、第二連接桿、楔形塊和第一連接板;收縮輥前側和后側均固接有一個轉動輪;收縮輥內部固接有一個第一連接桿,且第一連接桿前側和后側均與相鄰的轉動輪固接;第一支撐架左側固接有若干個前后對稱的固定板;每個固定板上側均滑動連接有一個滑板;每個滑板上側均轉動連接有一個第二連接桿,且第二連接桿遠離滑板的一端均與相鄰的轉動輪轉動連接;每個滑板右側均固接有一個楔形塊;每個固定板上側均通過扭簧轉動連接有一個折疊脫模墊和下層離型膜的第一連接板;每個楔形塊均與相鄰的第一連接板接觸。
進一步,還包括有清理系統,清理系統包括有第一氣管、第二連接板、第二氣管和密封板;每個固定板相離側均固接有一個防止發泡液粘結收縮輥的第一氣管;收縮輥外表面環形開設有若干個第一氣孔;每個第一氣管遠離固定板的一端均穿入收縮輥內部;每個第一氣管上均開設有若干個引導發泡液向脫模墊右側流動的第二氣孔;第二支撐架上固接有若干個前后對稱的第二連接板,且每個第二連接板均位于相鄰的轉動輪上方;每個第二連接板分別與相鄰的第一氣管中部進行固接;每個固定板右側均固接有一個防止發泡液溢出的第二氣管,且每個第二氣管遠離固定板的一端均開設有一個引導發泡液向脫模墊中間流動的第三氣孔;每個楔形塊右側均固接有一個進行排氣和抽氣的密封板;每個固定板右側內部均開設有一個矩形槽,且每個第一氣管均與相鄰的矩形槽左部連通;每個第二氣管均與相鄰的矩形槽右部連通。
進一步,當密封板移動至矩形槽最左端時,第一氣孔才與第二氣孔連通。
進一步,第三氣孔朝下層離型膜輸送方向傾斜設置。
進一步,還包括有單向膜;每個固定板上側右部均開設有若干個圓孔,且每個第一連接板上均開設有對應的圓孔;位于固定板上的每個圓孔內均固接有一個單向膜;單向膜只朝固定板內側開啟。
一種污水回收處理用海綿介質制備裝置的運行方法,包括以下工作步驟:
S1:上料,控制上層離型膜和下層離型膜從左往右進行傳輸,將發泡液噴涂至下層離型膜上;
S2:防外溢,控制收縮輥轉動,對下層離型膜進行拉伸,使下層離型膜向中間聚攏,避免發泡液外溢;
S3:發泡,在發泡液跟隨上層離型膜和下層離型膜向右傳輸的同時,進行高溫發泡,等待海綿發泡成型;
S4:卸膜,當發泡液膨脹成型為海綿后,通過第三支撐架上的纏繞輥收卷上層離型膜和下層離型膜,從而對海綿進行脫模工作。
有益效果為:本發明實現了通過向收縮輥轉動方向凹弧彎曲的拉伸塊在受到擠壓時,向脫模墊左側形變,進而避免拉伸塊形變方向不一致,導致下層離型膜受力方向不同出現撕裂現象,保證裝置正常運行;
通過摩擦顆粒增大拉伸塊與下層離型膜的摩擦,避免下層離型膜與拉伸塊脫離,保證海綿表面生產更加光滑,提高海綿的生產質量;
通過第一連接板向脫模墊中間翻起,使脫模墊前側和后側向脫模墊中間卷起,從而避免發泡液溢出至第一支撐架表面,降低裝置的故障率;
通過第三氣孔將第二氣管內的氣體輸送至下層離型膜上表面,進而避免發泡液從脫模墊和下層離型交接處溢出;
通過朝向下層離型膜輸送方向傾斜設置的第三氣孔引導發泡液向下層離型膜右端移動,防止發泡液從兩個下層離型膜左端溢出,避免裝置出現故障;
通過第二氣孔將氣體輸送出收縮輥,利用從左往右吹出的氣體將流動至收縮輥表面的發泡液向脫模墊右側引導,進而避免發泡液粘結在收縮輥表面;
通過密封板移動至矩形槽最左端時,第一氣孔與第二氣孔連通,提高氣體對發泡液向右側引導的效果,同時避免第一氣孔處出現吸氣的現象,影響裝置的工作連續性;
通過單向膜打開使下層離型膜受到向下流動氣體的影響被吸附在第一連接板表面,進而使下層離型膜與脫模墊貼合,從而避免脫模墊翻起時與下層離型膜產生較大的間隙,保證裝置對海綿的生產符合要求。
(發明人:盧紹宋)






