公布日:2023.10.10
申請日:2023.07.27
分類號:B01F33/83(2022.01)I;B01F33/81(2022.01)I;B01F35/32(2022.01)I;B01F27/92(2022.01)I;B01F27/90(2022.01)I;B01F27/191(2022.01)I;B01F35/12(2022.01)I;B01F35/
71(2022.01)I;C02F103/16(2006.01)N;C02F101/20(2006.01)N
摘要
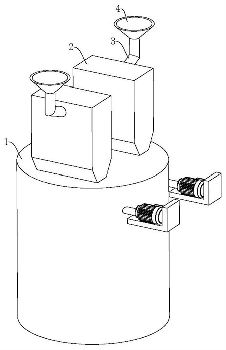
本發明公開了一種電鍍含鎳廢水預處理設備,涉及到廢水預處理領域,包括混合箱和物料箱,混合箱的頂部中心固定設有驅動電機,驅動電機的底部與位于混合箱內部的攪拌桿的頂部傳動連接,攪拌桿的邊緣均勻設有攪拌葉片,混合箱的頂部固定設有物料箱。本發明中轉動輥的設置起到將物料箱內部的物料分批次卸下的作用,進而每次卸下一部分通過攪拌葉片進行攪拌,比一次性全部卸入混合箱的內部更加容易被攪拌均勻,且分批次加料不需要工人操作即可完成,提高廢水處理效率。

權利要求書
1.一種電鍍含鎳廢水預處理設備,包括混合箱(1)、物料箱(2)、攪拌桿(12)和攪拌葉片(13),其特征在于:所述混合箱(1)的頂部中心固定設有驅動電機,驅動電機的底部與位于混合箱(1)內部的攪拌桿(12)的頂部傳動連接,攪拌桿(12)的邊緣均勻設有攪拌葉片(13),所述混合箱(1)的頂部位于與攪拌桿(12)傳動連接的驅動電機的兩側固定設有物料箱(2),物料箱(2)為矩形箱體,且物料箱(2)的底部為縮口結構設計,且物料箱(2)的底部端口通過混合箱(1)頂部的出料口(10)與混合箱(1)的內部相互連通,物料箱(2)的外側壁頂端設有加料機構,混合箱(1)的內部位于出料口(10)的下方活動設有轉動輥(8),轉動輥(8)的邊緣均勻開設有V形料槽(9),轉動輥(8)由驅動電機控制其轉動,所述V形料槽(9)的側面通過銷軸活動鉸接有振動板(28),振動板(28)通過橡膠軟板(27)與V形料槽(9)的內壁固連,振動板(28)位于V形料槽(9)內側壁轉動輥(8)轉動的方向上,所述轉動輥(8)上設有控制振動板(28)振動的振動機構,轉動輥(8)的數量為二,兩組轉動輥(8)相對轉動。
2.根據權利要求1所述的一種電鍍含鎳廢水預處理設備,其特征在于:所述加料機構包括加料管(3)和加料斗(4),加料管(3)的底端與物料箱(2)的外側壁靠近頂端的位置固連,加料管(3)的頂端與加料斗(4)固連,加料管(3)與物料箱(2)的內部相互連通。
3.根據權利要求1所述的一種電鍍含鎳廢水預處理設備,其特征在于:所述轉動輥(8)的中心軸處固定設有水平轉動軸(26),水平轉動軸(26)的后側端活動安裝在混合箱(1)的后側壁,水平轉動軸(26)的前端伸出混合箱(1)的前側面邊緣與驅動電機傳動連接,與水平轉動軸(26)傳動連接的驅動電機位于與混合箱(1)邊緣固連的安裝板上。
4.根據權利要求1所述的一種電鍍含鎳廢水預處理設備,其特征在于:所述出料口(10)的底部為與轉動輥(8)外邊緣相互匹配的弧形結構,且出料口(10)的縱向長度小于V形料槽(9)的縱向長度,出料口(10)的寬度小于V形料槽(9)的槽寬。
5.根據權利要求1所述的一種電鍍含鎳廢水預處理設備,其特征在于:所述振動機構包括滑動腔(29)、連通槽(32)、頂桿(33)和撞擊塊(34),所述滑動腔(29)位于轉動輥(8)上靠近振動板(28)的位置,滑動腔(29)與振動板(28)相互平行,所述滑動腔(29)通過連通槽(32)與V形料槽(9)的內部相互連通,滑動腔(29)的內部滑動設有重力板(30),重力板(30)靠近振動板(28)的一側與頂桿(33)固連,頂桿(33)的自由端經過光滑打磨處理,振動板(28)面向頂桿(33)的一面為凹凸不平的波浪狀結構,所述V形料槽(9)上靠近振動板(28)的內側壁靠近端口的位置固定設有撞擊塊(34),所述頂桿(33)的自由端處于振動板(28)表面的凹陷部位時,撞擊塊(34)與振動板(28)的外側端底部接觸。
6.根據權利要求5所述的一種電鍍含鎳廢水預處理設備,其特征在于:所述重力板(30)的外側面固定設有伸縮板(31),所述轉動輥(8)的外邊緣開設有與滑動腔(29)相互連通的穿出槽(36),穿出槽(36)的尺寸大于伸縮板(31)的尺寸;其中一組所述轉動輥(8)的下方設有網板(14),網板(14)與混合箱(1)的內壁固連,且網板(14)位于攪拌葉片(13)的下方,攪拌葉片(13)的底部固定設有刷毛(35)。
7.根據權利要求1所述的一種電鍍含鎳廢水預處理設備,其特征在于:所述物料箱(2)的內部活動設有豎向轉動桿(5),豎向轉動桿(5)插設在物料箱(2)內部的限位環(6)內,且限位環(6)的邊緣通過連接桿件與物料箱(2)的內壁固連,豎向轉動桿(5)的底端伸入出料口(10)的內部,且豎向轉動桿(5)的表面邊緣位于限位環(6)的下方固定設有螺旋葉片(7),所述豎向轉動桿(5)的頂部活動安裝在物料箱(2)頂壁內部的轉動腔(16)內,所述豎向轉動桿(5)由轉動機構帶動其在水平面內來回轉動。
8.根據權利要求7所述的一種電鍍含鎳廢水預處理設備,其特征在于:所述轉動機構包括直齒輪板(17)、圓齒輪(18)和拉繩,所述圓齒輪(18)固定連接在豎向轉動桿(5)的頂部,且圓齒輪(18)位于轉動腔(16)的內部,圓齒輪(18)的中心軸線與豎向轉動桿(5)的中心軸線相互重合,所述轉動腔(16)的內部設有與圓齒輪(18)相互嚙合的直齒輪板(17),直齒輪板(17)遠離攪拌桿(12)的一端通過彈簧與轉動腔(16)的內壁固連,直齒輪板(17)的另一端與拉繩的頂端固連,拉繩的底端穿過物料箱(2)側壁內部的穿線槽并垂直穿出物料箱(2)的底部由驅動機構控制其上下移動。
9.根據權利要求8所述的一種電鍍含鎳廢水預處理設備,其特征在于:所述驅動機構包括弧形推板(15)、直齒輪板(17)、圓齒輪(18)、盤形空腔(22)和滑動塊(23),所述盤形空腔(22)位于混合箱(1)的頂壁內部,且盤形空腔(22)的中心軸線與攪拌桿(12)的中心軸線重合,所述攪拌桿(12)的邊緣位于盤形空腔(22)的內部固定設有兩組弧形推板(15),弧形推板(15)在攪拌桿(12)的邊緣呈中心對稱分布,所述盤形空腔(22)的內部靠近攪拌桿(12)的位置滑動設有滑動塊(23),滑動塊(23)的頂部與拉繩的底端固連,滑動塊(23)通過彈簧與盤形空腔(22)遠離弧形推板(15)的邊緣固連,滑動塊(23)的底部固定設有限位塊(24),限位塊(24)與盤形空腔(22)底部的限位滑槽(25)相互滑動連接。
10.根據權利要求9所述的一種電鍍含鎳廢水預處理設備,其特征在于:所述物料箱(2)內壁的彎折部位開設有V形凹槽(11),V形凹槽(11)的內部固定粘設有V形橡膠墊(19),V形橡膠墊(19)的內部開設有月牙狀的充氣腔(20),充氣腔(20)的內部通過物料箱(2)和混合箱(1)上的氣流通道(21)與盤形空腔(22)的內部相互連通,所述滑動塊(23)面向氣流通道(21)的一面固定設有彈簧壓縮管(37),彈簧壓縮管(37)的另一端與盤形空腔(22)的邊緣固連,氣流通道(21)與彈簧壓縮管(37)的內部相互連通。
發明內容
本發明的目的在于提供電鍍含鎳廢水預處理設備,以解決上述背景技術中提出的問題。
為實現上述目的,本發明提供如下技術方案:電鍍含鎳廢水預處理設備,包括混合箱、物料箱、攪拌桿和攪拌葉片,所述混合箱的頂部中心固定設有驅動電機,驅動電機的底部與位于混合箱內部的攪拌桿的頂部傳動連接,攪拌桿的邊緣均勻設有攪拌葉片,所述混合箱的頂部位于與攪拌桿傳動連接的驅動電機的兩側固定設有物料箱,物料箱為矩形箱體,且物料箱的底部為縮口結構設計,且物料箱的底部端口通過混合箱頂部的出料口與混合箱的內部相互連通,物料箱的外側壁頂端設有加料機構,混合箱的內部位于出料口的下方活動設有轉動輥,轉動輥的邊緣均勻開設有V形料槽,轉動輥由驅動電機控制其轉動,所述V形料槽的側面通過銷軸活動鉸接有振動板,振動板通過橡膠軟板與V形料槽的內壁固連,振動板位于V形料槽內側壁轉動輥轉動的方向上,所述轉動輥上設有控制振動板振動的振動機構,轉動輥的數量為二,兩組轉動輥相對轉動。
振動機構可以在V形料槽卸料時帶動振動板的振動,進而便于將V形料槽內部的物料卸出。
優選的,所述加料機構包括加料管和加料斗,加料管的底端與物料箱的外側壁靠近頂端的位置固連,加料管的頂端與加料斗固連,加料管與物料箱的內部相互連通。
優選的,所述轉動輥的中心軸處固定設有水平轉動軸,水平轉動軸的后側端活動安裝在混合箱的后側壁,水平轉動軸的前端伸出混合箱的前側面邊緣與驅動電機傳動連接,與水平轉動軸傳動連接的驅動電機位于與混合箱邊緣固連的安裝板上。
優選的,所述出料口的底部為與轉動輥外邊緣相互匹配的弧形結構,且出料口的縱向長度小于V形料槽的縱向長度,出料口的寬度小于V形料槽的槽寬。
優選的,所述振動機構包括滑動腔、連通槽、頂桿和撞擊塊,所述滑動腔位于轉動輥上靠近振動板的位置,滑動腔與振動板相互平行,所述滑動腔通過連通槽與V形料槽的內部相互連通,滑動腔的內部滑動設有重力板,重力板靠近振動板的一側與頂桿固連,頂桿的自由端經過光滑打磨處理,振動板面向頂桿的一面為凹凸不平的波浪狀結構,所述V形料槽上靠近振動板的內側壁靠近端口的位置固定設有撞擊塊,所述頂桿的自由端處于振動板表面的凹陷部位時,撞擊塊與振動板的外側端底部接觸。
優選的,所述重力板的外側面固定設有伸縮板,所述轉動輥的外邊緣開設有與滑動腔相互連通的穿出槽,穿出槽的尺寸大于伸縮板的尺寸。
工作時,當重力板逐漸下移的過程中,伸縮板將會不斷的從穿出槽的內部抽出,進而可以起到對振動板抖下的物料進行導流的作用,使得物料剛開始從V形料槽卸下時可以通過伸縮板的導流落入混合箱內部靠近攪拌桿的位置,進而在攪拌桿邊緣的攪拌葉片的攪動作用下混合的更加的均勻;
同時伸縮板表面粘附的未被抖下的物料可在伸縮板向滑動腔的內部收縮時被穿出槽刮下,并落入混合箱內部的溶液中。
優選的,所述物料箱的內部活動設有豎向轉動桿,豎向轉動桿插設在物料箱內部的限位環內,且限位環的邊緣通過連接桿件與物料箱的內壁固連,豎向轉動桿的底端伸入出料口的內部,且豎向轉動桿的表面邊緣位于限位環的下方固定設有螺旋葉片,所述豎向轉動桿的頂部活動安裝在物料箱頂壁內部的轉動腔內,所述豎向轉動桿由轉動機構帶動其在水平面內來回轉動。
工作時,轉動機構帶動豎向轉動桿在水平面內來回轉動,進而使得螺旋葉片在水平面內不停的來回轉動,當螺旋葉片的邊緣軌跡不斷下移時起到將物料箱內部的物料向下輸送的作用,而當螺旋葉片的軌跡不斷的上移時,螺旋葉片起到將物料箱內部的物料向上旋起的作用,使得物料箱內部的物料變得疏松,有利于物料的卸出,且可以避免物料在物料箱的內部出現結塊的現象。
優選的,所述轉動機構包括直齒輪板、圓齒輪和拉繩,所述圓齒輪固定連接在豎向轉動桿的頂部,且圓齒輪位于轉動腔的內部,圓齒輪的中心軸線與豎向轉動桿的中心軸線相互重合,所述轉動腔的內部設有與圓齒輪相互嚙合的直齒輪板,直齒輪板遠離攪拌桿的一端通過彈簧與轉動腔的內壁固連,直齒輪板的另一端與拉繩的頂端固連,拉繩的底端穿過物料箱側壁內部的穿線槽并垂直穿出物料箱的底部由驅動機構控制其上下移動。
工作時,當驅動機構帶動拉繩的末端下移時,直齒輪板將會向靠近攪拌桿的方向移動,進而帶動圓齒輪向順指針方向移動,而當驅動機構帶動拉繩的末端上移時,直齒輪板將會在與之固連的彈簧的作用下向遠離攪拌桿的方向移動,使得圓齒輪向與原來相反的方向轉動,進而實現豎向轉動桿的來回轉動。
優選的,所述驅動機構包括弧形推板、直齒輪板、圓齒輪、盤形空腔和滑動塊,所述盤形空腔位于混合箱的頂壁內部,且盤形空腔的中心軸線與攪拌桿的中心軸線重合,所述攪拌桿的邊緣位于盤形空腔的內部固定設有兩組弧形推板,弧形推板在攪拌桿的邊緣呈中心對稱分布,所述盤形空腔的內部靠近攪拌桿的位置滑動設有滑動塊,滑動塊的頂部與拉繩的底端固連,滑動塊通過彈簧與盤形空腔遠離弧形推板的邊緣固連,滑動塊的底部固定設有限位塊,限位塊與盤形空腔底部的限位滑槽相互滑動連接。
優選的,所述物料箱內壁的彎折部位開設有V形凹槽,V形凹槽的內部固定粘設有V形橡膠墊,V形橡膠墊的內部開設有月牙狀的充氣腔,充氣腔的內部通過物料箱和混合箱上的氣流通道與盤形空腔的內部相互連通,所述滑動塊面向氣流通道的一面固定設有彈簧壓縮管,彈簧壓縮管的另一端與盤形空腔的邊緣固連,氣流通道與彈簧壓縮管的內部相互連通。
優選的,其中一組所述轉動輥的下方設有網板,網板與混合箱的內壁固連,且網板位于攪拌葉片的下方,攪拌葉片的底部固定設有刷毛。
本發明的技術效果和優點:
1、轉動輥的設置起到將物料箱內部的物料分批次卸下的作用,進而每次卸下一部分通過攪拌葉片進行攪拌,比一次性全部卸入混合箱的內部更加容易被攪拌均勻,且分批次加料不需要工人操作即可完成,振動機構可以在V形料槽卸料時帶動振動板的振動,進而便于將V形料槽內部的物料卸出,提高處理效率;
2、轉動機構帶動豎向轉動桿在水平面內來回轉動,進而使得螺旋葉片在水平面內不停的來回轉動,當螺旋葉片的邊緣軌跡不斷下移時起到將物料箱內部的物料向下輸送的作用,而當螺旋葉片的軌跡不斷的上移時,螺旋葉片起到將物料箱內部的物料向上旋起的作用,使得物料箱內部的物料變得疏松,有利于物料的卸出,且可以避免物料在物料箱的內部出現結塊的現象;
3、當滑動塊向遠離攪拌桿的方向移動時,此時滑動塊將會擠壓彈簧壓縮管,彈簧壓縮管內部的空氣進入充氣腔的內部使得V形橡膠墊發生膨脹,進而V形橡膠墊的彎折部位趨于平整,進而使得物料箱上的彎折部位的物料向物料箱的中部移動,避免物料長時間在物料箱的彎折處積累而瞬間在重力下下落形成“空穴效應”,進而避免了出料不均勻的情況,且可以防止物料瞬間下落將出料口堵塞;
4、網板位于裝有處理劑的物料箱的下方,由于處理劑為晶體狀結構,進而進入混合箱內部溶液中的處理劑將不會瞬間溶解而會有部分沉降在混合箱的底部,進入混合箱底部的處理劑晶體將會更加不易被攪拌混合,而網板使得處理劑從V形料槽傾倒出以后停留在網板的表面,然后在攪拌葉片底部的刷毛的作用下被搓碎成更小的晶體,進而便于處理劑的溶解。
(發明人:周彪;安巖;劉利軍)






