公布日:2023.10.10
申請日:2023.07.28
分類號:C02F1/44(2023.01)I;B01D65/02(2006.01)I
摘要
本發明公開了一種高COD廢水利用膜法分鹽裝置,屬于廢水利用技術領域,包括承重板,承重板上固定連接有支撐組,支撐組上固定連接有凈化筒,凈化筒內設有初步濾膜和二次濾膜,承重板上設有第一轉動板和第二轉動板,第一轉動板上開設有兩個通孔并通過通孔與初步濾膜固定連接,第二轉動板上開設有兩個通孔并通過通孔與二次濾膜固定連接,第一轉動板和第二轉動板均與凈化筒滑動連接,第一轉動板和第二轉動板均與凈化筒貼合。本發明通過整體結構的配合,達到了在初步濾膜或二次濾膜發生堵塞時,對應堵塞的初步濾膜或二次濾膜發生更換,無需停機進行清潔濾膜,極大地提高了凈化效率的效果。

權利要求書
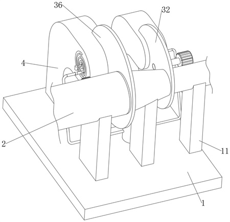
1.一種高COD廢水利用膜法分鹽裝置,包括承重板(1),其特征在于:所述承重板(1)上固定連接有支撐組(11),所述支撐組(11)上固定連接有凈化筒(2),所述凈化筒(2)內設有初步濾膜(37)和二次濾膜(33),所述承重板(1)上設有第一轉動板(36)和第二轉動板(32),所述第一轉動板(36)上開設有兩個通孔并通過通孔與初步濾膜(37)固定連接,所述第二轉動板(32)上開設有兩個通孔并通過通孔與二次濾膜(33)固定連接,所述第一轉動板(36)和第二轉動板(32)均與凈化筒(2)滑動連接,所述第一轉動板(36)和第二轉動板(32)均與凈化筒(2)貼合,所述支撐組(11)上設有用于在濾膜堵塞時驅動第二轉動板(32)和第一轉動板(36)轉動的驅動機構;所述承重板(1)上設有用于對初步濾膜(37)和二次濾膜(33)進行清洗的清洗機構,所述清洗機構包括有固定連接在承重板(1)上的兩個清洗箱(4),每個所述清洗箱(4)上分別開設有與第一轉動板(36)和第二轉動板(32)相配合的開槽,所述清洗箱(4)上固定連接有第三電機(46),所述第三電機(46)的輸出端固定連接有第三轉動軸(45),所述第三轉動軸(45)上固定連接有伸縮桿(43),所述伸縮桿(43)的伸縮端固定連接有套環(44),所述清洗箱(4)上開設有螺旋組件,螺旋組件的兩端設有壓敏開關,所述壓敏開關與第三電機(46)電性連接;所述清洗機構還包括有固定連接在承重板(1)上的水箱(51),所述水箱(51)上連通有進水管(53),所述水箱(51)通過進水管(53)與外接供水機構連通,所述水箱(51)遠離外接供水機構的一端通過進水管(53)與泵體(5)連接,所述泵體(5)的輸出端連通有兩個排水管(52),所述排水管(52)上固定連接有噴嘴(54),所述排水管(52)滑動連接在螺旋組件上,所述排水管(52)與對應的套環(44)固定連接;所述螺旋組件包括有第一螺旋槽(41)和第二螺旋槽(42),所述第一螺旋槽(41)的直徑與二次濾膜(33)的直徑相對應,所述第二螺旋槽(42)的直徑與初步濾膜(37)的直徑相對應;所述水箱(51)上設有用于投放藥劑的投放機構,所述投放機構包括有固定連接在水箱(51)上的藥劑罐(6)和連接塊(62),所述連接塊(62)上固定連接有電動推桿(63),所述電動推桿(63)的輸出端固定連接有擋板(64),所述擋板(64)上開設有濾孔,所述藥劑罐(6)上開設有滑動槽(61),所述滑動槽(61)與擋板(64)滑動連接,所述電動推桿(63)與壓敏開關電性連接。
2.根據權利要求1所述的一種高COD廢水利用膜法分鹽裝置,其特征在于:所述凈化筒(2)包括有進水段(21)、傾斜段(22)和排水段(23),所述初步濾膜(37)和二次濾膜(33)均位于傾斜段(22)上,所述初步濾膜(37)位于傾斜段(22)靠近進水段(21)的一端,所述二次濾膜(33)位于傾斜段(22)靠近排水段(23)的一端。
3.根據權利要求2所述的一種高COD廢水利用膜法分鹽裝置,其特征在于:所述支撐組(11)包括有第一支撐板(14)、第二支撐板(13)和第三支撐板(12),所述第一支撐板(14)與進水段(21)固定連接,所述第二支撐板(13)與排水段(23)固定連接,所述第三支撐板(12)與傾斜段(22)固定連接。
4.根據權利要求3所述的一種高COD廢水利用膜法分鹽裝置,其特征在于:所述驅動機構包括有第一支撐架(15)和第二支撐架(16),所述第一支撐架(15)與第二支撐板(13)固定連接,所述第一支撐架(15)上固定連接有第一電機(3),所述第一電機(3)的輸出端固定連接有第一轉動軸(31),所述第一轉動軸(31)與第二轉動板(32)固定連接,所述第二支撐架(16)與第一支撐板(14)固定連接,所述第二支撐架(16)上固定連接有第二電機(34),所述第二電機(34)的輸出端固定連接有第二轉動軸(35),所述第二轉動軸(35)與第一轉動板(36)固定連接。
5.根據權利要求4所述的一種高COD廢水利用膜法分鹽裝置,其特征在于:所述驅動機構還包括有兩個流速傳感器(27),兩個所述流速傳感器(27)均與凈化筒(2)固定連接,其中一個所述流速傳感器(27)位于傾斜段(22),另一個所述流速傳感器(27)位于排水段(23),兩個所述流速傳感器(27)均與第一電機(3)和第二電機(34)電性連接。
發明內容
本發明的目的在于提供一種高COD廢水利用膜法分鹽裝置,具備無需停機對濾膜進行清潔的優點,解決了背景技術中提出的問題。
為實現上述目的,本發明提供如下技術方案:一種高COD廢水利用膜法分鹽裝置,包括承重板,所述承重板上固定連接有支撐組,所述支撐組上固定連接有凈化筒,所述凈化筒內設有初步濾膜和二次濾膜,所述承重板上設有第一轉動板和第二轉動板,所述第一轉動板上開設有兩個通孔并通過通孔與初步濾膜固定連接,所述第二轉動板上開設有兩個通孔并通過通孔與二次濾膜固定連接,所述第一轉動板和第二轉動板均與凈化筒滑動連接,所述第一轉動板和第二轉動板均與凈化筒貼合,所述支撐組上設有用于在濾膜堵塞時驅動第二轉動板和第一轉動板轉動的驅動機構。
優選地,所述凈化筒包括有進水段、傾斜段和排水段,所述初步濾膜和二次濾膜均位于傾斜段上,所述初步濾膜位于傾斜段靠近進水段的一端,所述二次濾膜位于傾斜段靠近排水段的一端。
優選地,所述支撐組包括有第一支撐板、第二支撐板和第三支撐板,所述第一支撐板與進水段固定連接,所述第二支撐板與排水段固定連接,所述第三支撐板與傾斜段固定連接。
優選地,所述驅動機構包括有第一支撐架和第二支撐架,所述第一支撐架與第二支撐板固定連接,所述第一支撐架上固定連接有第一電機,所述第一電機的輸出端固定連接有第一轉動軸,所述第一轉動軸與第二轉動板固定連接,所述第二支撐架與第一支撐板固定連接,所述第二支撐架上固定連接有第二電機,所述第二電機的輸出端固定連接有第二轉動軸,所述第二轉動軸與第一轉動板固定連接。
優選地,所述驅動機構還包括有兩個流速傳感器,兩個所述流速傳感器均與凈化筒固定連接,其中一個所述流速傳感器位于傾斜段,另一個所述流速傳感器位于排水段,兩個所述流速傳感器均與第一電機和第二電機電性連接。
優選地,所述承重板上設有用于對初步濾膜和二次濾膜進行清洗的清洗機構,所述清洗機構包括有固定連接在承重板上的兩個清洗箱,每個所述清洗箱上分別開設有與第一轉動板和第二轉動板相配合的開槽,所述清洗箱上固定連接有第三電機,所述第三電機的輸出端固定連接有第三轉動軸,所述第三轉動軸上固定連接有伸縮桿,所述伸縮桿的伸縮端固定連接有套環,所述清洗箱上開設有螺旋組件,螺旋組件的兩端設有壓敏開關,所述壓敏開關與第三電機電性連接。
優選地,所述清洗機構還包括有固定連接在承重板上的水箱,所述水箱上連通有進水管,所述水箱通過進水管與外接供水機構連通,所述水箱遠離外接供水機構的一端通過進水管與泵體連接,所述泵體的輸出端連通有兩個排水管,所述排水管上固定連接有噴嘴,所述排水管滑動連接在螺旋組件上,所述排水管與對應的套環固定連接。
優選地,所述螺旋組件包括有第一螺旋槽和第二螺旋槽,所述第一螺旋槽的直徑與二次濾膜的直徑相對應,所述第二螺旋槽的直徑與初步濾膜的直徑相對應。
優選地,所述水箱上設有用于投放藥劑的投放機構,所述投放機構包括有固定連接在水箱上的藥劑罐和連接塊,所述連接塊上固定連接有電動推桿,所述電動推桿的輸出端固定連接有擋板,所述擋板上開設有濾孔,所述藥劑罐上開設有滑動槽,所述滑動槽與擋板滑動連接,所述電動推桿與壓敏開關電性連接。
與現有技術相比,本發明的有益效果如下:
1、本發明通過整體結構的配合,達到了在初步濾膜或二次濾膜發生堵塞時,對應堵塞的初步濾膜或二次濾膜發生更換,無需停機進行清潔濾膜,極大地提高了凈化效率的效果。
2、本發明通過將凈化筒分為進水段、傾斜段和排水段的三段式設計,使得廢水中的懸浮固體SS及膠體COD位于進水段,鹽分位于傾斜段,而凈化完成的水沿排水段排出的效果。
3、本發明通過設置清洗機構,達到了在初步濾膜或二次濾膜互換完成后,對初步濾膜或二次濾膜無死角地進行清洗,保證對初步濾膜或二次濾膜清潔度的效果。
4、本發明通過設置投放機構,達到了在對初步濾膜或二次濾膜進行清洗時,使用水和藥劑反復沖洗,極大地提高了對初步濾膜或二次濾膜的清潔質量的效果。
(發明人:徐斌;王元森;杜英慧;陳向娜;高偉)






