公布日:2024.03.12
申請日:2024.01.15
分類號:C02F3/12(2023.01)I;C02F7/00(2006.01)I
摘要
本發明涉及污水處理設備技術領域,具體涉及一種顆粒泥自回流的污水處理反應器,包括罐體、斜板、傳導管、曝氣盤以及升流管。罐體的底部設置有進水管,進水由布水包分配至布水器,罐體中的顆粒污泥在一定上升流速條件下,呈流動狀態,通過斜板的截留,大部分顆粒下沉,部分顆粒污泥流動至斜板的上方并在斜板上進行沉積,曝氣盤間歇曝氣,經過升流管,在升流管上下產生壓力差,斜板上部液體回流,并帶動斜板上堆積的顆粒污泥回流至反應區。本發明結構簡單,可操作性強,有效實現顆粒泥自回流,避免顆粒污泥流失,減少出水懸浮物濃度,保證反應器的良好運行以及對污水的處理效果。

權利要求書
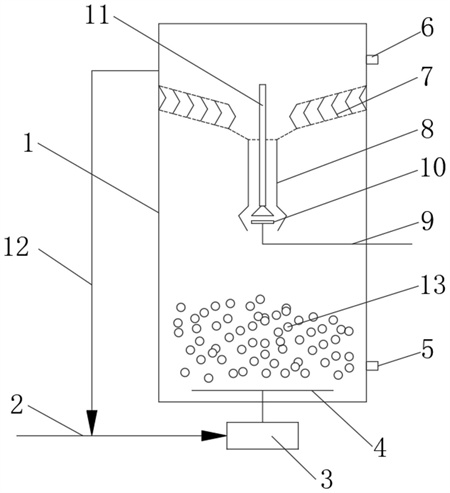
1.一種顆粒泥自回流的污水處理反應器,其特征在于:包括罐體(1),所述的罐體(1)中接種有顆粒污泥(13),在罐體(1)內部上方布置有多層斜板(7),斜板(7)呈在中間部位設置有“>”型折的環型,在內層斜板(7)中心處的下方設置有傳導管(8),在傳導管(8)的底部設置有曝氣盤(10),曝氣盤(10)的下方與進氣管(9)相連接,曝氣盤(10)的上方設置有升流管(11),曝氣盤(10)間歇曝氣,升流管(11)位于傳導管(8)中,升流管(11)的上方延伸至斜板(7)的上方。
2.根據權利要求1所述的一種顆粒泥自回流的污水處理反應器,其特征在于:所述的斜板(7)布置在罐體(1)內部上方1/3~1/4處。
3.根據權利要求1所述的一種顆粒泥自回流的污水處理反應器,其特征在于:所述的罐體(1)的底部設置有進水管(2),進水管(2)與布水包(3)相連接,布水包(3)與罐體(1)內部的布水器(4)相連接。
4.根據權利要求1所述的一種顆粒泥自回流的污水處理反應器,其特征在于:所述的罐體(1)底部設置有排泥口(5),罐體(1)的上方設置有出水口(6),出水口(6)位于斜板(7)的上方。
5.根據權利要求2所述的一種顆粒泥自回流的污水處理反應器,其特征在于:所述的斜板(7)在整體布置上與水平面的夾角為5~15°,單個斜板(7)斜面與水平面的夾角為40~60°。
6.根據權利要求1所述的一種顆粒泥自回流的污水處理反應器,其特征在于:所述的罐體(1)在斜板(7)的上方設置有外部循環管(12),外部循環管(12)與進水管(2)相連通。
7.根據權利要求6所述的一種顆粒泥自回流的污水處理反應器,其特征在于:所述的罐體(1)中顆粒污泥堆積體積占罐體(1)有效容積的1/3,進水的上升流速為5~10m/h。
發明內容
本發明的目的是提供一種顆粒泥自回流的污水處理反應器,以解決現有的顆粒污泥反應器在進水負荷較高時,顆粒污泥易流失,從而導致反應器處理下降的問題。
為實現上述目的,本發明采用如下技術方案:一種顆粒泥自回流的污水處理反應器,包括罐體,所述的罐體中接種有顆粒污泥,在罐體內部上方布置有多層斜板,斜板呈在中間部位設置有“>”型折的環型,在內層斜板中心處的下方設置有傳導管,在傳導管的底部設置有曝氣盤,曝氣盤的下方與進氣管相連接,曝氣盤的上方設置有升流管,曝氣盤間歇曝氣,升流管位于傳導管中,升流管的上方延伸至斜板的上方。
進一步地,所述的斜板布置在罐體內部上方1/3~1/4處。
進一步地,所述的罐體的底部設置有進水管,進水管與布水包相連接,布水包與罐體內部的布水器相連接。
進一步地,所述的罐體底部設置有排泥口,罐體的上方設置有出水口,出水口位于斜板的上方。
進一步地,所述的斜板在整體布置上與水平面的夾角為5~15°,單個斜板斜面與水平面的夾角為40~60°。
進一步地,所述的罐體在斜板的上方設置有外部循環管,外部循環管與進水管相連通。
進一步地,所述的罐體中顆粒污泥堆積體積占罐體有效容積的1/3,進水的上升流速為5~10m/h。
本發明的有益效果:
1、斜板截泥裝置安裝簡單、投資省,可有效截留上浮的顆粒污泥,保證了顆粒污泥反應器的穩定運行;
2、通過間歇曝氣實現顆粒污泥自回流,避免顆粒污泥堆積在斜板上,有效減少了顆粒污泥的流失,保證了反應器對污染物的處理能力,減少了出水懸浮物,實現反應器良好的運行;
3、無需額外增加攪拌設備,操作簡單,減少了水處理成本。
(發明人:周繼昌;丁秀峰;任彬;張沖;魏星;田敏慧;曹望;喬雅綺;丁鎮;史振濤;劉輝;周曉紅)






